GM Service Manual Online
For 1990-2009 cars only
Figure 1:

Transmission Case (1 of 2)


Object Number: 1887512  Size: LF
(1)Reverse Gear Blocking Ring Assembly
(2)Reverse Gear Inner Ring
(3)Reverse Gear Outer Cone
(4)Reverse Gear Blocker Ring
(5)Reverse Gear Thrust Washer Locking Ring
(6)Reverse Synchronizer Two Piece Washer
(7)Reverse Synchronizer Insert
(8)Reverse Synchronizer Hub
(9)Reverse Synchronizer Sleeve
(10)Reverse Synchronizer Key Retainer
(11)Reverse Synchronizer Assembly
(12)5th Speed Driven Gear
(13)6th Speed Driven Gear
(14)Vent
(15)Vent Pipe
(16)Offset Lever Roll Pin
(17)Offset Shift Lever
(18) Top Shift Shaft Bushing
(19)Transmission Case
(20)Guide Plate Bolt
(21)Guide Plate
(22)6th Speed Drive Gear Bearing Spacer
(23)6th Speed Drive Gear
(24)6th Speed Drive Gear Needle Bearing
(25)6th Speed Drive Gear Bearing Spacer
(26)Synchronizer Retainer Ring
(27)6th Gear Blocking Ring Assembly
(28)6th Speed Drive Gear Inner Cone
(29)6th Speed Drive Gear Outer Cone
(30)6th Speed Drive Gear Synchronizer Blocking Ring
(31)Reverse Shift Fork Retainer Ring
(32)Reverse Shift Fork Pad
(33)Reverse Shift Fork
Figure 2:

Transmission Case (2 of 2)


Object Number: 1887513  Size: LF
(1)Case Rear Extension Pin
(2)5th/6th Lever Guide Bolt
(3)Interlock Guide Bolt
(4)Computer Aided Gear Select Solenoid
(5)Cooler LIne Return Fitting
(6)Oil Fill Plug
(7)Countershaft Bearing Race
(8)Backup Lamp Switch
(9)Magnet
(10)Shift Detent Assembly
(11)Mainshaft Center Bearing Race
(12)Mainshaft Center Bearing
(13)1st Speed Drive Gear
(14)1st Speed Drive Gear Needle Bearing
(15)1st Speed Drive Gear Locking Ring
(16)1st Gear Blocking Ring Assembly
(17)1st Speed Gear Two Piece Washer
(18)1st Speed Drive Gear Inner Cone
(19)1st Speed Drive Gear Outer Cone
(20)1st Gear Synchronizer Blocking Ring
(21)1st/2nd Synchronizer Assembly
(22)2nd Gear Synchronizer Blocking Ring
(23)1st/2nd Synchronizer Hub
(24)1st/2nd Synchronizer Insert
(25)1st/2nd Synchronizer Sleeve
(26)Reverse Backup Lamp Switch (Export Only)
(27)E-Z Key Switch (Export Only)
(28)Coolant Temperature Sensor (Z51, Z06, Exports)
(29)Detent (Export Only)
Figure 3:

Adapter Plate and Gears


Object Number: 1887515  Size: LF
(1)Adapter to Transmission Case Bolt
(2)Outer Shift Shaft Seal
(3)Inner Shift Shaft Seal
(4)Front Adapter Plate
(5)Dowel Pin
(6)Top Shaft Rail Bushing
(7)Transmission Fluid Pump Check Ball
(8)Spring
(9)Plug
(10)Oil Pump
(11)Oil Pump Cover
(12)Oil Pump Cover Retainer Ring
(13)Input Shaft Seal
(14)Input Shaft Bearing Shim
(15)Input Shaft Bearing Race
(16)Input Shaft Bearing
(17)Input Shaft
(18)Input Shaft Bearing Race
(19)3rd/4th Synchronizer Retaining Ring
(20)4th Gear Blocking Ring Assembly
(21)4th Speed Drive Gear Inner Cone
(22)4th Speed Drive Gear Outer Cone
(23)4th Speed Drive Gear Blocking Ring
(24)3rd/4th Synchronizer Assembly
(25)3rd/4th Synchronizer Insert
(26)3rd/4th Synchronizer Hub
(27)3rd/4th Synchronizer Sleeve
(28)3rd Gear Blocking Ring Assembly
(29)3rd Speed Drive Gear Synchronizer Blocking Ring
(30)3rd Speed Drive Gear Friction Cone
(31)3rd Speed Drive Gear Inner Cone
(32)3rd Speed Drive Gear Spacer
(33)3rd Speed Drive Gear
(34)3rd Speed Drive Gear Bearing
(35)Mainshaft Small Tapered Bearing
(36)Mainshaft
(37)2nd Speed Drive Gear Needle Bearing
(38)2nd Speed Drive Gear
(39)2nd Speed Drive Gear Bearing Spacer
(40)2nd Gear Blocking Ring Assembly
(41)2nd Speed Drive Gear Inner Cone
(42)2nd Speed Drive Gear Outer Cone
(43)Countershaft Bearing Adjust Shim
(44)Countershaft Bearing Race
(45)Countershaft Front Bearing
(46)Countershaft
(47)Countershaft Rear Bearing
(48)Transmission Fluid Pump Inlet Pipe
(49)Shift Shaft Bushing
(50)Transmission Adapter Plug
(51)Transmission Fluid Pump Outlet Pipe Fitting Seal
(52)Transmission Fluid Pump Outlet Pipe Fitting
Figure 4:

Extension Housing


Object Number: 1887516  Size: LF
(1)Extension Housing
(2)Mainshaft Bearing Race
(3)Mainshaft Rear Bearing Retainer Ring
(4)Mainshaft Rear Bearing Retainer Ring
(5)Mainshaft Gear Bearing Spacer
(6)Mainshaft Rear Bearing
(7)Mainshaft Gear Bearing Spacer
(8)Synchronizer Retainer Ring
(9)Reverse Gear Thrust Washer
(10)Mainshaft Reverse Speed Gear
(11)Reverse Gear Bearing
(12)Reverse Gear Washer
(13)Reverse Idler Gear Shaft
(14)Reverse Idler Gear Needle Bearing
(15)Reverse Idler Gear
(16)Reverse Idler Bracket
(17)Reverse Idler Bracket Bolt
(18)Outer Output Shaft Seal
(19)Inner Output Shaft Seal
(20)Extension Housing to Transmission Case Bolt
(21)Oil Drain Plug
(22)Lubrication Funnel
(23)Extension Housing Counter Shaft Bearing Assembly
(24)Retainer
(25)Separate Gear
(26)Retainer
(27)Spacer
(28)5th Speed Drive Gear Needle Bearing
(29)5th Speed Drive Gear
(30)Spacer
(31)Retainer
(32)Thrust Washer
(33)5th Gear Blocking Ring Assembly
(34)5th Speed Gear Inner Cone
(35)5th Speed Gear Friction Cone
(36)5th Gear Synchronizer Blocking Ring
(37)5th/6th Synchronizer Assembly
(38)5th/6th and Reverse Synchronizer Insert
(39)5th/6th Synchronizer Hub
(40)5th/6th Synchronizer Sleeve
(41)Shift Fork Pad
(42)5th/6th Shift Fork
(43)5th Gear Shift Fork Retainer Ring
Figure 5:

Reverse Lockout


Object Number: 1887518  Size: LF
(1)Transmission Case Cover Bolt
(2)Transmission Case Cover
(3)Spring
(4)Detent Roller
(5)Reverse Lockout O-ring Seal
(6)Reverse Lockout Solenoid
(7)Transmission Case
(8)Gasket
(9)O-ring
(10)Reverse Lockout Assembly
(11)Reverse Lockout Solenoid Mounting Bolt
(12)Reverse Lockout Body
(13)Reverse Lockout Inner Spring
(14)Snap Ring
(15)Reverse Lockout Collar
(16)Reverse Lockout Outer Spring
(17)Reverse Lockout Plunger
(18)Snap Ring
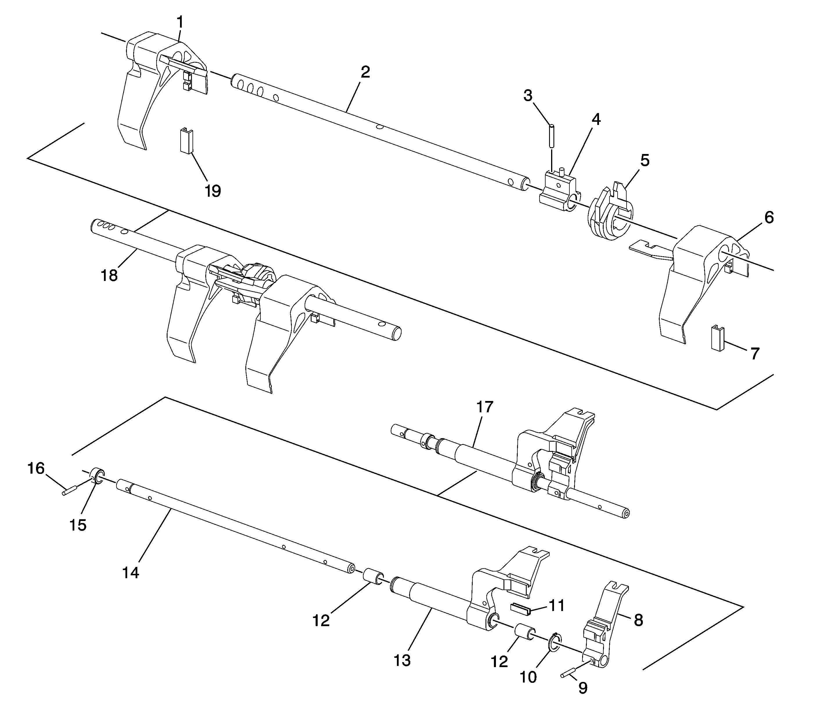
Figure 6:

Shift Shafts


Object Number: 1887520  Size: LF
(1)1st/2nd Shift Fork
(2)Shift Shaft
(3)1st/2nd Shift Fork Pin
(4)Control Select Arm Pin
(5)Gear Select Interlock Plate
(6)3rd/4th Shift Fork
(7)3rd/4th Shift Fork Pad
(8)Reverse Shift Lever
(9)Reverse Shift Lever Pin
(10)Retaining Ring
(11)5th/6th Shift Lever Pad
(12)5th/6th Shift Shaft Lever Bushing
(12)5th/6th Shift Shaft Lever Bushing
(13)5th/6th Shift Lever
(14)5th/6th Reverse Shift Shaft
(15)Reverse Shift Collar
(16)Reverse Shift Collar Pin
(17)5th/6th Shift Lever Assembly
(18)1st/2nd Shift Shaft Assembly
(19)1st/2nd Shift Fork Pad