GM Service Manual Online
For 1990-2009 cars only

Tools Required

    • J 42640 Steering Column Lock Pin
    • J 41352 Modular Column Holding Fixture

Removal Procedure


    Object Number: 70106  Size: SH

    Important: If the steering column connectors are disconnected with the ignition in the ON position, the BCM will enter a fail enable mode and prevent steering column lock operation. The PCM will also inhibit vehicle motion by disabling fuel. To clear the BCM fail enable mode, disconnect the BCM fuse #25 for 15 seconds.

  1. Disable the SIR system. Refer to SIR Disabling and Enabling .
  2. Turn the steering wheel far enough to the left to gain access to the upper coupling bolt.
  3. Remove the upper coupling bolt.
  4. Turn the steering wheel back to the right until the wheels are in a straight ahead position. Lock the steering column.
  5. Notice: The wheels of the vehicle must be straight ahead and the steering column in the LOCK position before disconnecting the steering column or intermediate shaft from the steering gear. Failure to do so will cause the SIR coil assembly to become uncentered, which may cause damage to the coil assembly.


    Object Number: 333146  Size: SH
  6. Insert J 42640 into the steering column access hole in order to lock the steering column. This will maintain the correct orientation.

  7. Object Number: 95668  Size: SH
  8. Remove the trim panel from the driver knee bolster. Refer to Driver Knee Bolster Panel Replacement .
  9. Remove the driver knee bolster bracket. Refer to Driver Knee Bolster Panel Replacement .
  10. Disconnect the electrical connectors from the instrument panel (I/P) wiring harness.

  11. Object Number: 70120  Size: SH
  12. Remove the nuts from lower steering column support plate (1).

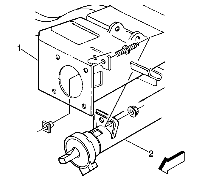
  13. Object Number: 70116  Size: SH
  14. Remove the upper steering column bracket nuts from the upper reinforcement assembly (3).
  15. Slide the steering column (2) off of the intermediate shaft.
  16. Notice: Once the steering column is removed from the vehicle, the column is extremely susceptible to damage. Dropping the column assembly on the end could collapse the steering shaft or loosen the plastic injections, which maintain column rigidity. Leaning on the column assembly could cause the jacket to bend or deform. Any of the above damage could impair the columns collapsible design. Do NOT hammer on the end of the shaft, because hammering could loosen the plastic injections, which maintain column rigidity. If you need to remove the steering wheel, refer to the Steering Wheel Replacement procedure in this section.

  17. Remove the steering column (2) from the vehicle.
  18. Rotate the steering column clockwise as the bottom of the steering column reaches the reinforcement assembly. This will allow the telescoping steering column motor and the steering wheel position sensor room to clear the I/P brace.


    Object Number: 415301  Size: SH
  19. Install the steering column onto J 41352 .

Installation Procedure


    Object Number: 415301  Size: SH
  1. Remove the steering column from J 41352 .

  2. Object Number: 70116  Size: SH
  3. Position the steering column assembly (2) into the vehicle and insert the lower steering shaft assembly into the upper coupling of the intermediate shaft.
  4. Install the cross car locating bushing (1) on the right hand mounting stud.
  5. Notice: Refer to Fastener Notice in the Preface section.

  6. Install the upper steering column bracket nuts to the upper reinforcement assembly (3).
  7. Tighten
    Tighten the nuts to 24 N·m (18 lb ft).


    Object Number: 70120  Size: SH
  8. Install the nuts to the lower steering column support plate (1).
  9. Tighten
    Tighten the nuts to 24 N·m (18 lb ft).

  10. Turn the steering wheel far enough to the left to gain access to the upper coupling of the intermediate shaft.

  11. Object Number: 70106  Size: SH
  12. Install the upper coupling bolt.
  13. Tighten
    Tighten the bolt to 48 N·m (35 lb ft).

  14. Connect all the electrical connectors to the I/P wiring harness.
  15. Remove J 42640 from the steering column.

  16. Object Number: 95668  Size: SH
  17. Install the driver knee bolster bracket (1). Refer to Driver Knee Bolster Panel Replacement .
  18. Install the driver knee bolster trim panel. Refer to Driver Knee Bolster Panel Replacement .
  19. Enable the SIR system. Refer to SIR Disabling and Enabling .