GM Service Manual Online
For 1990-2009 cars only

Object Number: 2139702  Size: MF

Callout

Component Name

Preliminary Procedures

  1. Raise and support the vehicle. Refer to Lifting and Jacking the Vehicle
  2. Remove the front bumper fascia. Refer to Front Bumper Fascia Replacement
  3. Remove the right front wheel house liner. Refer to Front Wheelhouse Liner Replacement
  4. Drain the coolant. Refer to Charge Air Cooling System Draining and Filling

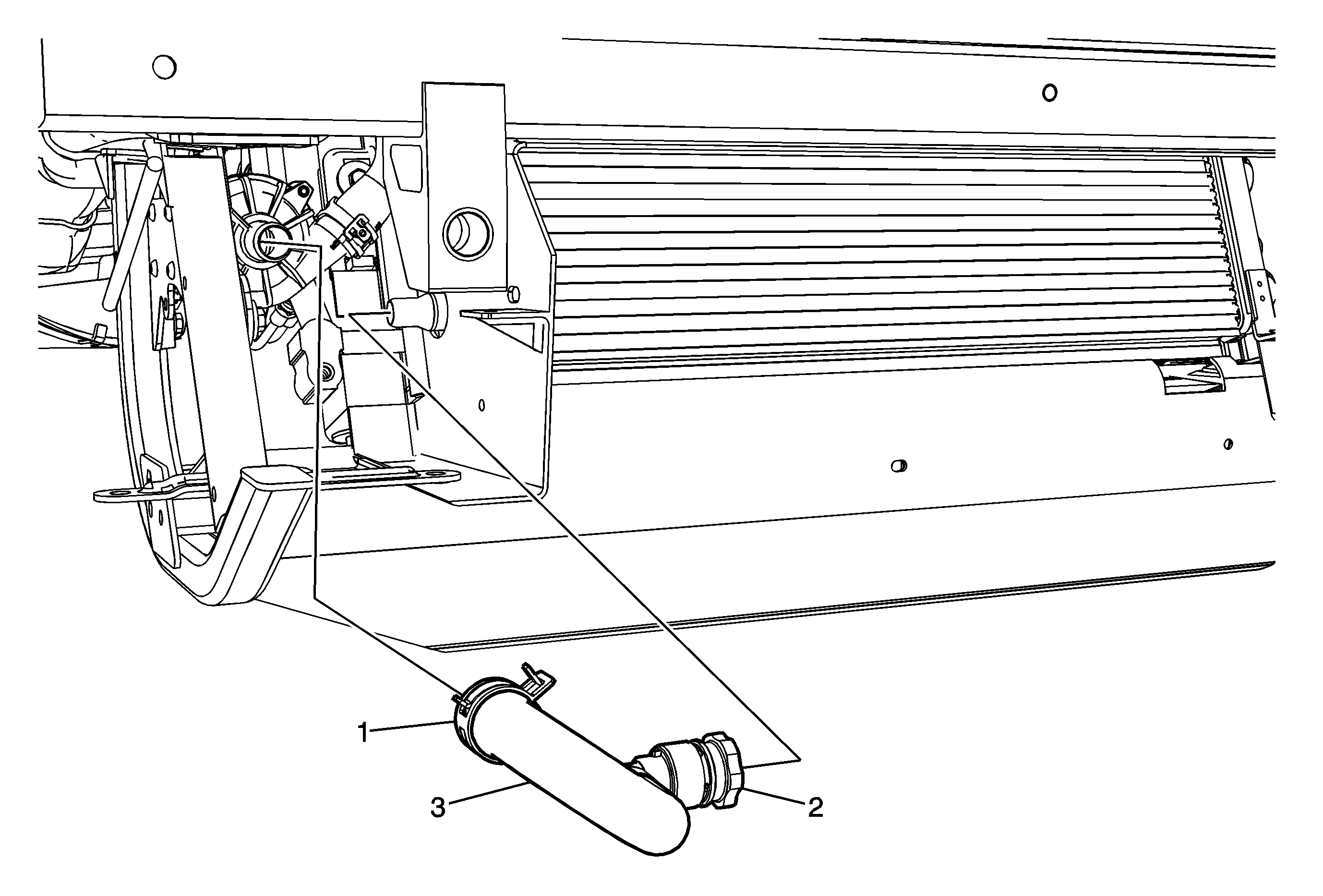
1

Charge Air Cooler Coolant Hose Clamp

Procedure

Reposition charge air cooler coolant hose clamp using J 38185 Hose Clamp Pliers .

Special Tools

J 38185 Hose Clamp Pliers

2

Charge Air Cooler Coolant Hose Quick Disconnect

Procedure

Disconnect charge air cooler quick disconnect fitting. Refer to Plastic Collar Quick Connect Fitting Service

3

Charge Air Cooler Coolant Hose - Radiator To Pump