GM Service Manual Online
For 1990-2009 cars only

Power Steering Cooler Pipe/Hose Replacement LS9

Removal Procedure

  1. Place drain pans under the vehicle as needed.
  2. Remove as much power steering fluid from the remote power steering fluid reservoir as possible.

  3. Object Number: 2132666  Size: SH
  4. Compress the power steering cooler hose clamp (1).
  5. Disconnect the power steering cooler hose (2) from the remote power steering fluid reservoir.

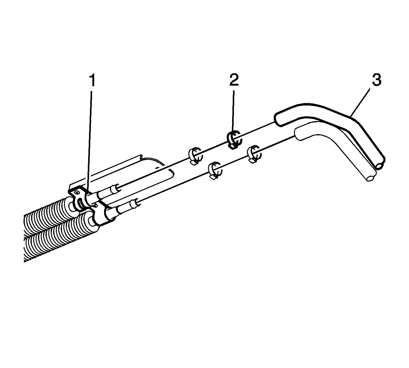
  6. Object Number: 2139386  Size: SH
  7. Disconnect the power steering cooler hose (1) from the steering gear.

  8. Object Number: 2139700  Size: SH
  9. Remove the power steering cooler hose bracket bolt (1).

  10. Object Number: 2139378  Size: SH
  11. Remove and discard the power steering cooler hose clamps (2).
  12. Disconnect the rubber hoses (3) from the power steering cooler (1).

  13. Object Number: 2139382  Size: SH
  14. Remove the power steering cooler hose bolts (1) and the power steering cooler (2).
  15. Maneuver the power steering cooler hose as needed and remove it from the vehicle.

Installation Procedure

  1. Maneuver the power steering cooler hose as needed and position it to the vehicle.
  2. Caution: Refer to Fastener Caution in the Preface section.


    Object Number: 2139382  Size: SH
  3. Install the power steering cooler (2) and the power steering cooler hose bolts (1) and tighten to 11 N·m (97 lb in).

  4. Object Number: 2139700  Size: SH
  5. Install the power steering cooler hose bracket bolt (1) and tighten to 10 N·m (89 lb in).

  6. Object Number: 2139386  Size: SH
  7. Connect the power steering cooler hose (1) to the steering gear and tighten to 27 N·m (20 lb ft).

  8. Object Number: 2139378  Size: SH
  9. Position the new power steering cooler hose clamps (2) and connect the rubber hoses (3) to the power steering cooler (1).
  10. Tighten the new power steering cooler hose clamps (2).

  11. Object Number: 2132666  Size: SH
  12. Compress the power steering cooler hose clamp (1).
  13. Connect the power steering cooler hose (2) to the remote power steering fluid reservoir and release the clamp.
  14. Clean any excess power steering fluid from the vehicle and remove the drain pans.
  15. Fill and bleed the power steering system. Refer to Power Steering System Bleeding.