GM Service Manual Online
For 1990-2009 cars only

Removal Procedure

Warning: Refer to Gasoline/Gasoline Vapors Warning in the Preface section.

    Warning: Refer to Battery Disconnect Warning in the Preface section.

  1. Disconnect the battery negative cable. Refer to Battery Negative Cable Disconnection and Connection.

  2. Object Number: 2028306  Size: SH
  3. Unclip the fuel feed pipe (1) from the fuel feed pipe clip (2).
  4. Release the fuel feed pipe (1) from the multiport fuel injection fuel rail (3) and remove the fuel feed pipe.

  5. Object Number: 2028091  Size: SH
  6. Remove the exhaust pipe front hanger bolts (2).
  7. Remove the frame rear bolt (3).
  8. Remove the frame reinforcement.

  9. Object Number: 2028099  Size: SH
  10. Unclip the fuel feed pipe (1) from the 4 bracket clips (2).

  11. Object Number: 2028100  Size: SH
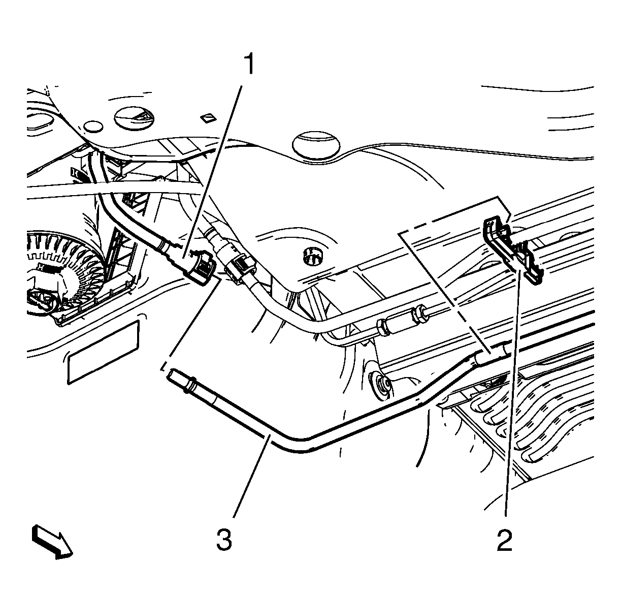
  12. Unclip the fuel feed pipe (3) from the rear bracket clip (2).
  13. Disconnect the fuel feed pipe (3) from the fuel feed pipe connector (1).
  14. Remove the fuel feed pipe (3).

Installation Procedure


    Object Number: 2028100  Size: SH
  1. Install the fuel feed pipe (3).
  2. Connect the fuel feed pipe (3) to the fuel feed pipe connector (1).
  3. Clip in the fuel feed pipe (3) to the rear bracket clip (2).

  4. Object Number: 2028099  Size: SH
  5. Clip in the fuel feed pipe (1) to the 4 bracket clips (2).

  6. Object Number: 2028091  Size: SH
  7. Install the frame reinforcements.
  8. Caution: Refer to Fastener Caution in the Preface section.

    Note: Do NOT reuse old bolts.

  9. Install the NEW frame rear bolt (3) and tighten to  90 N·m (67 lb ft) +130°.
  10. Install the exhaust pipe front hanger bolts (2) and tighten to  20N·m (15 lb ft).

  11. Object Number: 2028306  Size: SH
  12. Install the fuel feed pipe (1) to the multiport fuel injection fuel rail (3).
  13. Clip in the fuel feed front pipe (1) to the fuel feed pipe clip (2).
  14. Connect the battery negative cable. refer to Battery Negative Cable Disconnection and Connection.