GM Service Manual Online
For 1990-2009 cars only

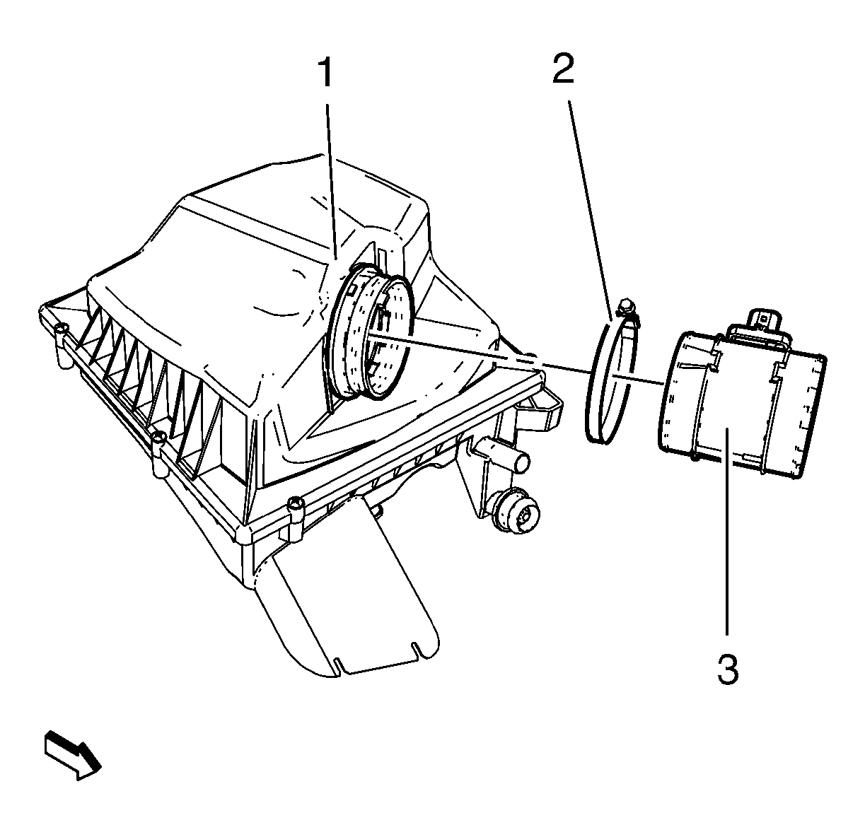
Removal Procedure

  1. Remove the air cleaner outlet front duct. Refer to Air Cleaner Outlet Front Duct Replacement.

  2. Object Number: 1889700  Size: SH
  3. Disconnect the mass airflow sensor wiring harness plug (1) from mass airflow sensor (2).

  4. Object Number: 2027510  Size: SH
  5. Remove the mass airflow sensor clamp (2).
  6. Remove the mass airflow sensor (3) from the upper air cleaner housing (1).

Installation Procedure


    Object Number: 2027510  Size: SH
  1. Install the mass airflow sensor (3).
  2. Caution: Refer to Fastener Caution in the Preface section.

  3. Install the mass airflow sensor clamp (2) and tighten to 3.5 N·m(31 lb in).

  4. Object Number: 1889700  Size: SH
  5. Connect the mass airflow sensor wiring harness plug (1).
  6. Install the air cleaner outlet front duct. Refer to Air Cleaner Outlet Front Duct Replacement