GM Service Manual Online
For 1990-2009 cars only

Battery Replacement Diesel

Special Tools

GE-49379 Battery Remover

Removal Procedure

  1. Disconnect battery negative cable. Refer to Battery Negative Cable Disconnection and Connection.

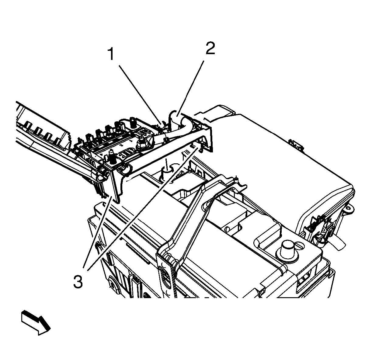
  2. Object Number: 2027594  Size: SH
  3. Unlock the retaining tabs on the battery fuse box cover, and open the cover (1).
  4. Remove the positive battery cable to starter nut (2).
  5. Remove the positive battery cable to starter (3) from the battery.

  6. Object Number: 2027592  Size: SH
  7. Loosen the positive battery cable nut (1) on the battery.
  8. Remove the positive battery cable (2)
  9. Unlock the 2 retaining tabs (3) and remove positive battery cable cover.

  10. Object Number: 2027610  Size: SH
  11. Remove the battery hold down retainer nut (2).
  12. Remove the battery hold down retainer (1) from the battery tray (3).

  13. Object Number: 2027662  Size: SH
  14. Unclip the battery current sensor (3) from the battery tray.
  15. Disconnect the glow plug controller wiring harness plug (4).
  16. Remove the glow plug controller bracket (2) from the battery tray.

  17. Object Number: 2027650  Size: SH
  18. Unlock the retaining tab (2) and remove the protector battery tray (1).
  19. Remove the battery with the GE-49379 remover .

Installation Procedure

  1. Install the battery with the GE-49379 remover .

  2. Object Number: 2027650  Size: SH
  3. Install the protector battery tray (1).

  4. Object Number: 2027662  Size: SH
  5. Install the glow plug controller bracket (2) at the battery tray.
  6. Connect the glow plug controller wiring harness plug (4).
  7. Clip in the battery current sensor (3) at the battery tray.

  8. Object Number: 2027610  Size: SH
  9. Install the battery hold down retainer (1) at the battery tray (3).
  10. Caution: Refer to Fastener Caution in the Preface section.

  11. Install the battery hold down retainer nut (2) and tighten to  9 N·m (80 lb in).

  12. Object Number: 2027592  Size: SH
  13. Install the positive battery cable cover and lock the 2 retaining tabs (3).
  14. Install the positive battery cable (2).
  15. Tighten the positive battery cable nut (1) on the battery to 9 N·m (80 lb in).

  16. Object Number: 2027594  Size: SH
  17. Install the positive battery cable to starter (3).
  18. Install the positive battery cable to starter nut (2) and tighten to  9 N·m (80 lb in).
  19. Close the battery fuse box cover (1) and lock the retaining tabs on the battery fuse box.
  20. Connect battery negative cable. Refer to Battery Negative Cable Disconnection and Connection.

Battery Replacement 1.6L LXV

Special Tools

GE-49379 Battery Remover

For equivalent regional tools, refer to Special Tools

Removal Procedure

  1. Disconnect battery negative cable. Refer to Battery Negative Cable Disconnection and Connection.

  2. Object Number: 2027594  Size: SH
  3. Unlock the retaining tabs on the battery fuse box cover, and open the cover (1).
  4. Remove the positive battery cable to starter nut (2).
  5. Remove the positive battery cable to starter (3) from the battery.

  6. Object Number: 2027592  Size: SH
  7. Loosen the positive battery cable nut (1) on the battery.
  8. Remove the positive battery cable (2).
  9. Unlock the 2 retaining tabs (3) and remove positive battery cable cover.

  10. Object Number: 2027610  Size: SH
  11. Remove the battery hold down retainer nut (2).
  12. Remove the battery hold down retainer (1) from the battery tray (3).

  13. Object Number: 2027662  Size: SH
  14. Unclip the battery current sensor (3) from the battery tray.
  15. Disconnect the glow plug controller wiring harness plug (4).
  16. Remove the glow plug controller bracket (2) from the battery tray.

  17. Object Number: 2027650  Size: SH
  18. Unlock the retaining tab (2) and remove the protector battery tray (1).
  19. Remove the battery with the GE-49379 remover .

Installation Procedure

  1. Install the battery with the GE-49379 remover .

  2. Object Number: 2027650  Size: SH
  3. Install the protector battery tray (1).

  4. Object Number: 2027662  Size: SH
  5. Install the glow plug controller bracket (2) at the battery tray.
  6. Connect the glow plug controller wiring harness plug (4).
  7. Clip in the battery current sensor (3) at the battery tray.

  8. Object Number: 2027610  Size: SH
  9. Install the battery hold down retainer (1) at the battery tray (3).
  10. Caution: Refer to Fastener Caution in the Preface section.

  11. Install the battery hold down retainer nut (2) and tighten to  9 N·m (80 lb in).

  12. Object Number: 2027592  Size: SH
  13. Install the positive battery cable cover and lock the 2 retaining tabs (3).
  14. Install the positive battery cable (2).
  15. Tighten the positive battery cable nut (1) on the battery to 9 N·m (80 lb in).

  16. Object Number: 2027594  Size: SH
  17. Install the positive battery cable to starter (3).
  18. Install the positive battery cable to starter nut (2) and tighten to  9 N·m (80 lb in).
  19. Close the battery fuse box cover (1) and lock the retaining tabs on the battery fuse box.
  20. Connect battery negative cable. Refer to Battery Negative Cable Disconnection and Connection.