GM Service Manual Online
For 1990-2009 cars only

Special Tools

    • EN-45059 Torque Angle Sensor Kit
    • EN-48249 Piston Ring Compressor

For equivalent regional tools, refer to Special Tools.

Removal Procedure

  1. Remove the cylinder head. Refer to Cylinder Head Replacement.
  2. Remove the oil pan. Refer to Oil Pan Replacement.
  3. Raise the vehicle by its full height. Refer to  Lifting and Jacking the Vehicle.
  4. Install the crankshaft balancer bolt.
  5. Set the pistons 1 and 4 to BDC in direction of engine rotation.

  6. Object Number: 1948709  Size: SH

    Note: Note cylinder sequence.

  7. Mark the connecting rod with the connecting rod bearing cover (1).

  8. Object Number: 2028299  Size: SH
  9. Remove the 4 connecting rod bearing caps bolts (2) of cylinder 1 and 4.
  10. Remove the connecting rod bearing caps (1) and the connecting rod bearing (3).

  11. Object Number: 2028300  Size: SH
  12. Push the pistons 1 and 4 (1) out of the cylinder bore (2).
  13. Lower the vehicle by its full height.
  14. Note: The shear surfaces of the con-rod and the con-rod bearing cover form a unique fit and must not be swapped or damaged. Do not lay down on the shear surfaces.

  15. Remove the pistons 1 and 4 (1).
  16. Raise the vehicle by its full height.
  17. Turn crankshaft on crankshaft balancer through 180 degrees in direction of rotation of engine.

  18. Object Number: 1948709  Size: SH

    Note: Note cylinder sequence.

  19. Mark the connecting rod with the connecting rod bearing cover (1).

  20. Object Number: 2028299  Size: SH
  21. Remove the 4 connecting rod bearing caps bolts (2) of cylinder 2 and 3.
  22. Remove the connecting rod bearing caps (1) and the connecting rod bearing (3).

  23. Object Number: 2028301  Size: SH
  24. Push the pistons 2 and 3 (1) out of the cylinder bore (2).
  25. Lower the vehicle by its full height.
  26. Note: The shear surfaces of the con-rod and the con-rod bearing cover form a unique fit and must not be swapped or damaged. Do not lay down on the shear surfaces.

  27. Remove the pistons 2 and 3 (1).

  28. Object Number: 2028302  Size: SH

    Note: Observe correct fitting position, observe alignment.

  29. Remove the connecting rod bearing (1, 2).
  30. Check the components. Refer to Piston, Connecting Rod, and Bearing Cleaning and Inspection

Installation Procedure


    Object Number: 2028302  Size: SH

    Note: Lubricate the connection rod bearing with NEW engine oil.

  1. Install the connecting rod bearing (1, 2).

  2. Object Number: 1948716  Size: SH
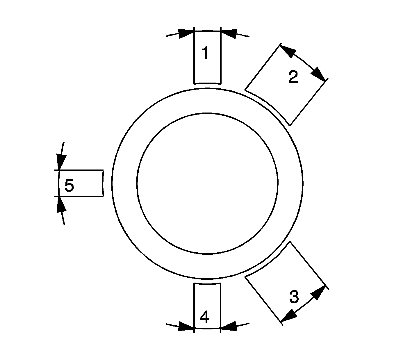
  3. Set piston ring joints.
  4. • Piston compression upper ring in position (1).
    • Piston compression lower ring in position (4).
    • Interim ring of the piston oil ring rail in position (5), steel band rings of the piston oil ring rail in position (2) and/or (3).

    Object Number: 2028000  Size: SH
  5. Lubricate the piston rings, piston (1), inner cylinder bore surface and EN-48249 compressor  (2) with clean engine oil.
  6. Note: Arrow on piston head points to engine timing side, bead on connecting rod points to transmission side of engine.


    Object Number: 2028301  Size: SH
  7. Push the pistons 2 and 3 (1) into the cylinder bore (2).
  8. Raise the vehicle by its full height.

  9. Object Number: 2028299  Size: SH
  10. Install the connecting rod bearing caps (1) and the connecting rod bearing (3).
  11. Install 4 NEW connecting rod bearing caps bolts (2) of cylinder 2 and 3 and tighten in 3 passes:
  12. Caution: Refer to Fastener Caution in the Preface section.

    7.1. In first pass tighten to  35 N·m (26 lb ft).
    7.2. In second pass tighten to 45 degrees using the EN-45059 angle sensor .
    7.3. In third pass tighten to 15 degrees using the EN-45059 angle sensor .
  13. Turn crankshaft on crankshaft balancer through 180 degrees in direction of rotation of engine.
  14. Lower the vehicle by its full height.

  15. Object Number: 2028300  Size: SH
  16. Push the pistons 1 and 4 (1) into the cylinder bore (2).
  17. Raise the vehicle by its full height.

  18. Object Number: 2028299  Size: SH
  19. Install the connecting rod bearing caps (1) and the connecting rod bearing (3).
  20. Install the 4 connecting rod bearing caps bolts (2) of cylinder 1 and 4 and tighten in 3 passes:
  21. 13.1. In first pass tighten to  35 N·m (26 lb ft)
    13.2. In second pass tighten to  45 degrees using the EN-45059 angle sensor
    13.3. In third pass tighten to  15 degrees using the EN-45059 angle sensor
  22. Set the crankshaft in direction of engine rotation to 60 degrees before UDC.
  23. Install the oil pan. Refer to Oil Pan Replacement.
  24. Install the cylinder head. Refer to Cylinder Head Replacement.