GM Service Manual Online
For 1990-2009 cars only

Special Tools

    • EN 422 Installer
    • EN 45000 Remover

For equivalent regional tools, refer to Special Tools.

Removal Procedure

  1. Remove the camshaft position actuator adjuster. Refer to Camshaft Position Actuator Adjuster Replacement.

  2. Object Number: 2028264  Size: SH
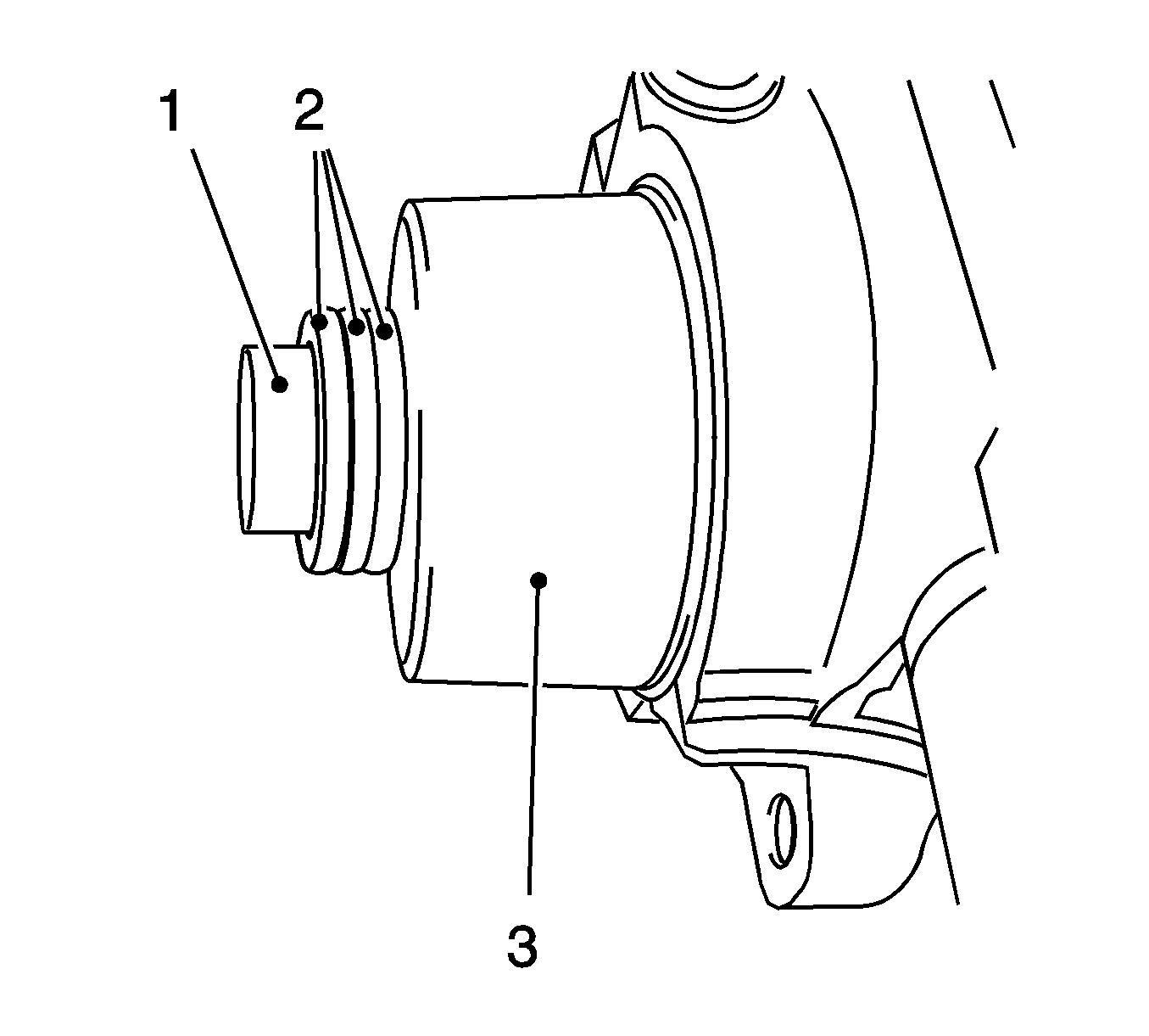
  3. Remove the camshaft front oil seals (1).

Installation Procedure


    Object Number: 2028264  Size: SH
  1. Insert 2 NEW camshaft front oil seals (1).

  2. Object Number: 1945794  Size: SH
  3. Install 2 sealing rings to the camshafts.
  4. Tighten the seal ring with EN-422 installer  (3) on the camshaft until this is in contact with the cylinder head.
  5. To install, use camshaft sprocket bolt (1) in conjunction with shims (2) with a total thickness of approximately 10 mm (0.393 in).
  6. Install the camshaft position actuator adjuster. Refer to Camshaft Position Actuator Adjuster Replacement.