GM Service Manual Online
For 1990-2009 cars only

Special Tools

EN 49424 Remover and Installer Ignition Module

For equivalent regional tools, refer to Special Tools.

    Note: Note the arrow on the cover.

  1. Remove the cover of the DIS ignition coil in the direction of the arrow.
  2. Remove the 2 ignition coil bolts.

  3. Object Number: 1936914  Size: SH
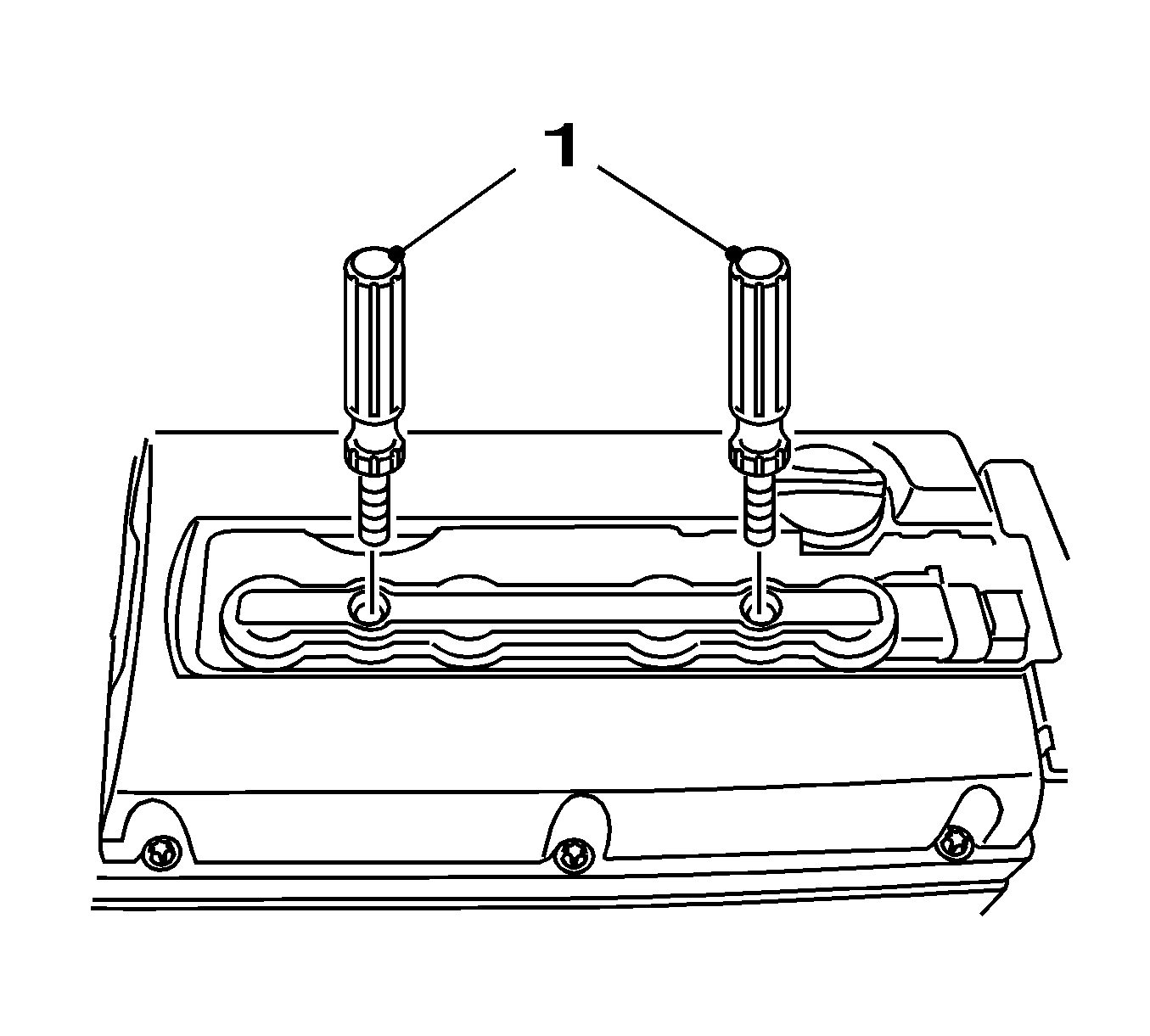
  4. Install the EN 49424 remover/installer  (1).

  5. Object Number: 2026537  Size: SH
  6. Remove the ignition coil module (2) with the EN 49424 remover/installer  (1).