GM Service Manual Online
For 1990-2009 cars only

Special Tools

    • EN-6333 Locking Pin
    • EN-6340 Locking Tool
    • EN-6628-A Locking Tool

For equivalent regional tools, refer to Special Tools.

  1. Install the crankshaft balancer bolt.

  2. Object Number: 2027014  Size: SH

    Note: The timing belt drive gear and oil pump housing must align.

  3. Set the engine to top dead center (TDC).
  4. Turn the crankshaft in the direction of engine rotation, by the crankshaft balancer bolt, to cylinder 1 TDC of combustion stroke.


    Object Number: 1944920  Size: SH

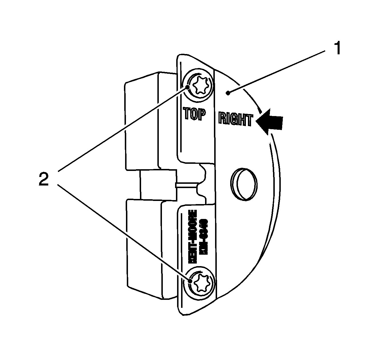
    Note: The right half of the EN-6340 locking tool can be recognized by the lettering Right, arrow, on the tool.

  5. Prepare the right half of the EN-6340 locking tool .
  6. 3.1. Detach the front panel (1) from the EN-6340 locking tool - right.
    3.2. Remove the 2 bolts (2).

    Object Number: 1944922  Size: SH

    Note: 

       • The spot-type marking (4) on the intake camshaft adjuster does not correspond to the groove of the EN-6340 locking tool - left (1) during this process, but must be somewhat above.
       • The spot type marking (3) on the exhaust camshaft adjuster must correspond to the groove on EN-6340 locking tool - right (2).

  7. Insert the EN-6340 locking tool - left (1) and the EN-6340 locking tool - right (2) in the camshaft adjuster.

  8. Object Number: 2026512  Size: SH

    Note: If the EN-6628-A locking tool  (1) cannot be inserted, the timing must be set.

  9. Align the camshafts horizontally by the hexagon, arrows, until the EN-6628-A locking tool can be inserted in both camshafts.

  10. Object Number: 2026534  Size: SH
  11. Insert the EN-6628-A locking tool  (1) into the camshafts.

  12. Object Number: 1944384  Size: SH
  13. Install the EN-6333 locking pin  (1), apply tension to the timing belt tension roller (2) in the direction of the arrow. Install using the EN-6333 locking pin  (3).
  14. Stop the timing belt tensioner.
  15. Remove the timing belt.