GM Service Manual Online
For 1990-2009 cars only
  1. Clean sealing surface.
  2. Install a NEW engine coolant thermostat housing seal.

  3. Object Number: 2026832  Size: SH
  4. Install the engine coolant thermostat housing (2).
  5. Note: Screw in the 4 bolts until the engine coolant thermostat housing is in contact with the cylinder head.

  6. Install the 4 engine coolant thermostat housing bolts (3).
  7. Caution: Refer to Fastener Caution in the Preface section.

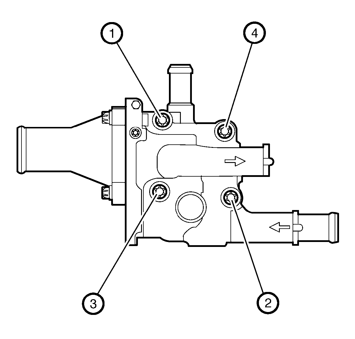
    Note: It is essential to comply with the specified tightening sequence 1-4 - risk of fracture.


    Object Number: 2028129  Size: SH
  8. Tighten the 4 engine coolant thermostat housing bolts to  8 N·m (71 lb in).

  9. Object Number: 2026832  Size: SH
  10. Install the engine coolant thermostat housing retainer (1).
  11. Install the engine coolant thermostat housing retainer nut (4) and tighten to  XXX N·m (XXX lb in).