GM Service Manual Online
For 1990-2009 cars only
Figure 1:

Fuel Rail


Object Number: 2027410  Size: LF
(1)Fuel Injectors
(2)Fuel Feed Pipe
(3)Fuel Pressure Regulator
(4)Multiport Fuel Rail
(5)Fuel Feed Pipe
(6)Fuel Injection Pump
(7)Fuel Rail Pressure Sensor
(8)Fuel Feed Pipe
Figure 2:

Cylinder Head


Object Number: 2027191  Size: LF
(1)Camshaft Cover
(2)Camshaft Cover Gasket
(3)PCV Adapter Gasket
(4)PCV Adapter
(5)PCV Valve
(6)Injector Seal
(7)Oil Filler Cap
(8)Injector Bracket Plug
(9)Engine Beauty Cover Bracket
(10)Camshaft Position Sensor
(11)Exhaust Roller Finger-Follower
(12)Intake Roller Finger-Follower
(13)Valve Lifter Bridge
(14)Valve Stem Key
(15)Valve Spring Retainer
(16)Valve Spring
(17)Valve Stem Oil Seal
(18)Camshaft Bearing Cap Bolt
(19)Camshaft Bearing Cap
(20)Fuel Injector Bracket Bolt
(21)Fuel Injector Bracket
(22)Camshaft
(23)Camshaft Bearing Cap
(24)Plug
(25)Hydraulic Valve Lash Adjuster
(26)Camshaft Front Oil Seal
(27)Cylinder Head
(28)Exhaust Valve
(29)Intake Valve
(30)Cylinder Head Gasket
(31)Glow Plug
(32)Diesel Glow Plug Wiring Harness
(33)Glow Plug Heat Shield
Figure 3:

Intake/Exhaust System


Object Number: 2027406  Size: LF
(1)Turbocharger Oil Inlet Pipe Bolt
(2)Turbocharger Oil Inlet Pipe
(3)Turbocharger
(4)Turbocharger Oil Outlet Pipe Gasket
(5)Turbocharger Oil Outlet Pipe
(6)Turbocharger Oil Outlet Hose
(7)Exhaust Manifold Gasket
(8)Turbocharger Gasket
(9)Exhaust Manifold
(10)Thermostat Housing
(11)Thermostat Housing Gasket
(12)Thermostat
(13)Intake Manifold Absolute Pressure Sensor
(14)Intake Manifold
(15)Coolant Temperature Sensor
(16)Intake Manifold Gasket
Figure 4:

Timing Belt System


Object Number: 2027190  Size: LF
(1)Camshaft Drive Sprocket
(2)Timing Belt Idler Pulley
(3)Fuel Injection Pump Drive Pulley
(4)Timing Belt Tensioner
(5)Water Pump Drive Pulley
(6)Crankshaft Sprocket
(7)Timing Belt
(8)Timing Belt Rear Cover
(9)Timing Belt Upper Front Cover
(10)Timing Belt Lower Front Cover
(11)Engine Mount Bracket
(12)Crankshaft Pulley
(13)Water Pump Gasket
(14)Fuel Injection Pump
(15)Generator and Air Conditioning Compressor Bracket
(16)Water Pump
Figure 5:

Oil Filter Adapter


Object Number: 2027186  Size: LF
(1)Oil Filter Cap
(2)O-Ring
(3)Oil Filter
(4)Oil Filter Housing
(5)O-Ring
(6)Oil Cooler Outlet Hose
(7)Oil Cooler Inlet Hose
(8)O-Ring
(9)Crankshaft Front Oil Seal
(10)Oil Pump Housing
(11)Oil Pressure Relief Valve
(12)Oil Pressure Relief Valve Spring
(13)Oil Pressure Relief Valve Gasket
(14)Oil Pressure Relief Valve Plug
(15)Engine Oil Cooler
(16)Oil Filter Fitting
(17)Oil Filter Draining Plug
(18)Oil Filter Draining Plug Washer
Figure 6:

Oil Pump


Object Number: 2027188  Size: LF
(1)Engine Oil Pressure Sensor
(2)Oil Pump Outer Rotor
(3)Oil Pump Inner Rotor
(4)Oil Pump Cover
(5)Oil Pump Drive Shaft Gear
(6)O-Ring
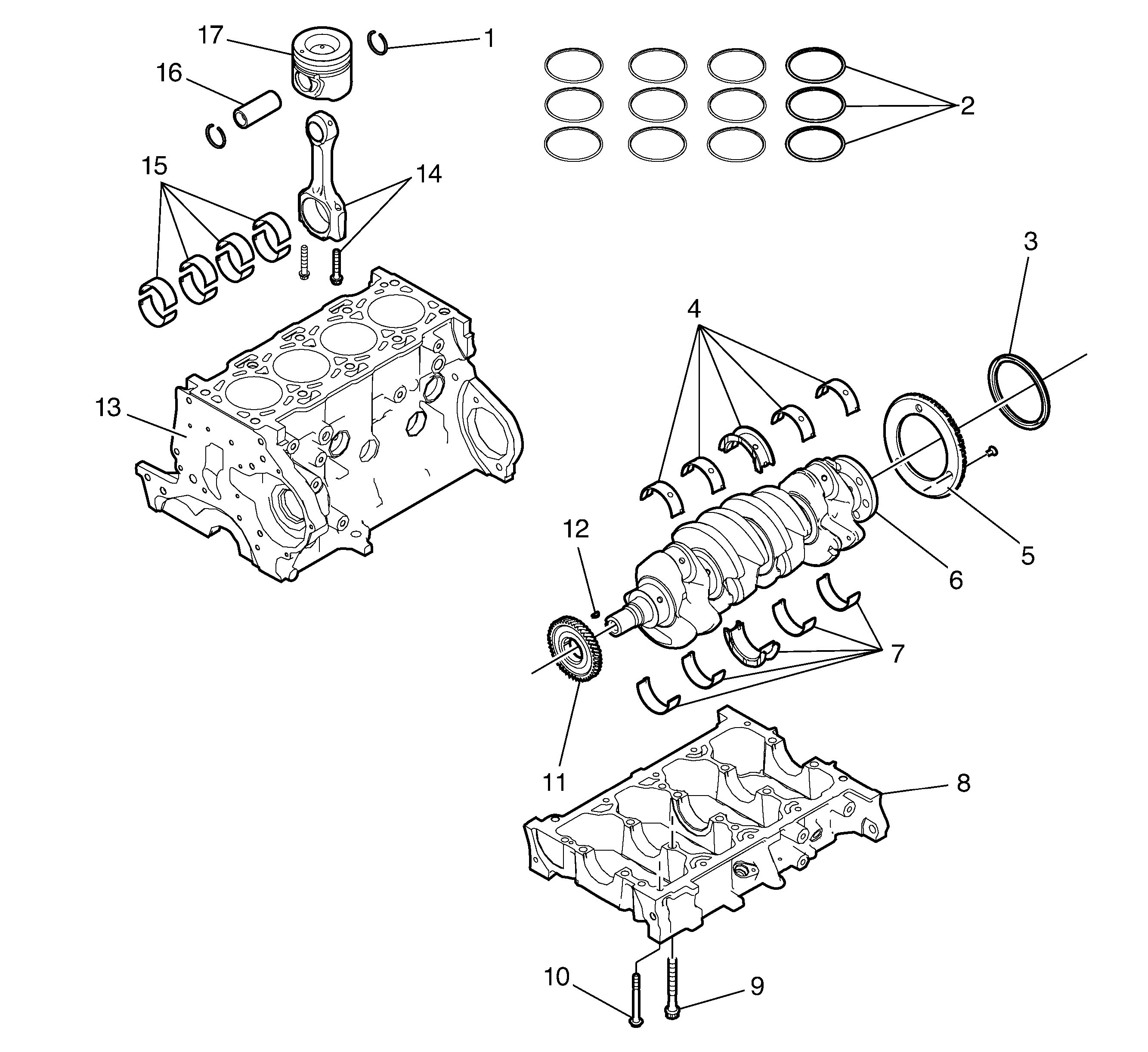
Figure 7:

Piston, Connecting Rod and Bearings


Object Number: 2027187  Size: LF
(1)Piston Pin Retainer
(2)Piston Ring Set
(3)Crankshaft Rear Oil Seal
(4)Crankshaft Upper Bearing
(5)Crankshaft Position Sensor Inner Excitor Ring
(6)Crankshaft
(7)Crankshaft Lower Bearing
(8)Lower Crankcase
(9)Internal Lower Crankcase Bolt
(10)Outside Lower Crankcase Bolt
(11)Crankshaft Gear
(12)Crankshaft Gear Key
(13)Engine Block
(14)Connecting Rod And Bolt
(15)Connecting Rod Bearing
(16)Piston Pin
(17)Piston
Figure 8:

Engine Block


Object Number: 2027189  Size: LF
(1)Oil Level Indicator
(2)Oil Level Indicator Tube
(3)Coolant Adapter
(4)Plug
(5)Piston Oil Nozzle Tube Bolt
(6)Piston Oil Nozzle Tube
(7)O-Ring
(8)Crankshaft Balancer
(9)Oil Pump Suction Pipe
(10)Oil Drain Plug Washer
(11)Oil Drain Plug
(12)Oil Pan Bolt
(13)Oil Pan Bolt
(14)Coolant Adapter
(15)Crankshaft Position Sensor