GM Service Manual Online
For 1990-2009 cars only

Special Tools

    • CH-904 Base Frame
    • DT-47648 Transmission Holder
    • EN-47649 Engine Support Fixture
    • CH-49290 Mounting Engine/Transmission

For equivalent regional tools, refer to Special Tools.

Removal Procedure

  1. Remove battery tray. Refer to Battery Tray Replacement.

  2. Object Number: 2027902  Size: SH
  3. Disconnect the shift lever and selector lever cables from the shift control lever (2) and the selector and shift lever cable bracket (1).

  4. Object Number: 2028267  Size: SH

    Note: Before disconnecting the clutch actuator cylinder front pipe, remove the clutch/brake fluid from the reservoir tank.

  5. Remove the clutch actuator cylinder front pipe retainer (1).
  6. Disconnect the clutch actuator cylinder front pipe (2) from the clutch actuator cylinder pipe elbow.


    Object Number: 2027601  Size: SH
  7. Disconnect the electrical connector (1) from the speedometer driven gear (2).
  8. Disconnect the electrical connector from the backup lamp switch.

  9. Object Number: 2028269  Size: SH
  10. Remove the upper transmission bolts (1).
  11. Install the EN-47649 support fixture . Refer to Engine Support Fixture
  12. Raise and support the vehicle. Refer to Lifting and Jacking the Vehicle.
  13. Install the CH-49290 mounting engine/transmission . Refer to Engine/Transmission Mounting
  14. Remove the drivetrain and front suspension frame. Refer to Drivetrain and Front Suspension Frame Replacement.
  15. Disconnect the left front wheel drive shaft from the transmission. Refer to Front Wheel Drive Shaft Replacement - Left Side.
  16. Disconnect the right front wheel drive shaft from the transmission. Refer to Front Wheel Drive Shaft Replacement - Right Side.

  17. Object Number: 2027716  Size: SH
  18. Remove the transmission front mount bolts (1) and the transmission front mount (2).

  19. Object Number: 2027732  Size: SH
  20. Remove the transmission mount bracket bolts (1) and the transmission mount bracket - rear.
  21. Remove the starter. Refer to Starter Motor Replacement.
  22. Lower the vehicle.

  23. Object Number: 2027702  Size: SH
  24. Remove the transmission mount bolts (1).
  25. Lower the engine and the transmission on the left hand side with the EN-47649 support fixture .
  26. Raise the vehicle.

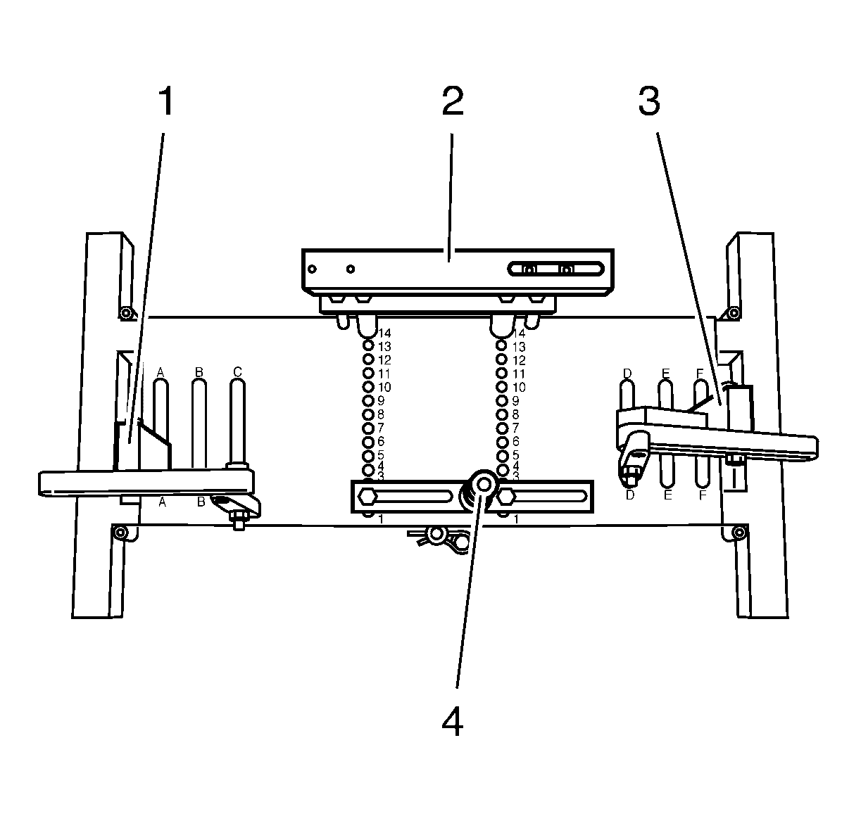
  27. Object Number: 2027509  Size: SH
  28. Place DT-47648 holder on CH-904 frame and preinstall the supports as shown in the illustration.
  29. Preinstall DT-47648-2 clutch housing support  (4) to position 3on the base plate.
  30. Preinstall DT-47648-4 transmission housing support  (2) to position  4 on the base plate.
  31. Preinstall DT-47648-5 left support with rear transmission swivel arm  (1) to position A on the base plate.
  32. Preinstall DT-47648-5 right support with front transmission swivel arm  (3) to position F on the base plate.

  33. Object Number: 2028253  Size: LH

    Note: Before placing in position slacken all bolt connections of the swivel arms and supports as far as the base plate. Adjust the supports for the converter housing and transmission housing using the spindles until they are as low as possible.

  34. Attach the DT-47648 holder to the transmission.
  35. Align DT-47648 holder under transmission.
  36. Attach swivel arms (1, 3) to transmission.
  37. Note: Align the swivel arms so that as little leverage as possible is created.

  38. Tighten the bolt connections of the swivel arms, starting from the transmission and going as far as the base plate.
  39. Position supports for clutch housing and transmission housing on transmission by twist up the spindles (2).
  40. Tighten bolt connections of the supports.

  41. Object Number: 2028275  Size: SH
  42. Remove the transmission bolts (1, 2, 3).
  43. Separate the transmission from the engine.
  44. Lower the transmission with the transmission jack and DT-47648 holder far enough to remove the transmission.

Installation Procedure

  1. Raise the transmission with the transmission jack and DT-47648 holder and position the transmission to the engine.
  2. Caution: Refer to Fastener Caution in the Preface section.


    Object Number: 2028275  Size: SH
  3. Install the transmission bolts (1, 2) and tighten to  75 N·m (56 lb ft).
  4. Install the transmission bolts (3) and tighten to  35 N·m (26 lb ft).

  5. Remove the transmission jack with the DT-47648 holder .
  6. Lower the vehicle.
  7. Raise the engine and the transmission on the left hand side with the EN-47649 support fixture .

  8. Object Number: 2027702  Size: SH
  9. Install the transmission mount bolts (1) but do not tighten yet.
  10. Raise the vehicle.
  11. Install the starter. Refer to Starter Motor Replacement.

  12. Object Number: 2027732  Size: SH
  13. Install the transmission mount bracket - rear and tighten the bolts (1) to  100 N·m (74 lb ft).

  14. Object Number: 2027716  Size: SH
  15. Install the transmission front mount (2) and tighten the bolts (1) to  100 N·m (74 lb ft).
  16. Connect the left front wheel drive shaft to the transmission. Refer to Front Wheel Drive Shaft Replacement - Left Side.
  17. Connect the right front wheel drive shaft to the transmission. Refer to Front Wheel Drive Shaft Replacement - Right Side.
  18. Install the drivetrain and front suspension frame. Refer to Drivetrain and Front Suspension Frame Replacement.
  19. Lower the vehicle.

  20. Object Number: 2027702  Size: SH
  21. Tighten the transmission mount bolts (1) to  62 N·m (46 lb ft).
  22. Remove the EN-47649 support fixture . Refer to Engine Support Fixture.

  23. Object Number: 2028269  Size: SH
  24. Install the upper transmission bolts (1) and tighten to  75 N·m (56 lb ft).

  25. Object Number: 2027601  Size: SH
  26. Connect the electrical connector (1) to the speedometer driven gear (2).
  27. Connect the electrical connector to the backup lamp switch.

  28. Object Number: 2028267  Size: SH

    Note: Clutch actuator cylinder front pipe must engage noticeably.

  29. Connect the clutch actuator cylinder front pipe (2) to the clutch actuator cylinder pipe elbow.
  30. Lock the clutch actuator cylinder front pipe retainer (1).

  31. Object Number: 2027902  Size: SH
  32. Connect the shift lever and selector lever cables to the shift control lever (2) and to the selector and shift lever cable bracket (1).
  33. Adjust the shift lever and selector lever cables. Refer to Manual Transmission Shift Lever and Selector Lever Cable Adjustment.
  34. Bleed the clutch hydraulic system. Refer to Hydraulic Clutch Bleeding.
  35. Inspect the transmission fluid level. Refer to Transmission Fluid Level Inspection.
  36. Install the battery tray. Refer to Battery Tray Replacement.
  37. Road test the vehicle.