GM Service Manual Online
For 1990-2009 cars only
Makes
🢒
Chevrolet
🢒
2004
🢒
Epica
🢒
Engine
🢒
Engine Cooling
🢒 Cooling System Component Views
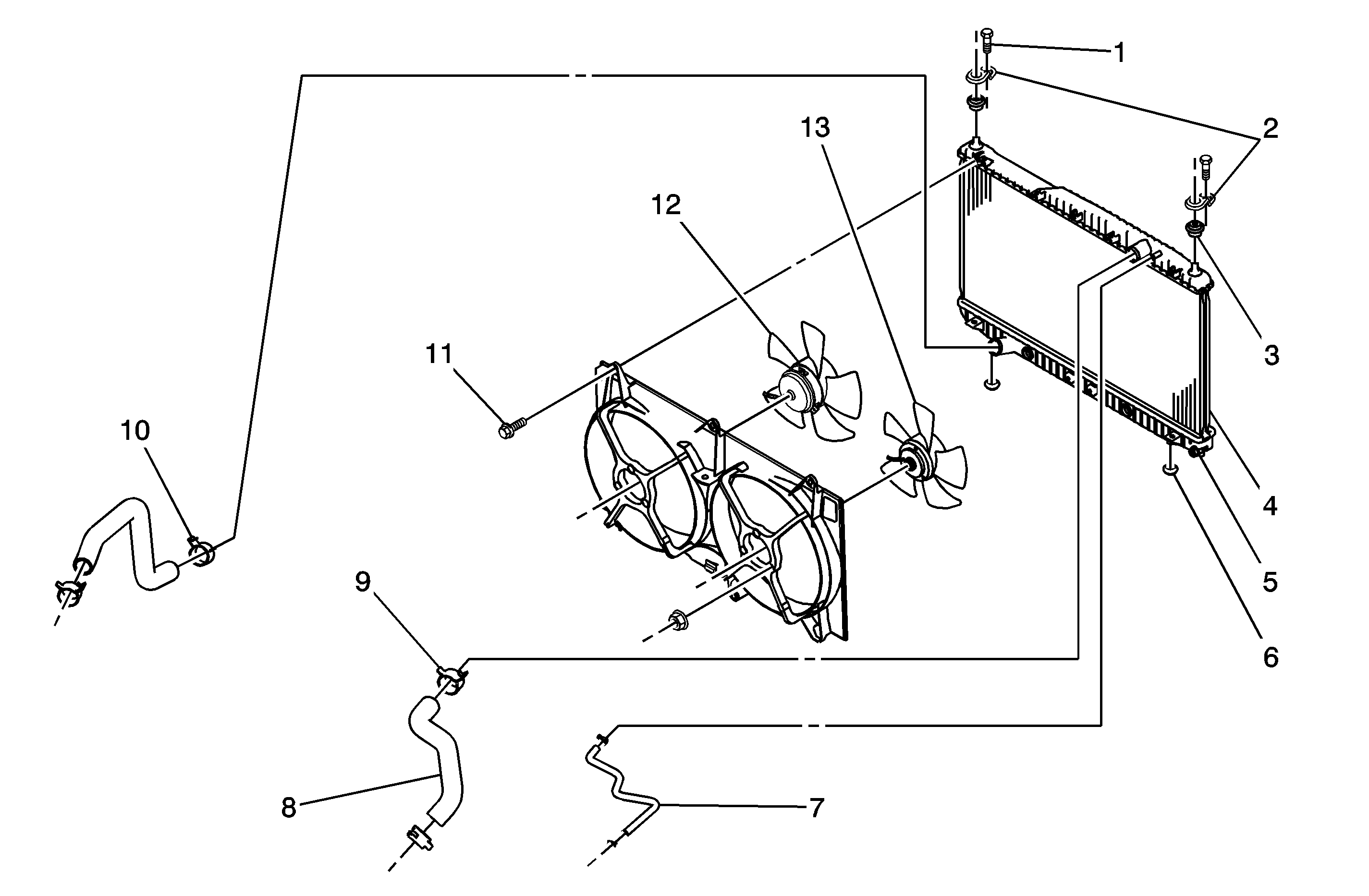
Figure
1:
Radiator and Fan - 2.0L and 2.5L Gasoline Engines
(1)
Radiator Retaining Bolts
(2)
Radiator Bracket
(3)
Upper Radiator Bumper
(4)
Radiator
(5)
Drain Plug
(6)
Radiator Bumper
(7)
Radiator Surge Tank Hose
(8)
Upper Radiator Hose
(9)
Spring Clamp
(10)
Spring Clamp
(11)
Fan Assembly Mounting Bolts
(12)
Cooling Fan - Main
(13)
Cooling Fan - Auxiliary
Figure
2:
Coolant Pump/Thermostat - 2.0L Gasoline Engine
(1)
O-Ring Seal
(2)
Thermostat
(3)
Thermostat Housing Mounting Bolt
(4)
Thermostat Housing
(5)
Coolant Pump Mounting Bolt
(6)
Coolant Pump
(7)
Ring Seal
Figure
3:
Coolant Pump/Thermostat - 2.5L Gasoline Engine
(1)
Coolant Pump Mounting Bolt
(2)
Thermostat
(3)
Thermostat Seal Ring
(4)
Coolant Pump
(5)
Coolant Pump Rubber Seal
(6)
Coolant Outlet Port
(7)
Coolant Outlet Port Gasket