GM Service Manual Online
For 1990-2009 cars only

Removal Procedure

    Caution: Refer to Relieving Fuel Pressure Caution in the Preface section.

  1. Remove the Fuel Sender Assembly. Refer to Fuel Sender Assembly Replacement .

  2. Object Number: 1539061  Size: SH
  3. Disconnect the insulator connector.

  4. Object Number: 1539063  Size: SH
  5. Push the terminal wedge (1) in the insulator connector.

  6. Object Number: 1539066  Size: SH
  7. Push the wedge (1) outside and then pull the wires to disconnect from the insulator.

  8. Object Number: 1539069  Size: SH
  9. Remove the fuel level sensor (1) from the sender housing (2).
  10. Remove the sender housing (2).

  11. Object Number: 1539071  Size: SH
  12. Remove the fuel level sensor (1).

Installation Procedure


    Object Number: 1539072  Size: SH
  1. Wind the wires (1) to the fuel level sensor (2).

  2. Object Number: 1539073  Size: SH

    Important: Failure to install the fuel level sensor correctly will result in inaccurate fuel gage reading.

  3. Install the fuel level sensor onto the fuel sender assembly (1).
  4. Important: Failure to install the fuel level sensor correctly will result in inaccurate fuel level warning lamp operation.


    Object Number: 1539074  Size: SH
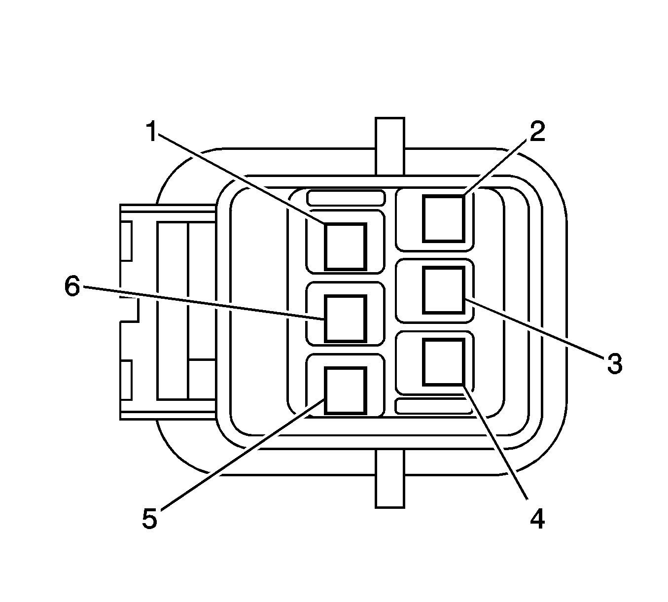
  5. Connect the wires into the insulator connector as follows:
  6. • Connect wire (1), Red
    • Connect wire (2), Blue
    • Connect wire (3), Gray
    • Connect wire (4), Yellow
    • Connect wire (5), Blue
    • Connect wire (6), Black

    Object Number: 1539061  Size: SH
  7. Connect the insulator connector.
  8. Install the fuel sender assembly. Refer to Fuel Sender Assembly Replacement .