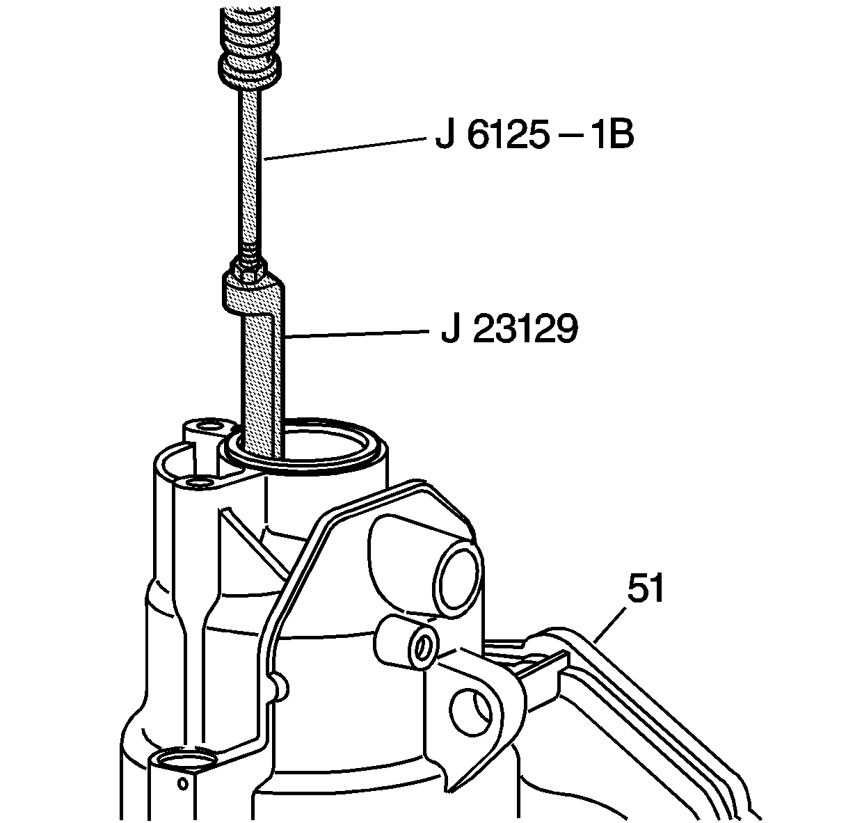
Notice: Do not damage the case bore when removing the axle seal.
Assemble J 23129 onto J 6125-1B . Use J 6125-1B and J 23129 to remove the axle seal.