GM Service Manual Online
For 1990-2009 cars only
Makes
🢒
Chevrolet
🢒
2004
🢒
Epica
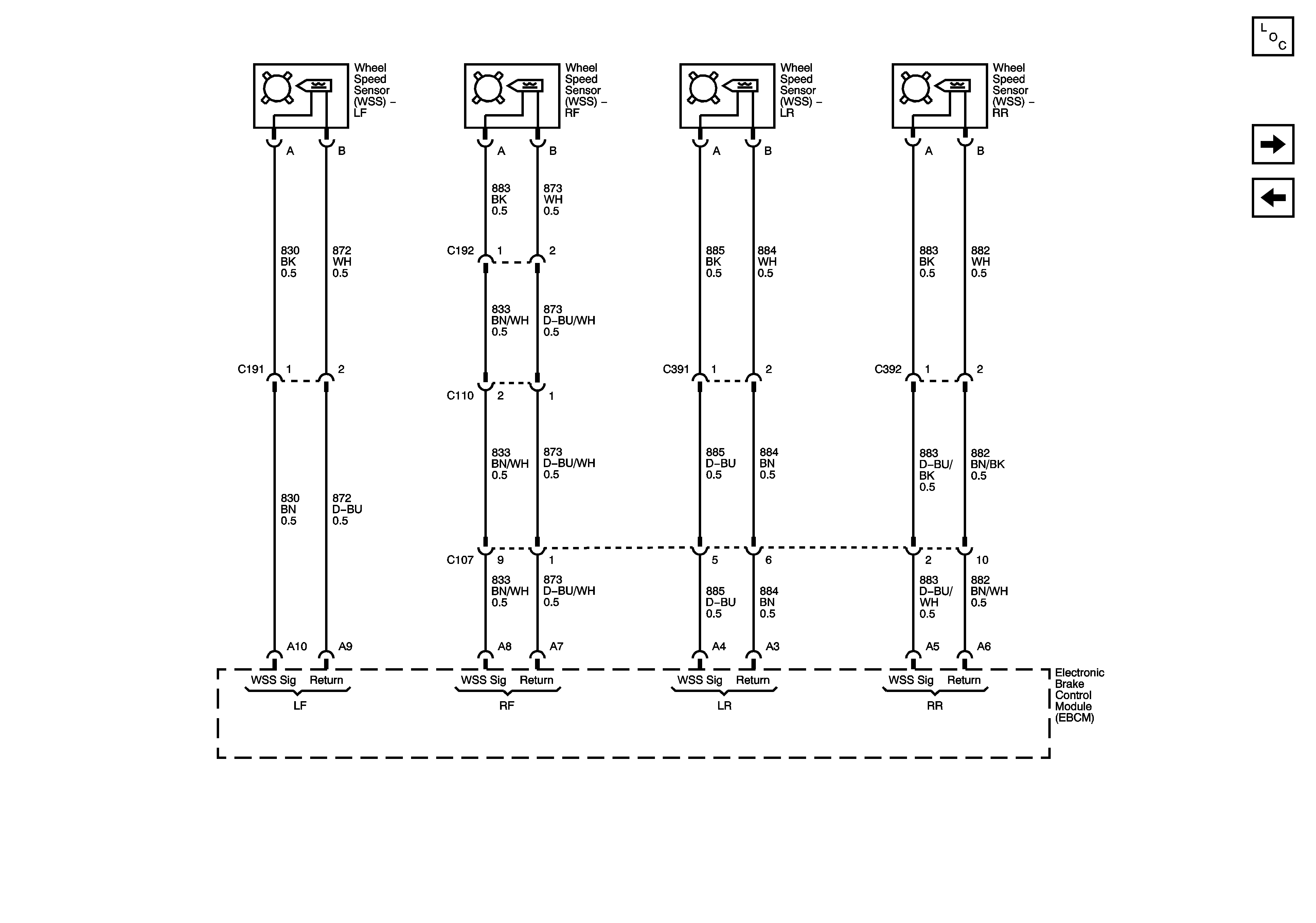
🢒 Wheel Speed Sensors, Electronic Brake Control Module (EBCM)
Wheel Speed Sensors, Electronic Brake Control Module (EBCM)
Wheel Speed Sensors, Electronic Brake Control Module (EBCM)
Master Electrical Component List
Traction Control System (TCS) Switch, Serial Data
Power Ground, Warning Lamps, Stop Lamp Switch