|
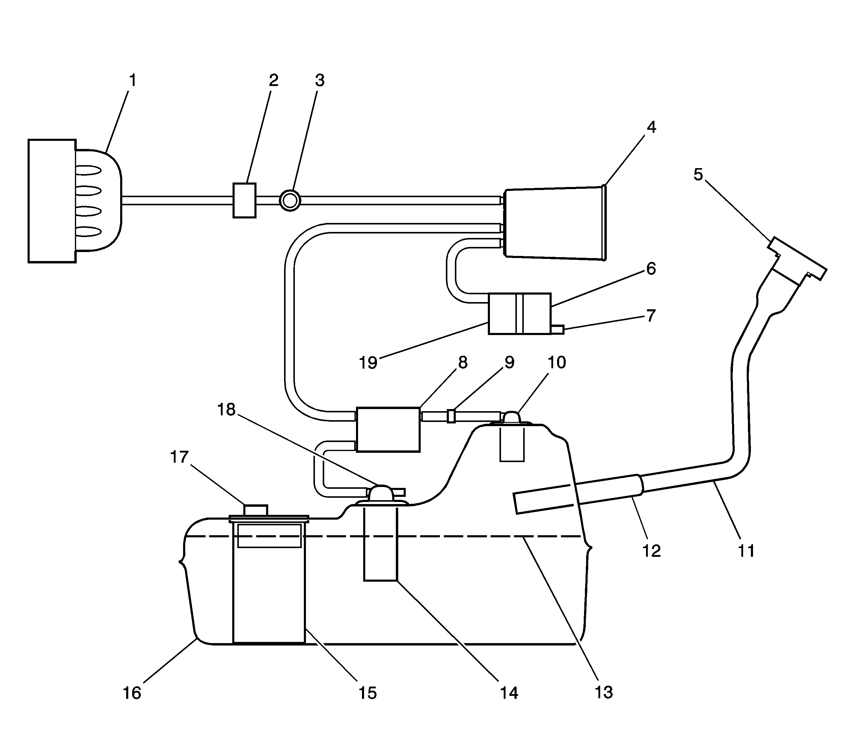
| (1) | Intake Manifold |
| (2) | EVAP Canister
Purge SoleAnoid Valve |
| (3) | Service Port |
| (4) | EVAP Canister |
| (5) | Fuel Filler
Cap (Pressure-Vacuum Relief) |
| (6) | EVAP Canister
Vent Solenoid Valve |
| (7) | Fresh Air |
| (8) | Liquid Trap |
| (9) | Rollover
Valve |
| (10) | 2-Way Check
Valve |
| (11) | Fuel Filler
Tube (Dynamic Seal During Fill) |
| (12) | Check
Valve |
| (13) | Fuel Level |
| (14) | Fuel Fill
Vent Control Valve and Liquid-Vapor Discriminator |
| (15) | At Shut
Off |
| (16) | Fuel Tank-Steel |
| (17) | Fuel Tank
Pressure Sensor |
| (18) | Pressure Relief
Valve |
| (19) | Air Filter |