GM Service Manual Online
For 1990-2009 cars only

Front Panel


Object Number: 1309744  Size: LF

Points

Dimensions (mm)

Dimensions (in)

Important: Reference dimensions show the distance between the center of positioning holes shown in illustrations.

A

1,463

57.6

B

1,094

43.1

C

499

19.6

D

648

25.5

E

1,211

47.7

F

1,345

53.0

G

1,514

59.6

H

1,298

51.1

I

916

36.0

J

1,106

43.5

K

1,146

45.1

Engine Compartment (1 of 3)


Object Number: 1309745  Size: LF

Points

Dimension (mm)

Dimension (in)

Important: Reference dimensions show the distance between the center of positioning holes shown in illustrations.

A

1,551

61.1

B

1,471

58.0

C

1,292

50.9

D

1,232

48.5

E

1,162

45.7

F

1,041

41.0

G

925

36.4

H

1,232

48.5

I

864

34.0

J

1,028

40.5

K

1,345

53.0

L

1,441

56.7

M

1,463

57.6

N

1,470

57.9

Engine Compartment (2 of 3)


Object Number: 1309746  Size: LF

Points

Dimension (mm)

Dimension (in)

Important: Reference dimensions show the distance between the center of positioning holes shown in illustrations.

A

899

35.4

B

1,159

45.6

C

923

36.3

D

956

37.6

E

1,696

66.8

F

1,154

45.4

G

740

29.1

Engine Compartment (3 of 3)


Object Number: 1308710  Size: LF

Points

Dimension (mm)

Dimension (in)

Important: Reference dimensions show the distance between the center of positioning holes shown in illustrations.

A

538

21.2

B

760

29.9

C

1,635

64.4

D

1,361

53.6

E

830

32.7

Back Panel Lower


Object Number: 1308711  Size: LF

Points

Dimension (mm)

Dimension (in)

Important: Reference dimensions show the distance between the center of positioning holes shown in illustrations.

A

1,083

42.6

B

1,390

54.7

C

1,039

41.0

D

536

21.1

E

896

35.3

F

1,418

55.9

Side Outer


Object Number: 1308713  Size: MF

Points

Dimension (mm)

Dimension (in)

Important: Reference dimensions show the distance between the center of positioning holes shown in illustrations.

A

375

14.8

B

1,044

41.1

C

1,098

43.2

D

1,117

44.0

E

1,018

40.1

F

1,243

49.0

G

1,058

41.7

H

753

29.6

I

553

21.8

J

1,034

40.7

Windshield and Rear Glass


Object Number: 1308714  Size: LF

Points

Dimension (mm)

Dimension (in)

Important: Reference dimensions show the distance between the center of positioning holes shown in illustrations.

A

1,354

53.3

B

1,468

57.8

C

1,457

57.7

D

698

27.5

E

1,093

43.0

F

1,045

41.1

G

1,337

52.6

H

682

26.9

I

1,265

50.0

J

1,251

49.3

Gap Chart - Front/Rear


Object Number: 1308718  Size: MF

Description

Location

Gap

Description

Location

Gap

Radiator Grille - Bumper

A

5.0 + 2.0, 0 mm (0.19 + 0.08 in)

Trunk Lid - Bumper

R

5.0 + 2.0, 0 mm (0.19 + 0.08 in)

Engine Hood - Radiator Grille

B

--

Trunk Lid - Tail lamp

S

3.8 + 1.0, 0 mm (0.15 + 0.039 in)

Engine Hood - Bumper

C

5.0 +2.0, 0 mm (0.19 + 0.08 in)

Side Outer - Trunk Lid

T

3.0 + 1.0, 0 mm (0.118 + 0.039 in)

Engine Hood - Headlamp

D

4.5 + 1.0, -0.5 mm (0.18 + 0.039, 0.019 in)

Side Outer - Taillamp

U

2.5 + 1.0, 0 mm (0.098 + 0.039 in)

Headlamp - Bumper

E

3.5 ± 1.0 mm (0.14 ± 0.039 in)

Tail lamp - Bumper

V

2.0 ± 1.0 mm (0.08 ± 0.039 in

Fender - Headlamp

F

3.5 ± 1.0 mm (0.14 ± (0.039 in)

Side Outer - Bumper

W

0 mm (0 in)

Fender - Bumper

G

0 mm (0 in)

Trunk Lid - Rear Garnish

X

1.5 ± 0.5 mm (0.06 ± 0.019 in)

Fender - Engine Hood

H

3.0 + 0.1, -0.5 mm (0.118 + 0.039, 0.019 in)

--

--

--

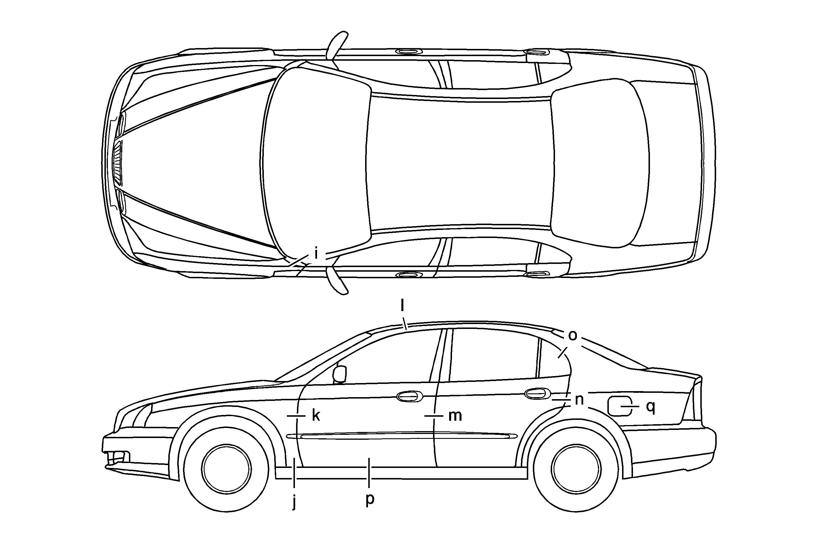
Gap Chart - Side


Object Number: 1308720  Size: MF

Description

Location

Gap

Description

Location

Gap

Front Pillar - Fender

I

3.0 + 1.0, -0.5 mm ( 0.118 + 0.039, 0.019 in)

Side Outer - Rear Door

N

3.5 + 1.0 mm (0.148 + 0.039 in)

Fender - Locker Panel

J

5.0 ± 1 mm (0.200 ± 0.039 in)

Side Outer - Fixed Glass

O

4.6 ± 1 mm (0.18 ± 0.039 in)

Front Door - Fender

K

3.0 + 1.0, 0.5 mm (0.118 + 0.019 in)

Door - Locker Panel

P

5.0 ± 1 mm (0.190-0.039 in)

Side Outer - Door

L

4.6 ± 1 mm (0.18 ± 0.039 in)

Side Outer - Fuel Pillar Door

Q

4.0 ± 0.3 mm (0.16 ± 0.11 in)

Front Door - Rear Door

M

4.0 + 1.0, 0 mm (0.16 + 0.039 in)

-

-

-