GM Service Manual Online
For 1990-2009 cars only

Important: Remember to remove all paint and other impurities from the surface of the material you intend to weld for reliable results.

Spot welding is also known as resistance spot welding and it is the most suitable method of welding for automobiles. It has 3 main features:

    • The welding can be performed instantaneously
    • It exercises very little effect on the original material
    • It reduces the generation of distortion to the absolute minimum

Welding Conditions


Object Number: 1309731  Size: SF

Caution: To avoid personal injury when exposed to welding flashes or to galvanized (Zinc Oxide) metal toxic fumes while grinding/cutting on any type of metal or sheet molded compound, you must work in a properly ventilated area, wearing an approved respirator, eye protection , earplugs, welding gloves, and protective clothing.

When performing spot welding (3), make absolutely sure that you conform to the conditions governed by the current (2), conductivity time (1), welding pressure, holding time, and shutdown time recommended for the spot welder.

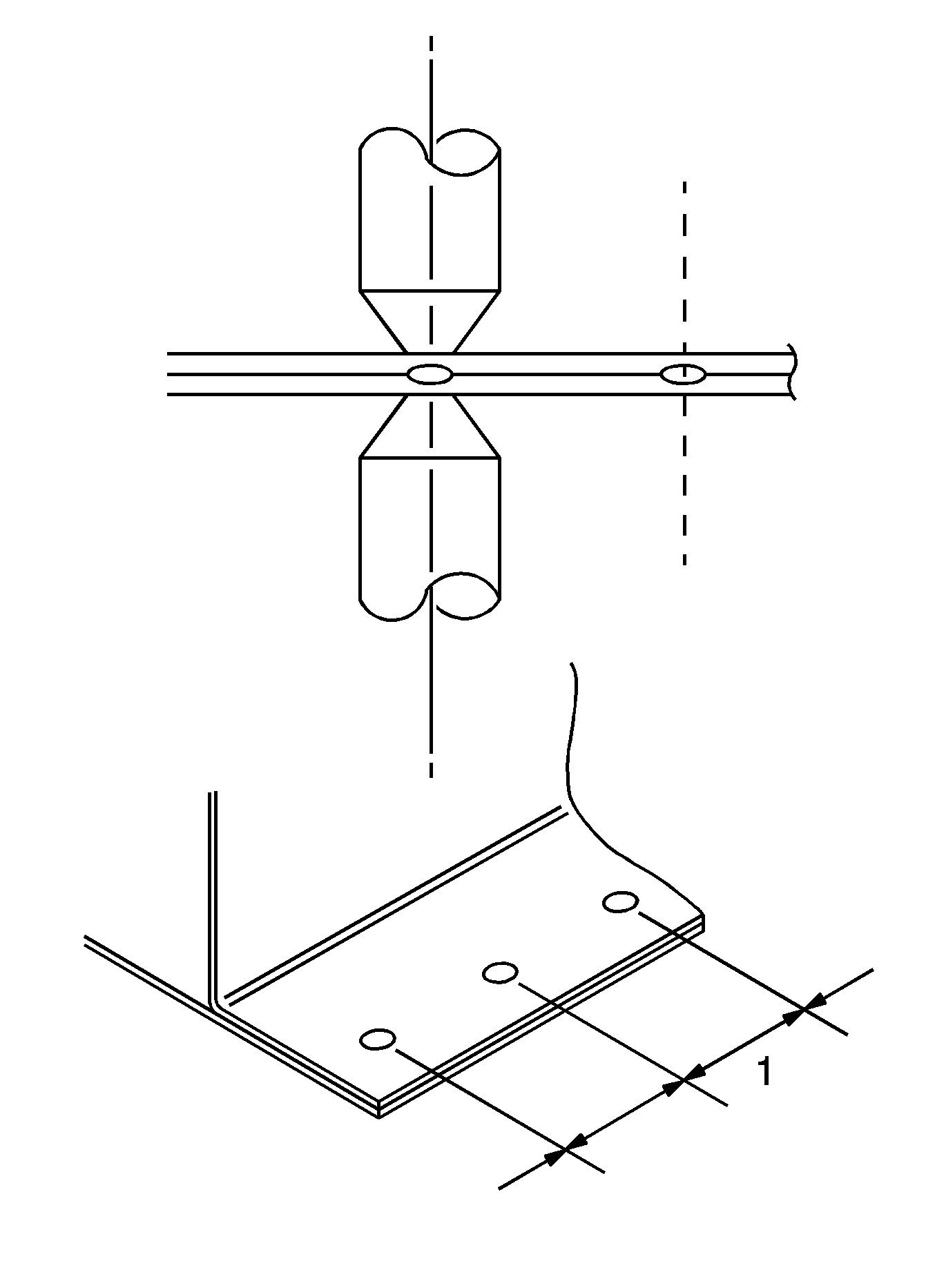
Plate Thickness and Minimum Welding Pitch


Object Number: 1309730  Size: MH

Important: Before welding, note plate thickness and minimum welding pitch.

When the welding intervals (1) are too small, this leads to branching, making it impossible to maintain the desired soldering state.

Plate Thickness

0.6 mm

0.024 in

0.9 mm

0.035 in

1.2 mm

0.047 in

1.6 mm

0.063 in

Minimum Intervals

11 mm

0.433 in

16 mm

0.630 in

20 mm

0.787 in

24 mm

0.944 in

Plate Thickness and Tip Diameter


Object Number: 1309703  Size: SH

Important: Before welding, note plate thickness and tip diameter (1).

Plate Thickness

0.6 mm

0.024 in

0.9 mm

0.035 in

1.2 mm

0.047 in

1.6 mm

0.063 in

Minimum Tip Diameter

4.5 mm

0.177 in

5.0 mm

0.197 in

5.5 mm

0.217 in

6.0 mm

0.236 in

Welding Strength Test


Object Number: 1257334  Size: MF

Even if you perform the welding in accordance with the conditions, the strength of the welded sections may fluctuate widely with drops in the voltage and other factors. The quality of the welding cannot be evaluated unless the welded sections are destroyed.

Provide yourself with a steel plate of the same thickness and conduct a destruction test.

    • If holes appear in the steel plate (1), this means that the welding is standard strength.

Specification
The standard strength is 6-9 mm (0.24-0.35 in).

    • If holes appear in the steel plate (4), this means that the welding is standard strength.

Specification
The standard strength is 30 mm (1.18 in).

    • Drive a wedge (2) between 2 panels near the nugget. If the welded parts do not come apart and the diameter of the nugget (3) appears more than 3 mm, the welding should be satisfactory.

Important: It is difficult to perform spot welding in the following circumstances.

   • When it is not possible to remove any rust or paint attached to the welding surfaces.
   • When the tip of the spot welder cannot be inserted into the welding section.
   • When the welding surfaces can be seen from the outside and welding will impair the exterior appearance.

In all these cases, it is recommended that the gas welding method be employed. However, if it is not possible to perform spot welding because of space restrictions, plug welding based on the arc welding method may be performed instead. Here the welding sections must be close together.

Gas Welding

Caution: To avoid personal injury when exposed to welding flashes or to galvanized (Zinc Oxide) metal toxic fumes while grinding/cutting on any type of metal or sheet molded compound, you must work in a properly ventilated area, wearing an approved respirator, eye protection , earplugs, welding gloves, and protective clothing.

Gas welding is indispensable for body repair because of the broad range of its applications from joining the body panels, cutting the materials that construct the body and applying heat to reform panels and also because it is easy to get hold of the tools. However, this method requires experience.

The illustration is an example of how not to perform gas welding, avoid operations like the following:


Object Number: 1309704  Size: SH
    • Welding the bending angle of a flange (1).
    • Melting the finger end of a flange (2).

Gas Welder and Welding Methods


Object Number: 1257335  Size: MF
(1)Gas Adjuster
(2)Cutter
(3)Welder
(4)Oxygen/Acetylene Tanks
(5)Butt Welding
(6)Fillet Welding or Soldering
(7)Drilling and Plug Welding

Carbon Dioxide Arc Welder (MIG ARC Welding)

Caution: To avoid personal injury when exposed to welding flashes or to galvanized (Zinc Oxide) metal toxic fumes while grinding/cutting on any type of metal or sheet molded compound, you must work in a properly ventilated area, wearing an approved respirator, eye protection , earplugs, welding gloves, and protective clothing.

This welding process uses inexpensive carbon dioxide instead of expensive inert gases as a shielding means. Consumable metal electrodes are employed. It has a wide range of applications, including butt welding of thin plate, fillet welding, plug welding, and MIG spot welding. In terms of the weld strength, it is also highly stable.

Carbon Dioxide ARC Welder and Welding Methods


Object Number: 1257336  Size: MF
(1)Single Phase 110V/Three Phase 200-240V
(2)Gas Regulator
(3)Carbon Dioxide or Argon and Carbon Dioxide
(4)Welding Power Supply (Built in Wire Feed Mechanism)
(5)Welding Torch
(6)Work Piece
(7)Work Cable
(8)Ground Wire
(9)Input Cable
(10)Gas Hose
(11)Butt Weld
(12)Fillet Weld
(13)Spot Weld
(14)Plug Weld