GM Service Manual Online
For 1990-2009 cars only

Removal Procedure


    Object Number: 1255694  Size: SH
  1. Remove the master cylinder. Refer to Master Cylinder Replacement .
  2. Remove the clamp on the vacuum hose connection to the booster.
  3. Remove the vacuum hose from the booster. Refer to Vacuum Brake Booster Check Valve and/or Hose Replacement .

  4. Object Number: 1255695  Size: SH
  5. Disconnect the brake stop lamp switch. Refer to Stop Lamp Switch Replacement .
  6. Remove the brake pedal spring.
  7. Disconnect the clip and remove the pushrod pin from the pedal bracket assembly.

  8. Object Number: 1255696  Size: SH
  9. Remove the booster mounting nuts from the studs protruding from the dash panel, and remove the booster.
  10. Remove and discard the gasket.

  11. Object Number: 1255697  Size: SH
  12. Remove the pushrod clevis.

  13. Object Number: 1255699  Size: SH
  14. Remove the hex nut from the pushrod.

  15. Object Number: 1255700  Size: SH
  16. Remove the spring clip.

  17. Object Number: 1255701  Size: SH
  18. Remove the rubber boot and the packings.
  19. Discard the rubber boot, if deteriorated, and discard the packings.

Installation Procedure


    Object Number: 1255701  Size: SH
  1. Inspect the pushrod and the pushrod clevis for damage and proper fit.
  2. Install the new foam rubber and fiber packings, and install the new rubber boot on the booster shaft.

  3. Object Number: 1255700  Size: SH
  4. Install the spring clip.
  5. Notice: Refer to Fastener Notice in the Preface section.


    Object Number: 1255702  Size: SH
  6. Install the hex nut and the pushrod clevis.
  7. Tighten

        • Tighten the booster pushrod hex nut to 18 N·m (13 lb ft).
        • Tighten the pushrod clevis to 18 N·m (13 lb ft).

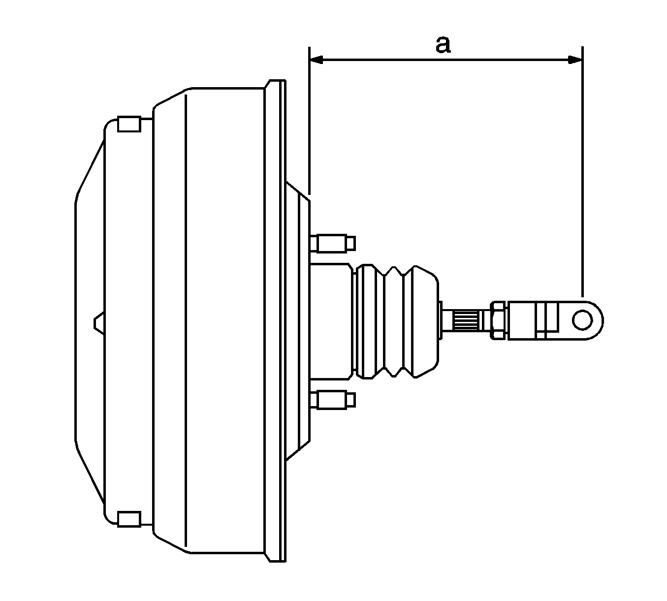
    Object Number: 1255703  Size: SH

    Important: This measurement should be 141.7 mm (5.58 in) (a).

  8. Measure the distance from the booster to the center of the fork bin bore.

  9. Object Number: 1255696  Size: SH
  10. Install the new gasket.
  11. Install the booster and the mounting nuts to the dash panel.
  12. Tighten
    Tighten the booster-to-dash panel nuts to 22 N·m (16 lb ft).


    Object Number: 1255694  Size: SH
  13. Install the master cylinder onto the booster. Refer to Master Cylinder Replacement .
  14. Install the new vacuum hose to the booster. Refer to Vacuum Brake Booster Check Valve and/or Hose Replacement .
  15. Install the hose clamp on the vacuum hose.

  16. Object Number: 1255695  Size: SH
  17. Install the pushrod pin to the brake pedal bracket assembly and connect the clip and the spring.
  18. Connect the brake stop lamp switch. Refer to Stop Lamp Switch Replacement .