GM Service Manual Online
For 1990-2009 cars only
Makes
🢒
Chevrolet
🢒
2006
🢒
Epica
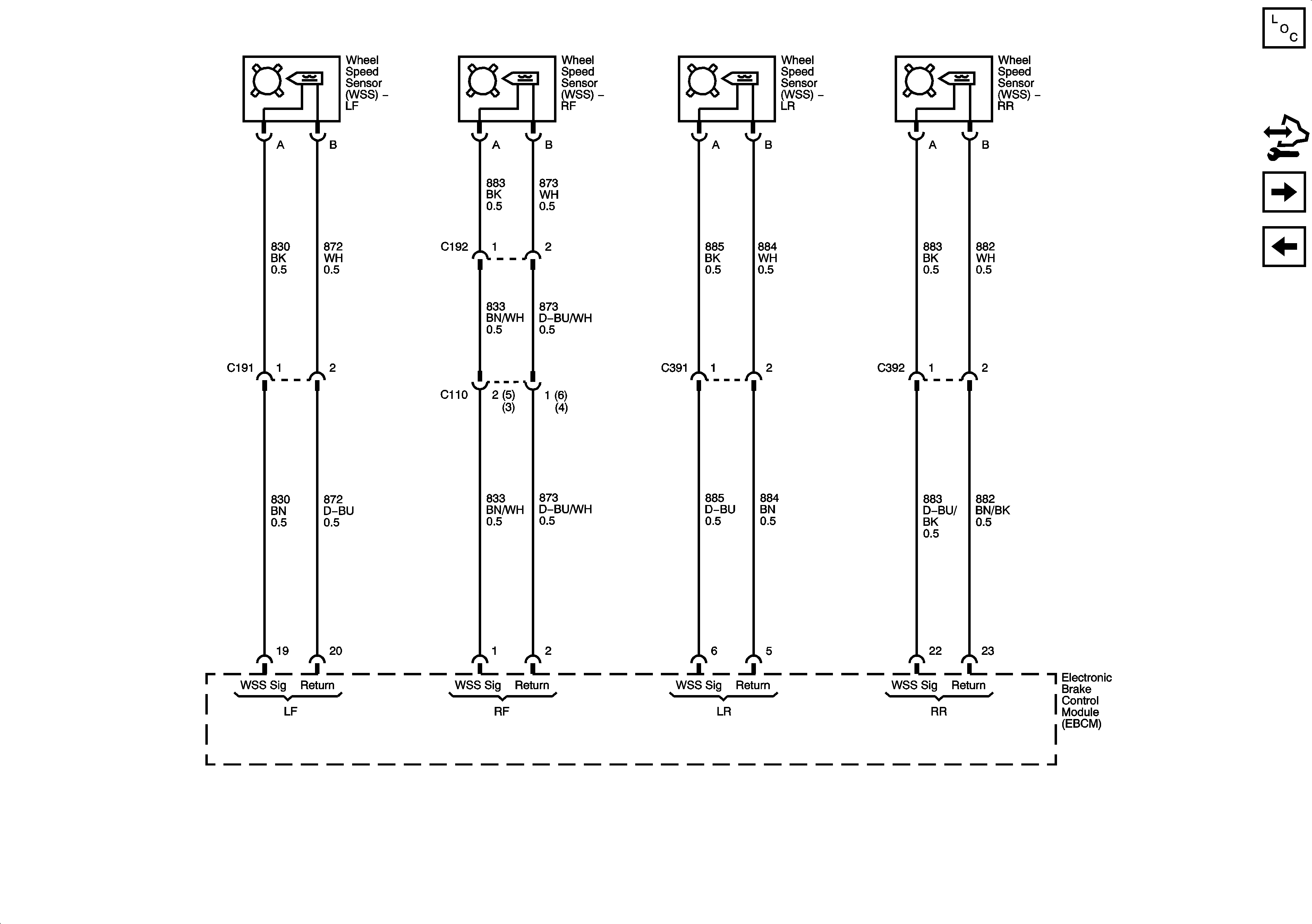
🢒 Wheel Speed Sensors
Wheel Speed Sensors
Wheel Speed Sensors
Master Electrical Component List
Serial Data, CAN Resistor, Oil Feeding Connector
EBCM, Power, Ground, Indicator Lamps, Stop Lamp Switch, Traction Control Switch