GM Service Manual Online
For 1990-2009 cars only
Figure 1:

Clutch Housing Components


Object Number: 1861996  Size: LF
(1)Clutch Housing
(2)Roller Bearing
(3)Outer Roller Bearing
(4)Bolt
(5)Shaft Seal Ring
(6)Manual Shaft Detent
(7)O-ring
(8)Thrust Bearing Guide
(9)Bolt
(10)Bushing
(11)Release Lever
(12)Thrust Clutch Bearing
(13)Clutch Release Fork
(14)Bolt
(15)Groove Ball Bearing
(16)Ring
(17)Retainer Plug
(18)Oil Pipe
(19)Sealing Plug
(20)Roller Bearing
(21)Speedometer Driven Gear
(22)O-ring
(23)Bolt
(24)Cable Bracket
(25)Washer
(26)Bolt
(27)Bolt
(27)Bolt
(27)Bolt
Figure 2:

Transaxle Housing Components


Object Number: 1861999  Size: LF
(1)Transaxle Housing
(2)Groove Ball Bearing
(3)Groove Ball Bearing
(4)Needle Sleeve
(5)Bearing
(6)Coiled Pin
(7)Shaft Seal Ring
(8)Dowel Pin
(9)Oil Plug
(9)Oil Plug
(10)Reverse Shifting Blocker
(11)Torsion Spring
(12)Pin
(13)Screw
(14)Manual Shaft Detent
(14)Manual Shaft Detent
(14)Manual Shaft Detent
(15)Magnet
(16)Bolt
(16)Bolt
(17)Drain Channel
(18)Transaxle Rear Cover
(19)Oil Pipe
(20)Bolt
(21)Retainer Plug
(21)Retainer Plug
(22)Washer
(23)Backup Lamp Switch
(24)Bolt
(25)Idle Shift Rail
(26)Bushing
Figure 3:

Shaft Assembly and Shift Fork


Object Number: 1862004  Size: LF
(1)Input Shaft Assembly
(2)Output Shaft Assembly
(3)Interm Shaft
(4)1st/2nd Shift Fork
(5)3rd/4th Shift Fork
(6)5th/Reverse Shift Fork
Figure 4:

Interm Shaft Components


Object Number: 1862015  Size: LF
(1)Interm Shaft
(2)Needle Bearing
(3)2nd Speed Gear
(4)2nd Gear Inner Cone
(5)2nd Gear Blocking Ring
(6)2nd Gear Outer Cone
(7)1st/2nd Synchronizer Assembly
(8)Synchronizer Key
(9)Compression Spring
(10)Ball
(11)1st Gear Outer Cone
(12)1st Gear Blocking Ring
(13)1st Gear Inner Cone
(14)Thrust Washer
(15)Bearing Collar
(16)Roller Bearing
(17)1st Speed Gear
(18)Roller Bearing
(19)Thrust Washer
Figure 5:

Input Shaft Components


Object Number: 1862019  Size: LF
(1)Input Shaft
(2)5th Gear
(3)Thrust Bearing
(4)Needle Bearing
(5)3rd Speed Gear
(6)Thrust Bearing
(7)Thrust Washer
(8)3rd Gear Blocking Ring
(9)3rd/4th Synchronizer Assembly
(10)Synchronizer Key
(11)Compression Spring
(12)Ball
(13)4th Gear Blocking Ring
(14)Bearing Collar
(15)Needle Bearing
(16)4th Speed Gear
(17)Thrust Washer
Figure 6:

Output Shaft Components


Object Number: 1862052  Size: LF
(1)Output Shaft
(2)Thrust Bearing
(3)Bearing Collar
(4)Needle Bearing
(5)Reverse Gear
(6)Reverse Blocking Ring
(7)5th/Reverse Synchronizer Assembly
(8)Synchronizer Key
(9)Compression Spring
(10)Ball
(11)5th Gear Blocking Ring
(12)Bearing Collar
(13)Needle Bearing
(14)5th Speed Gear
(15)3rd Gear
(16)4th Gear
Figure 7:

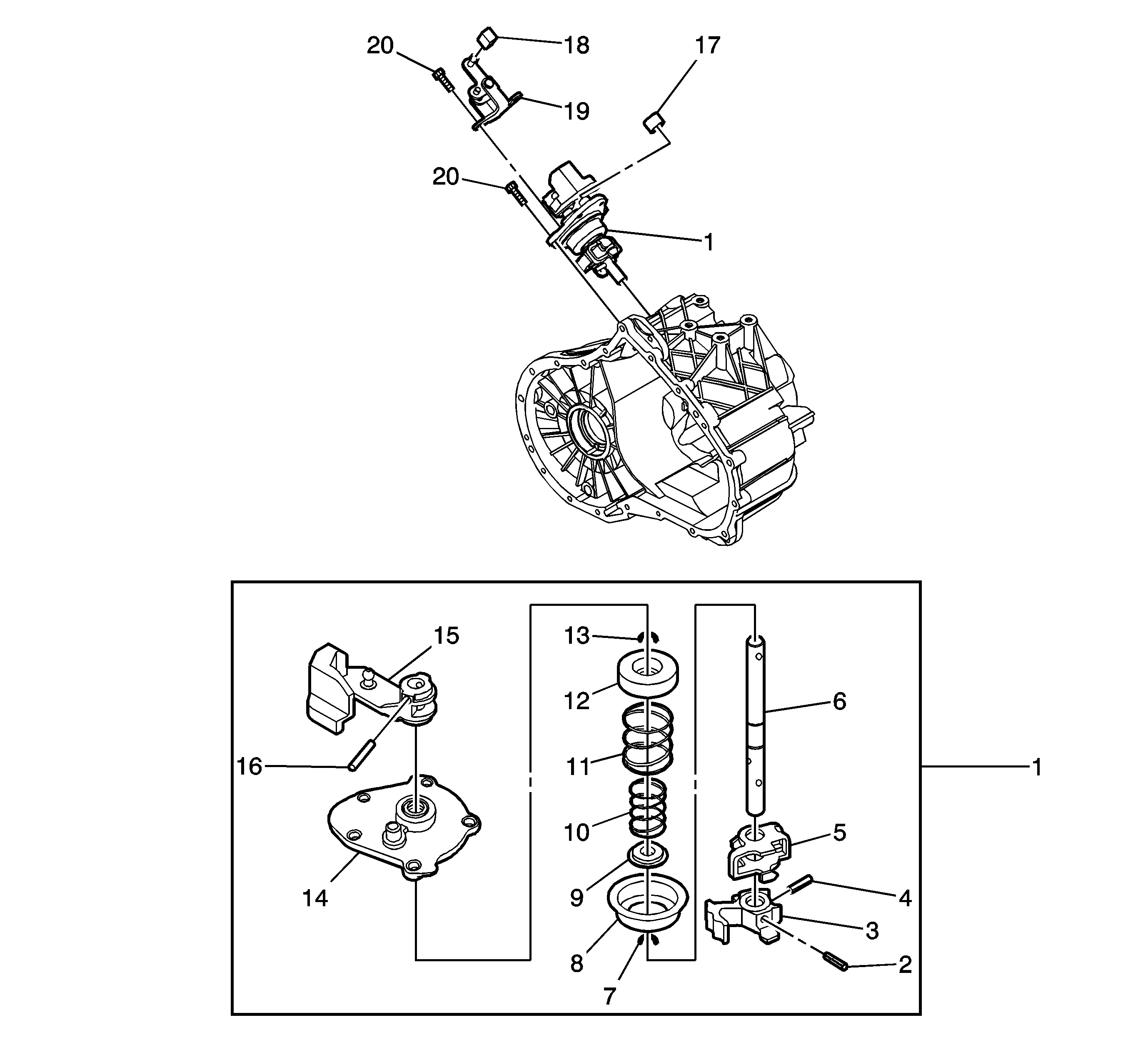
Shift Shaft Components


Object Number: 1862072  Size: LF
(1)Shift Shaft Assembly
(1)Shift Shaft Assembly
(2)Coiled Pin
(3)Shift Finger
(4)Coiled Pin
(5)Shift Interlock
(6)Shift Rod
(7)Snap Ring
(8)Outer Spring Seat
(9)Angle Disc
(10)1st/2nd Pressure Spring
(11)5th/Reverse Pressure Spring
(12)Inner Spring Seat
(13)Snap Ring
(14)Gear Shift Cover
(15)Shift Lever
(16)Coiled Pin
(17)Vent Cap
(18)Sliding Key
(19)Select Control Lever
(20)Bolt
(20)Bolt
Figure 8:

Differential Gear


Object Number: 1862073  Size: LF
(1)Differential Gear
(2)Differential Bearing Race
(2)Differential Bearing Race
(3)Shim
(3)Shim
Figure 9:

Gear Shift Control


Object Number: 1862074  Size: LF
(1)Shift Control Lever Housing
(2)Bolt
(3)Shift Control Cable
(4)Clip
(4)Clip