GM Service Manual Online
For 1990-2009 cars only
Connector 1: A/C Compressor Clutch
Connector 2: A/C Refrigerant Pressure Sensor
Connector 3: Accelerator Pedal Position (APP) Sensor (LBM/LBK)
Connector 4: Accelerator Pedal Position Sensor (LLW)
Connector 5: Air Temperature Actuator
Connector 6: Ambient Air Temperature Sensor (C68)
Connector 7: Ashtray Lamp
Connector 8: Automatic Transmission (M98)
Connector 9: Automatic Transmission (MH7/MH8)
Connector 10: Automatic Transmission Control Indicator (MH7/MH8)
Connector 11: Automatic Transmission Shift Lever (M98)
Connector 12: Auxiliary Power Outlet
Connector 13: Backup Lamp - Left
Connector 14: Backup Lamp - Right
Connector 15: Backup Lamp Switch (MFB/MFN)
Connector 16: Blower Motor
Connector 17: Blower Motor Resistor (C60/C66)
Connector 18: Blower Motor Switch (C60/C66)
Connector 19: Body Control Module X1
Connector 20: Body Control Module X2
Connector 21: Body Control Module X3
Connector 22: Body Control Module X4
Connector 23: Body Control Module X5
Connector 24: Boost Pressure Actuator (LLW)
Connector 25: Boost Pressure Sensor (LLW)
Connector 26: Brake Fluid Level Switch
Connector 27: Camshaft Position (CMP) Sensor
Connector 28: CAN Test Connector (MH7/MH8)
Connector 29: Center Dome Lamp
Connector 30: Center High Mounted Stop Lamp (CHMSL)
Connector 31: Cigar Lighter
Connector 32: Clock
Connector 33: Clutch Switch (LBM/LBK w/MFB/MFN)
Connector 34: Cooling Fan - Auxiliary
Connector 35: Cooling Fan - Main
Connector 36: Crankshaft Position (CKP) Sensor
Connector 37: Data Link Connector (DLC)
Connector 38: Diesel Particulate Filter Pressure Sensor (LLW)
Connector 39: Diode
Connector 40: Door Latch Switch - Driver
Connector 41: Door Latch Switch - Left Rear
Connector 42: Door Latch Switch - Passenger
Connector 43: Door Latch Switch - Right Rear
Connector 44: Door Lock Actuator - Driver
Connector 45: Door Lock Actuator - Left Rear
Connector 46: Door Lock Actuator - Passenger
Connector 47: Door Lock Actuator - Right Rear
Connector 48: Door Step Lamp - Driver
Connector 49: Door Step Lamp - Passenger
Connector 50: Door Tamper Switch - Driver
Connector 51: Door Tamper Switch - Passenger
Connector 52: Driver Information Center (DIC)
Connector 53: Electronic Brake Control Module (EBCM) (JL9/NW9)
Connector 54: Electronic Brake Control Module (EBCM) (F45)
Connector 55: Electronic Brake Control Module (EBCM) (JL9/NW9-F45)
Connector 56: Electronic Stability Control Switch (F45)
Connector 57: Engine Control Module (ECM) X1
Connector 58: Engine Control Module (ECM) X2
Connector 59: Engine Coolant Temperature (ECT) Sensor (LBK/LBM)
Connector 60: Engine Coolant Temperature (ECT) Sensor (LLW)
Connector 61: Evaporative Emissions (EVAP) Canister Purge Solenoid Valve (LBK/LBM)
Connector 62: Evaporative Emissions (EVAP) Canister Vent Solenoid Valve (LBK/LBM)
Connector 63: Exhaust Gas Recirculation (EGR) Valve (LBK/LBM)
Connector 64: Exhaust Gas Recirculation (EGR) Valve (LLW)
Connector 65: Exhaust Gas Temperature Sensor 1 (LLW)
Connector 66: Exhaust Gas Temperature Sensor 2 (LLW)
Connector 67: Fog Lamp - Left Front
Connector 68: Fog Lamp - Left Rear
Connector 69: Fog Lamp - Right Front
Connector 70: Fog Lamp - Right Rear
Connector 71: Front Defogger
Connector 72: Fuel Filter Heater/Temperature Sensor (LLW)
Connector 73: Fuel Injector 1 (LBK/LBM)
Connector 74: Fuel Injector 1 (LLW)
Connector 75: Fuel Injector 2 (LBK/LBM)
Connector 76: Fuel Injector 2 (LLW)
Connector 77: Fuel Injector 3 (LBK/LBM)
Connector 78: Fuel Injector 3 (LLW)
Connector 79: Fuel Injector 4 (LBK/LBM)
Connector 80: Fuel Injector 4 (LLW)
Connector 81: Fuel Injector 5 (LBK/LBM)
Connector 82: Fuel Injector 6 (LBK/LBM)
Connector 83: Fuel Pump (LBM/LBK)
Connector 84: Fuel Pump Module (LLW)
Connector 85: Fuel Rail Pressure Control Valve (LLW)
Connector 86: Fuel Rail Pressure Sensor (LLW)
Connector 87: Fuel Tank Pressure (FTP) Sensor (LBK/LBM)
Connector 88: Generator
Connector 89: Glow Plug Control Unit (LLW)
Connector 90: Hazard Switch
Connector 91: Headlamp - Left (TR6)
Connector 92: Headlamp - Left (-TR6)
Connector 93: Headlamp - Right (TR6)
Connector 94: Headlamp - Right (-TR6)
Connector 95: Headlamp Switch
Connector 96: Heated Oxygen Sensor (HO2S) Bank 1 Sensor 1 (LBK/LBM)
Connector 97: Heated Oxygen Sensor (HO2S) Bank 1 Sensor 2 (LBK/LBM)
Connector 98: Heated Oxygen Sensor (HO2S) Bank 2 Sensor 1 (LBK/LBM)
Connector 99: Heated Oxygen Sensor (HO2S) Bank 2 Sensor 2 (LBK/LBM)
Connector 100: Heated Seat - Driver (C37)
Connector 101: Heated Seat - Passenger (C38)
Connector 102: Heated Seat Switch - Driver (C37)
Connector 103: Heated Seat Switch - Passenger (C38)
Connector 104: High Pressure Pump (LLW)
Connector 105: High Speed Blower Motor Relay (C68)
Connector 106: Hood Ajar Switch
Connector 107: Horn - High
Connector 108: Horn - Low
Connector 109: HVAC Control Module (C60/C66)
Connector 110: HVAC Control Module X1 (C68)
Connector 111: HVAC Control Module X2 (C68)
Connector 112: Ignition Coil Module 1 (LBK/LBM)
Connector 113: Ignition Coil Module 2 (LBK/LBM)
Connector 114: Ignition Coil Module 3 (LBK/LBM)
Connector 115: Ignition Coil Module 4 (LBK/LBM)
Connector 116: Ignition Coil Module 5 (LBK/LBM)
Connector 117: Ignition Coil Module 6 (LBK/LBM)
Connector 118: Ignition Switch
Connector 119: Immobilizer
Connector 120: Inflatable Restraint I/P Module
Connector 121: Inflatable Restraint Roof Rail Module - Left (AY0)
Connector 122: Inflatable Restraint Roof Rail Module - Right (AY0)
Connector 123: Inflatable Restraint Sensing and Diagnostic Module (SDM)
Connector 124: Inflatable Restraint Side Impact Module - Driver (AY0)
Connector 125: Inflatable Restraint Side Impact Module - Passenger (AY0)
Connector 126: Inflatable Restraint Side Impact Sensor - Left (AY0)
Connector 127: Inflatable Restraint Side Impact Sensor - Right (AY0)
Connector 128: Inflatable Restraint Steering Wheel Module
Connector 129: Inflatable Restraint Steering Wheel Module Coil X1
Connector 130: Inflatable Restraint Steering Wheel Module Coil X2
Connector 131: Input Speed Sensor (M98)
Connector 132: Inside Rearview Mirror
Connector 133: Instrument Panel Cluster (IPC) X1
Connector 134: Instrument Panel Cluster (IPC) X2
Connector 135: Instrument Panel Cluster (IPC) X3
Connector 136: Instrument Panel Cluster (IPC) X4 (M98)
Connector 137: Instrument Panel Cluster (IPC) X4 (MH7/MH8)
Connector 138: Intake Air Temperature (IAT) Sensor (LBK/LBM)
Connector 139: Intake Manifold Tuning Valve Solenoid (LBK/LBM)
Connector 140: I/P Compartment Lamp
Connector 141: I/P Compartment Lamp Switch
Connector 142: Key Reminder Switch
Connector 143: Knock Sensor (KS) 1 (LBK/LBM)
Connector 144: Knock Sensor (KS) 2 (LBK/LBM)
Connector 145: License Lamp
Connector 146: Magnetic Steering Actuator (N40/NV8)
Connector 147: Manifold Absolute Pressure (MAP) Sensor (LBK/LBM)
Connector 148: Mass Air Flow (MAF) Sensor (LBK/LBM)
Connector 149: Mass Air Flow (MAF) Sensor (LLW)
Connector 150: Mode Actuator
Connector 151: Multifunction Control Module X1
Connector 152: Multifunction Control Module X2
Connector 153: Multifunction Control Module X3
Connector 154: Multifunction Switch
Connector 155: Multifunction/Turn Signal Switch
Connector 156: Navigation Module
Connector 157: Object Detection Alarm (UD7)
Connector 158: Object Detection Module (UD7)
Connector 159: Object Alarm Sensor - Left Rear Corner (UD7)
Connector 160: Object Alarm Sensor - Rear Middle (UD7)
Connector 161: Object Alarm Sensor - Right Rear Corner (UD7)
Connector 162: Oil Feeding Connector (JL9-F45)
Connector 163: Oil Feeding Connector (JL9+F45)
Connector 164: Oil Pressure Switch
Connector 165: Output Speed Sensor (M98)
Connector 166: Outside Rearview Mirror - Driver
Connector 167: Outside Rearview Mirror - Passenger
Connector 168: Park/Neutral Position Switch (M98)
Connector 169: Park Brake Switch
Connector 170: Passenger Airbag/Seat Belt Warning Lamp
Connector 171: Passenger Presence System Sensor (AL5)
Connector 172: Power Amplifier (U63)
Connector 173: Power Seat Switch (AH5)
Connector 174: Power Seat Test Connector (AH5)
Connector 175: Power Steering Control Module (N40/NV8)
Connector 176: PRNDL Lamp
Connector 177: PTC Heater (LLW)
Connector 178: Radio X1
Connector 179: Radio X2
Connector 180: Radio Antenna Module
Connector 181: Rain Sensor (CEI)
Connector 182: Rear Compartment Lamp
Connector 183: Rear Compartment Release Switch
Connector 184: Rear Window Defogger Grid X1
Connector 185: Rear Window Defogger Grid X2
Connector 186: Recirculation Actuator
Connector 187: Remote Control Door Lock Receiver (RCDLR)
Connector 188: Seat Belt Pretensioner - Driver
Connector 189: Seat Belt Pretensioner - Passenger
Connector 190: Seat Belt Switch - Driver
Connector 191: Seat Belt Switch - Passenger
Connector 192: Speaker - Left Front
Connector 193: Speaker - Left Rear
Connector 194: Speaker - Right Front
Connector 195: Speaker - Right Rear
Connector 196: Steering Angle Sensor (F45)
Connector 197: Stop Lamp Switch
Connector 198: Subwoofer Speaker
Connector 199: Sunload Sensor (C68/T82)
Connector 200: Sunroof Module (CF5)
Connector 201: Sunroof Switch/Reading Lamp (CF5)
Connector 202: Tail Lamp - Left
Connector 203: Tail Lamp - Right
Connector 204: Theft Deterrent Alarm
Connector 205: Throttle Body (LBK/LBM)
Connector 206: Throttle Plate Actuator (LLW)
Connector 207: Traction Control Switch (NW9)
Connector 208: Transmission Control Module (TCM) X1 (M98)
Connector 209: Transmission Control Module (TCM) X2 (M98)
Connector 210: Trunk Latch
Connector 211: Trunk Tamper Switch
Connector 212: Turn Signal Lamp - Left Front (TR6)
Connector 213: Turn Signal Lamp - Right Front (TR6)
Connector 214: Turn Signal/Park Lamp - Left Front (-TR6)
Connector 215: Turn Signal/Park Lamp - Right Front (-TR6)
Connector 216: Tweeter - Left Front
Connector 217: Tweeter - Left Rear
Connector 218: Tweeter - Right Front
Connector 219: Tweeter - Right Rear
Connector 220: Vanity Lamp - Left
Connector 221: Vanity Lamp - Right
Connector 222: Vehicle Speed Sensor (MFB/MFN)
Connector 223: Water In Fuel Sensor (LLW)
Connector 224: Wheel Speed Sensor (WSS) - Left Front (JL9/NW9)
Connector 225: Wheel Speed Sensor (WSS) - Left Rear (JL9/NW9)
Connector 226: Wheel Speed Sensor (WSS) - Right Front (JL9/NW9)
Connector 227: Wheel Speed Sensor (WSS) - Right Rear (JL9/NW9)
Connector 228: Window/Door Lock Switch - Driver X1
Connector 229: Window/Door Lock Switch - Driver X2
Connector 230: Window/Door Lock Switch - Passenger
Connector 231: Window Motor - Driver (AA7)
Connector 232: Window Motor - Driver (ABZ)
Connector 233: Window Motor - Left Rear
Connector 234: Window Motor - Passenger
Connector 235: Window Motor - Right Rear
Connector 236: Window Switch - Left Rear
Connector 237: Window Switch - Right Rear
Connector 238: Windshield Washer Fluid Pump - Front
Connector 239: Windshield Washer Fluid Switch
Connector 240: Windshield Wiper Motor
Connector 241: Windshield Wiper/Washer Switch X1
Connector 242: Windshield Wiper/Washer Switch X2
Connector 243: Winter Mode Switch (M98)
Connector 244: Yaw Rate Sensor (F45)
Connector 245: Object Alarm Indicator (Holden Genuine Accessory)
Connector 246: Object Alarm Module -- X1 (Holden Genuine Accessory)
Connector 247: Object Alarm Module -- X2 (Holden Genuine Accessory)
Connector 248: Object Alarm Module -- X3 (Holden Genuine Accessory)
Connector 249: Object Alarm Module -- X4 (Holden Genuine Accessory)
Connector 250: Object Alarm Module -- X5 (Holden Genuine Accessory)
Connector 251: Object Alarm Sensor -- Left Rear Corner (Holden Genuine Accessory)
Connector 252: Object Alarm Sensor -- Left Rear Middle (Holden Genuine Accessory)
Connector 253: Object Alarm Sensor -- Right Rear Corner (Holden Genuine Accessory)
Connector 254: Object Alarm Sensor -- Right Rear Middle (Holden Genuine Accessory)
Connector 255: Bluetooth Module (Holden Genuine Accessory)
Connector 256: Bluetooth Patch Harness Connector X1, X3 (Holden Genuine Accessory)
Connector 257: Bluetooth Patch Harness Connector X2, X4 (Holden Genuine Accessory)
Connector 258: Bluetooth Microphone (Holden Genuine Accessory)
Connector 259: Trailer Connector (Holden Genuine Accessory)

A/C Compressor Clutch


Object Number: 1497646  Size: CH

Connector Part Information

  • OEM: AK32232
  • Service: N/A
  • Description: GY

A/C Compressor Clutch

Pin

Wire

Circuit

Function

A

D-GN

--

A/C Compressor Clutch Supply Voltage

B

BK

--

Ground

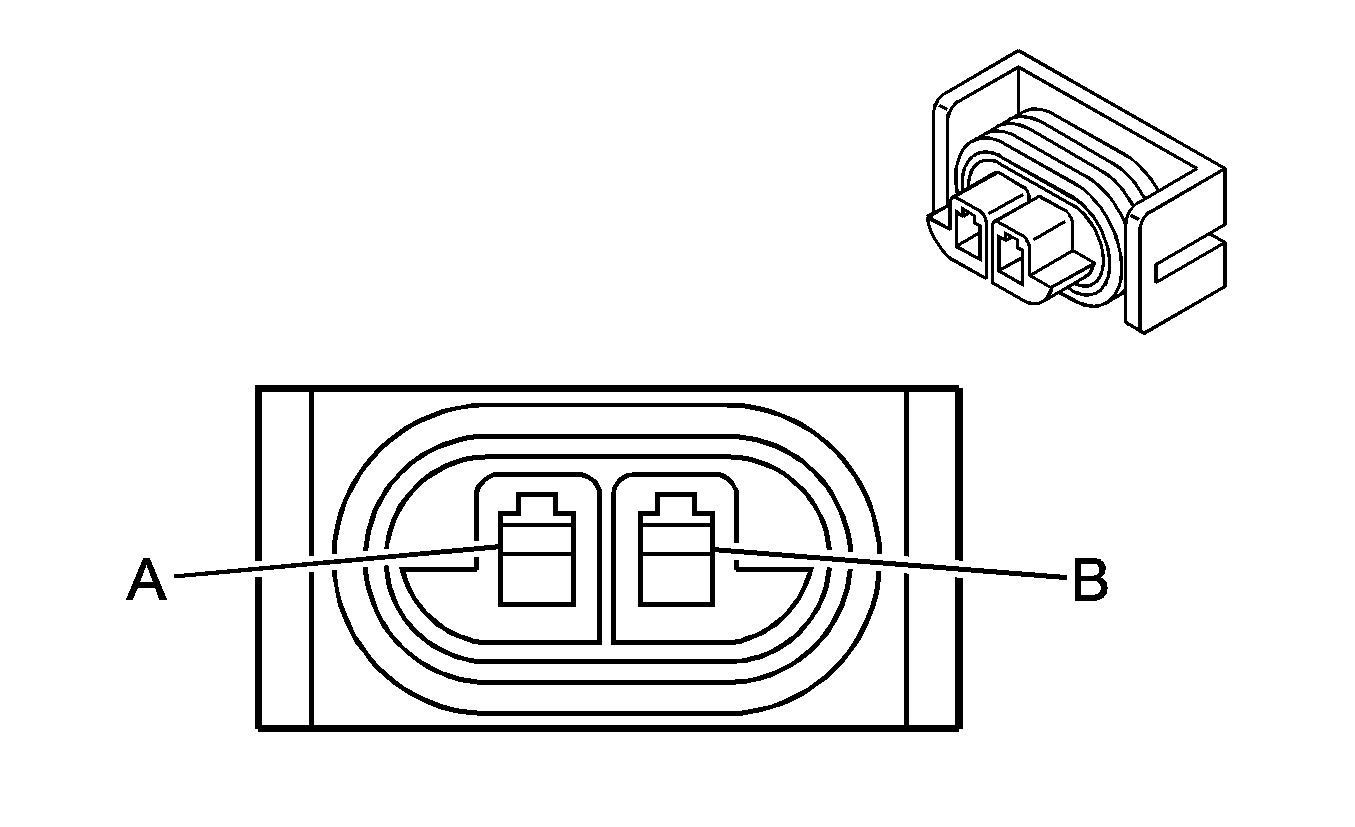
A/C Refrigerant Pressure Sensor


Object Number: 1688761  Size: CH

Connector Part Information

  • OEM: AK32316
  • Service: N/A
  • Description: 3-Way F Metri-Pack 150 Series (BK)

A/C Refrigerant Pressure Sensor

Pin

Wire

Circuit

Function

1

GY

--

5-Volt Reference (LHD)

L-BU

--

5-Volt Reference (RHD)

2

BN

--

Ground

3

OG/BK

--

A/C Refrigerant Pressure Sensor Signal

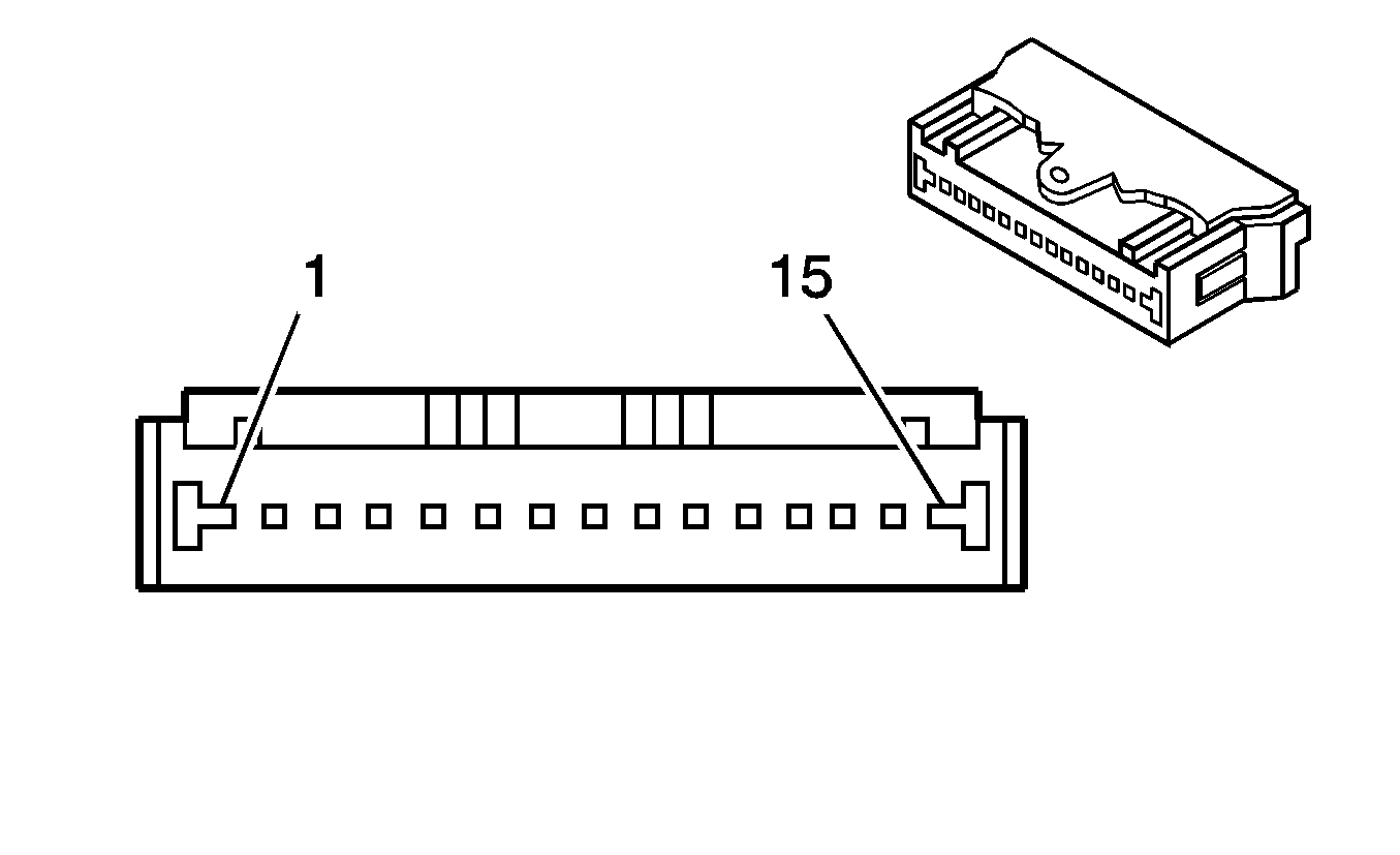
Accelerator Pedal Position (APP) Sensor (LBM/LBK)


Object Number: 1243565  Size: CH

Connector Part Information

  • OEM: 174923-2
  • Service: N/A
  • Description: 6-Way F Multilock 070 Series (BK)

Accelerator Pedal Position (APP) Sensor (LBM/LBK)

Pin

Wire

Circuit

Function

1

BN

--

5-Volt Reference 1

2

WH/BK

--

5-Volt Reference 2

3

BN

--

Low Reference

4

BU

--

APP Sensor 1 Signal

5

PU

--

Low Reference

6

L-BU

--

APP Sensor 2 Signal

Accelerator Pedal Position Sensor (LLW)


Object Number: 2033489  Size: CH

Connector Part Information

  • OEM: 936394-2
  • Service: N/A
  • Description: 6-Way F 2.8mm Series Sealed (BK)

Accelerator Pedal Position Sensor (LLW)

Pin

Wire

Circuit

Function

1

BN

1274

Accelerator Pedal Position 5-Volt Reference 2

2

WH/BK

543

Accelerator Pedal Position 5-Volt Reference 1

3

BN

1271

Accelerator Pedal Position Low Reference 1

4

D-BU

1161

Accelerator Pedal Position Signal 1

5

PU

1272

Accelerator Pedal Position Low Reference 2

6

L-BU

1162

Accelerator Pedal Position Signal 2

Air Temperature Actuator


Object Number: 1467023  Size: CH

Connector Part Information

  • OEM: MG610203
  • Service: N/A
  • Description: WH

Air Temperature Actuator

Pin

Wire

Circuit

Function

1

--

--

Not Used

2

BK

--

Air Temperature

3

BN

--

Low Reference

4

--

--

Not Used

5

YE

--

Low Reference

6

YE/BK

--

Lower Mode Door Position Signal

7

L-BU

--

Air Temperature Door Control

Ambient Air Temperature Sensor (C68)

--

Connector Part Information

  • OEM: MG610327
  • Service: N/A
  • Description: 3-Way (BK)

Ambient Air Temperature Sensor (C68)

Pin

Wire

Circuit

Function

1

YE

--

Low Reference

2

--

--

Not Used

3

L-GN/BK

--

Ambient Air Temperature Sensor Signal

Ashtray Lamp


Object Number: 1497837  Size: CH

Connector Part Information

  • OEM: JC 60-1257
  • Service: N/A
  • Description: 2-Way F (BK)

Ashtray Lamp

Pin

Wire

Circuit

Function

1

BN/WH

--

Dimmer PWM Output

2

D-GN

--

Ground

Automatic Transmission (M98)


Object Number: 878475  Size: CH

Connector Part Information

  • OEM: 7223-6509-40
  • Service: N/A
  • Description: 14-Way F RV Series, Sealed (GY)

Automatic Transmission (M98)

Pin

Wire

Circuit

Function

1

OG/BK

--

Transmission Fluid Temperature Sensor Low Reference

2

BU/WH

--

Shift Pressure Control Solenoid Control

3

PU/WH

--

TCC Clutch Solenoid Control

4

WH

--

Line Pressure Control Solenoid Control

5

--

--

Not Used

6

WH

--

Shift Solenoid 4 Supply Voltage

7

YE

--

Shift Solenoid 2 Supply Voltage

8

BN/WH

--

Transmission Fluid Temperature Sensor Signal

9

PK/BK

--

Shift Pressure Control Solenoid Supply Voltage

10

GN

--

TCC Clutch Solenoid Supply Voltage

11

BU

--

Line Pressure Control

12

OG/WH

--

Shift Solenoid 5 Supply Voltage

13

WH

--

Shift Solenoid 3 Supply Voltage

14

L-GN

--

Shift Solenoid 1 Supply Voltage

Automatic Transmission (MH7/MH8)


Object Number: 2033504  Size: CH

Connector Part Information

  • OEM: PE130755
  • Service: N/A
  • Description: 14-Way F GT 150 280 Series, Sealed (L-GY)

Automatic Transmission (MH7/MH8)

Pin

Wire

Circuit

Function

1

PK/BK

440

Battery Positive Voltage

2

BK

250

Ground

3

OG/BK

1786

Transmission Park/Neutral Signal

4

--

--

Not Used

5

--

--

Not Used

6

BN/WH

2500

High Speed GMLAN Serial Data (+)

7

BN/WH

2500

High Speed GMLAN Serial Data (+)

8

L-GN

2501

High Speed GMLAN Serial Data (-) (MH7)

BN

2501

High Speed GMLAN Serial Data (-) (MH8)

9

--

--

Not Used

10

L-BU

20

Stop Lamp Supply Voltage

11

--

--

Not Used

12

PK/BK

539

Ignition 1 Voltage

13

PK/BK

539

Ignition 1 Voltage

14

L-GN

2501

High Speed GMLAN Serial Data (-) (MH7)

BN

2501

High Speed GMLAN Serial Data (-) (MH8)

Automatic Transmission Control Indicator (MH7/MH8)


Object Number: 2033506  Size: CH

Connector Part Information

  • OEM: PH845-09020
  • Service: N/A
  • Description: 9-Way F CDR09F Series (BK)

Automatic Transmission Control Indicator (MH7/MH8)

Pin

Wire

Circuit

Function

1

L-GN

1027

Winter Mode Switch Signal

2

--

--

Not Used

3

BN/WH

309

Instrument Panel Lamps Supply Voltage

4

GY

773

Transmission Position M Indicator Control

5

D-BU/WH

774

Transmission Position D Indicator Control

6

GY/BK

773

Transmission Position N Indicator Control

7

L-GN

775

Transmission Position R Indicator Control

8

WH/BK

711

Transmission Position P Indicator Control

9

BK

250

Ground

Automatic Transmission Shift Lever (M98)


Object Number: 872604  Size: CH

Connector Part Information

  • OEM: 7223-6508-30
  • Service: N/A
  • Description: 10-Way F DMS+RV Series, Sealed (BK)

Automatic Transmission Shift Lever (M98)

Pin

Wire

Circuit

Function

1

BK

--

Ground

2

BN

--

A/T Shift Lock Solenoid Control

3

BK

--

Ground

4

L-GN

--

Park Position Signal

5

--

--

Not Used

6

BK

--

Ground

7

BN

--

Tap Down Signal

8

PU

--

Tap Up Signal

9

BN

--

Driver Shift Control

10

PK

--

Ignition 1 Voltage

Auxiliary Power Outlet


Object Number: 1467075  Size: CH

Connector Part Information

  • OEM: MG630685-5
  • Service: N/A
  • Description: 2-Way F 2505 Series (BK)

Auxiliary Power Outlet

Pin

Wire

Circuit

Function

1

YE

--

Accessory Voltage

2

BK/WH

--

Ground

Backup Lamp - Left


Object Number: 1466986  Size: CH

Connector Part Information

  • OEM: 174463-1
  • Service: N/A
  • Description: 2-Way M 070 Multilock Series (WH)

Backup Lamp - Left

Pin

Wire

Circuit

Function

1

BK

--

Ground

2

L-GN

--

Backup Lamp Supply Voltage

Backup Lamp - Right


Object Number: 1466986  Size: CH

Connector Part Information

  • OEM: 174463-1
  • Service: N/A
  • Description: 2-Way M 070 Multilock Series (WH)

Backup Lamp - Right

Pin

Wire

Circuit

Function

1

BK

--

Ground

2

L-GN

--

Backup Lamp Supply Voltage

Backup Lamp Switch (MFB/MFN)


Object Number: 2000927  Size: CH

Connector Part Information

  • OEM: AK07207
  • Service: N/A
  • Description: 2-Way F Metri-Pack 150 Series (BK)

Backup Lamp Switch (MFB/MFN)

Pin

Wire

Circuit

Function

1

PK

--

Ignition 1 Voltage

2

L-GN

--

Backup Lamp Supply Voltage

Blower Motor


Object Number: 1468411  Size: CH

Connector Part Information

  • OEM: MG610281
  • Service: N/A
  • Description: 2-Way F.312 Series (NA)

Blower Motor

Pin

Wire

Circuit

Function

1

PK

--

Blower Motor Speed Signal (C68)

BK

--

Ground (C60/C66)

2

YE

--

Blower Motor Supply Voltage (C68)

RD

--

Blower Motor Supply Voltage (C60/C66)

Blower Motor Resistor (C60/C66)


Object Number: 1467011  Size: CH

Connector Part Information

  • OEM: MG610047
  • Service: N/A
  • Description: 4-Way F 250 Series (NA)

Blower Motor Resistor (C60/C66)

Pin

Wire

Circuit

Function

1

WH

--

Blower Motor Speed Signal

2

PK

--

Blower Motor Speed Signal

3

RD

--

Blower Motor Supply Voltage

4

D-BU

--

Blower Motor Speed Signal

Blower Motor Switch (C60/C66)


Object Number: 1467013  Size: CH

Connector Part Information

  • OEM: MG610049
  • Service: N/A
  • Description: 6-Way F 250 Series (NA)

Blower Motor Switch (C60/C66)

Pin

Wire

Circuit

Function

1

YE

--

Blower Relay Supply Voltage

2

WH/RD

--

Blower Switch Signal

3

WH

--

Blower Motor Speed Signal

4

D-BU

--

Blower Motor Speed Signal

5

PK

--

Blower Motor Speed Signal

6

RD

--

Blower Motor Speed Signal

Body Control Module X1


Object Number: 1497814  Size: CH

Connector Part Information

  • OEM: 98625-2001
  • Service: N/A
  • Description: 15-Way F HDX Series (GY)

Body Control Module X1

Pin

Wire

Circuit

Function

1-2

--

--

Not Used

3

D-BU

164

Power Window Switch Driver Up Signal

4

OG/BK

737

Rear Compartment Lid Ajar Switch Signal

5

L-BU

195

Door Lock Signal

6

WH

194

Door unlock Signal

7

D-GN/BK

2905

Serial Data

8

BN

126

Left Front Door Open Switch Signal

9

WH

156

Courtesy Lamp Control

10

OG

2764

Power Window Switch Drivers Express Down Signal

11

BN

41

Ignition 2 Voltage

12

BN

165

Driver Window Switch Driver Down Signal

13

PK/D-BU

638

Power Window Motor Driver Down Control

14

--

--

Not Used

15

PK/BK

109

Hood Ajar Switch Signal

Body Control Module X2


Object Number: 1497815  Size: CH

Connector Part Information

  • OEM: 98631-2001
  • Service: N/A
  • Description: 30-Way F HDX Series (GY)

Body Control Module X2

Pin

Wire

Circuit

Function

1

D-BU/WH

6985

Windshield Wiper Switch Pulse Delay Signal

2

BN/WH

1434

Immobilizer Signal

3

L-GN

1435

Immobilizer Signal

4-5

--

--

Not Used

6

L-GN

1845

Chime Signal

7

OG

1000

Crash Signal

8-11

--

--

Not Used

12

D-GN/WH

817

Vehicle Speed Signal

13

D-BU/WH

1315

Right Front Turn Signal Lamp

14

L-BU/WH

1314

Left Front Turn Supply Voltage

15

WH

193

Rear Defog Relay Control

16-17

--

--

Not Used

18

PU

1697

Turn/Hazard Module Signal

19

WH/BK

5043

Serial Data

20

YE

749

Security Indicator Control

21

--

--

Not Used

22

YE/BK

1436

Immobilizer Signal

23

L-GN

80

Key Ignition Switch Signal

24

--

--

Not Used

25

OG

228

Windshield Washer Pump Control

26

BK/WH

351

Immobilizer Signal

27

--

--

Not Used

28

BN

96

Windshield Wiper Switch Pulse Delay Signal

29

--

--

Not Used

30

L-BU

263

Rear Compartment Lid Ajar Switch Signal

Body Control Module X3


Object Number: 1497822  Size: CH

Connector Part Information

  • OEM: 211 PC 122S0017
  • Service: N/A
  • Description: 12-Way F (BK)

Body Control Module X3

Pin

Wire

Circuit

Function

1

BN/WH

96

Windshield Wiper Switch Pulse Delay Signal

2

D-BU

--

Interior Lamps Control

3

L-BU

97

Windshield Wiper Switch MIST/OFF/LOW Signal

4

D-BU

15

Right Turn Signal Lamp Supply Voltage

5

--

--

Not Used

6

BN/WH

--

Power Window Switch Drivers Express Up Signal

7

--

--

Not Used

8

L-BU

14

Left Turn Signal Lamp Supply Voltage

9

--

--

Not Used

10

RD/BK

--

Power Window Switch Drivers Express Down Signal

11

BN

253

Trunk Release Relay Control

12

YE

261

Siren Control

Body Control Module X4


Object Number: 1497835  Size: CH

Connector Part Information

  • OEM: 211 PC 083S0017
  • Service: N/A
  • Description: 8-Way F 2.8 Series (BK)

Body Control Module X4

Pin

Wire

Circuit

Function

1

BK

750

Ground

2

--

--

Not Used

3

PK

639

Ignition 1 Voltage

4

BK

750

Ground

5

BN

294

Door Lock Actuator Unlock Control

6

GY

295

Door Lock Actuator Lock Control

7

PU

1293

Rear Defog Element Supply Voltage

8

PU

1293

Rear Defog Element Supply Voltage

Body Control Module X5


Object Number: 1497836  Size: CH

Connector Part Information

  • OEM: UTA 321600157
  • Service: N/A
  • Description: BK

Body Control Module X5

Pin

Wire

Circuit

Function

1

RD

142

Battery Positive Voltage

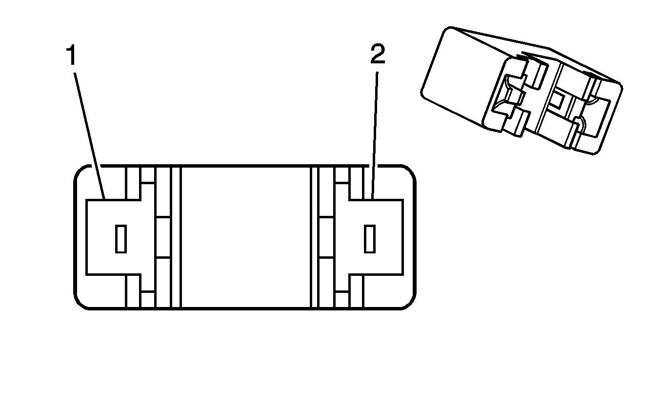
Boost Pressure Actuator (LLW)


Object Number: 1835112  Size: CH

Connector Part Information

  • OEM: 368162-1
  • Service: N/A
  • Description: 4-Way F JPT Series Sealed (BK)

Boost Pressure Actuator (LLW)

Pin

Wire

Circuit

Function

1

PU/WH

--

Battery Positive Voltage

2

BK

--

Ground

3

--

--

Not Used

4

PU

--

Boost Pressure Actuator Control

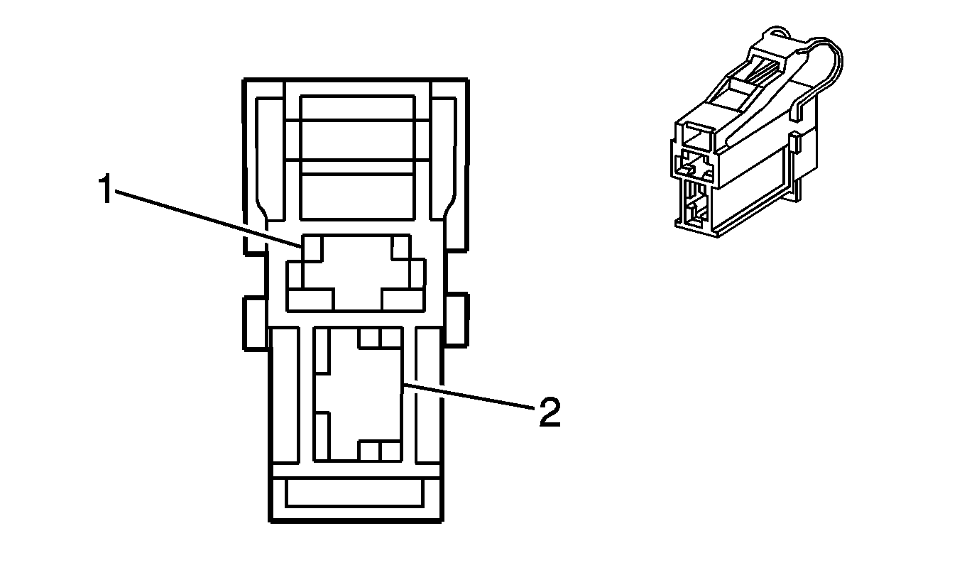
Boost Pressure Sensor (LLW)


Object Number: 1835112  Size: CH

Connector Part Information

  • OEM: 368162-1
  • Service: N/A
  • Description: 4-Way F JPT Series Sealed (BK)

Boost Pressure Sensor (LLW)

Pin

Wire

Circuit

Function

1

YE/BU

--

Ground

2

L-GN

--

Intake Air Temperature Signal

3

WH/BK

--

5-Volt Reference

4

GY/BK

--

Intake Air Pressure Signal

Brake Fluid Level Switch


Object Number: 1891421  Size: CH

Connector Part Information

  • OEM: MG610320
  • Service: N/A
  • Description: 2-Way F SWP Series (NA)

Brake Fluid Level Switch

Pin

Wire

Circuit

Function

1

BN/WH

--

Brake Warning Indicator Control

2

BK

--

Ground

Camshaft Position (CMP) Sensor


Object Number: 1467004  Size: CH

Connector Part Information

  • OEM: 85205-1
  • Service: N/A
  • Description: 3-Way F JPT Series (BK)

Camshaft Position (CMP) Sensor

Pin

Wire

Circuit

Function

1

BN/WH

--

Camshaft Position (CMP) Sensor Signal (LBK/LBML)

L-GN/BK

--

Camshaft Position (CMP) Sensor Signal (LLW)

2

PK/BK

--

Low Reference (LBK/LBM)

D-BU/WH

--

Ground (LLW)

3

PK

--

Ignition 1 Voltage (LBK/LBM)

PK/WH

--

Battery Positive Voltage (LLW)

CAN Test Connector (MH7/MH8)


Object Number: 1986038  Size: CH

Connector Part Information

  • OEM: PB625-02027
  • Service: N/A
  • Description: 2-Way F NMWP02F-B Series (BK)

CAN Test Connector (MH7/MH8)

Pin

Wire

Circuit

Function

1

BN/WH

2500

High Speed GMLAN Serial Data (+) (MH7)

YE

2500

High Speed GMLAN Serial Data (+) (MH8)

2

L-GN

2501

High Speed GMLAN Serial Data (-) (MH7)

WH

2501

High Speed GMLAN Serial Data (-) (MH8)

Center Dome Lamp


Object Number: 1661120  Size: CH

Connector Part Information

  • OEM: 368500-1
  • Service: N/A
  • Description: 3-Way F 070 MLC Series (NA)

Center Dome Lamp

Pin

Wire

Circuit

Function

1

BN

--

Inadvertent Lamp Control

2

OG

--

Courtesy Lamp Control

3

BK

--

Ground

Center High Mounted Stop Lamp (CHMSL)


Object Number: 1467036  Size: CH

Connector Part Information

  • OEM: MG610392
  • Service: N/A
  • Description: 2-Way F SDL Series (WH)

Center High Mounted Stop Lamp (CHMSL)

Pin

Wire

Circuit

Function

1

L-BU

--

Stop lamp Supply Voltage/Stop Lamp Switch Signal

2

BK

--

Ground

Cigar Lighter


Object Number: 1467007  Size: CH

Connector Part Information

  • OEM: 368021-1
  • Service: N/A
  • Description: WH

Cigar Lighter

Pin

Wire

Circuit

Function

1

BK

--

Ground

2

YE

--

Accessory Voltage

Clock


Object Number: 1468516  Size: CH

Connector Part Information

  • OEM: MG651439
  • Service: N/A
  • Description: 6-Way

Clock

Pin

Wire

Circuit

Function

1

--

--

Not Used

2

BK

--

Ground

3

BN/WH

--

Park Lamp Supply Voltage

4

YE

--

Accessory Voltage

5

RD/WH

--

Battery Voltage

6

--

--

Not Used

Clutch Switch (LBM/LBK w/MFB/MFN)


Object Number: 1467114  Size: CH

Connector Part Information

  • OEM: PE107545
  • Service: N/A
  • Description: 4-Way F Micro 100 Series (BK)

Clutch Switch (LBM/LBK w/MFB/MFN)

Pin

Wire

Circuit

Function

1-2

--

--

Not Used

3

YE

--

Clutch Switch Signal

4

BK

--

Ground

Cooling Fan - Auxiliary


Object Number: 1466989  Size: CH

Connector Part Information

  • OEM: 176146-1
  • Service: N/A
  • Description: 2-Way F 187 Series, Sealed (BK)

Cooling Fan - Auxiliary

Pin

Wire

Circuit

Function

1

WH

--

Ground (Gasoline)

YE

--

Cooling Fan Motor Supply Voltage (Diesel)

2

L-BU

--

Cooling Fan Motor Supply Voltage (Gasoline)

BK

--

Ground (Diesel)

Cooling Fan - Main


Object Number: 1466989  Size: CH

Connector Part Information

  • OEM: 176146-1
  • Service: N/A
  • Description: 2-Way F 187 Series, Sealed (BK)

Cooling Fan - Main

Pin

Wire

Circuit

Function

1

BK

--

Ground

2

GY

--

Cooling Fan Motor Supply Voltage

Crankshaft Position (CKP) Sensor


Object Number: 1467004  Size: CH

Connector Part Information

  • OEM: 85205-1
  • Service: N/A
  • Description: 3-Way F JPT Series (BK)

Crankshaft Position (CKP) Sensor

Pin

Wire

Circuit

Function

1

YE/BK

--

Crankshaft Position (CKP) Sensor Signal (LBM/LBK)

D-BU/WH

--

Crankshaft Position (CKP) Sensor Signal (LLW)

2

D-BU/WH

--

Low Reference (LBM/LBK)

YE/BK

--

Low Reference (LLW)

3

BN/WH

--

Ground (LBM/LBK)

GY

--

Ground (LLW)

Data Link Connector (DLC)


Object Number: 68793  Size: CH

Connector Part Information

  • OEM: MG610761
  • Service: N/A
  • Description: BK

Data Link Connector (DLC)

Pin

Wire

Circuit

Function

1-3

--

--

Not Used

4

BK

1250

Ground

5

BK/WH

251

Ground

6

BN/WH

2500

Serial Data (LHD)

BN/BK

2500

Serial Data (RHD)

7

WH/BK

5043

Serial Data

8-13

--

--

Not Used

14

BN

2501

Serial Data

15

--

--

Not Used

16

RD/WH

1840

Battery Positive Voltage

Diesel Particulate Filter Pressure Sensor (LLW)


Object Number: 1830930  Size: CH

Connector Part Information

  • OEM: 1J0973703
  • Service: N/A
  • Description: 3-Way F Micro Timer II Series Sealed (BK)

Diesel Particulate Filter Pressure Sensor (LLW)

Pin

Wire

Circuit

Function

1

PU/WH

3044

5-Volt Reference

2

L-BU

3037

Low Reference

3

YE/BK

3064

Signal

Diode


Object Number: 1468509  Size: CH

Connector Part Information

  • OEM: MG620102-5
  • Service: N/A
  • Description: 2-Way F DIODE Connector (BK)

Diode

Pin

Wire

Circuit

Function

1

OG/BK

--

Lamp Control

2

OG

--

Ground

Door Latch Switch - Driver


Object Number: 1835113  Size: CH

Connector Part Information

  • OEM: PKI 15011 04F, PKI 832419
  • Service: N/A
  • Description: 4-Way F

Door Latch Switch - Driver

Pin

Wire

Circuit

Function

1

WH

--

All Contact Input

2

GY

--

Door Ajar Signal

3

BN

--

Driver Front Door Contact Input

4

BK

--

Ground

Door Latch Switch - Left Rear


Object Number: 1835113  Size: CH

Connector Part Information

  • OEM: PKI 15011 04F, PKI 832419
  • Service: N/A
  • Description: 4-Way F

Door Latch Switch - Left Rear

Pin

Wire

Circuit

Function

1

WH

--

All Contact Input

2

--

--

Not Used

3

BN

--

Door Ajar Signal

4

WH

--

Courtesy Lamp Control

Door Latch Switch - Passenger


Object Number: 1835113  Size: CH

Connector Part Information

  • OEM: PKI 15011 04F, PKI 832419
  • Service: N/A
  • Description: 4-Way F

Door Latch Switch - Passenger

Pin

Wire

Circuit

Function

1

BK

--

Ground

2

--

--

Not Used

3

BN

--

Door Ajar Signal

4

WH

--

All Contact Input

Door Latch Switch - Right Rear


Object Number: 1835113  Size: CH

Connector Part Information

  • OEM: PKI 15011 04F, PKI 832419
  • Service: N/A
  • Description: 4-Way F

Door Latch Switch - Right Rear

Pin

Wire

Circuit

Function

1

BK

--

Ground

2

--

--

Not Used

3

BN

--

Door Ajar Signal

4

WH

--

All Contact Input

Door Lock Actuator - Driver


Object Number: 1688762  Size: CH

Connector Part Information

  • OEM: AK6023
  • Service: N/A
  • Description: 2-Way F Metri-Pack 280 Series, Sealed (BK)

Door Lock Actuator - Driver

Pin

Wire

Circuit

Function

A

BN

--

Door Lock Actuator Unlock Control

B

GY

--

Door Lock Actuator Lock Control

Door Lock Actuator - Left Rear


Object Number: 1688762  Size: CH

Connector Part Information

  • OEM: AK6023
  • Service: N/A
  • Description: 2-Way F Metri-Pack 280 Series, Sealed (BK)

Door Lock Actuator - Left Rear

Pin

Wire

Circuit

Function

A

BN

--

Door Lock Actuator Unlock Control

B

GY

--

Door Lock Actuator Lock Control

Door Lock Actuator - Passenger


Object Number: 1688762  Size: CH

Connector Part Information

  • OEM: AK6023
  • Service: N/A
  • Description: 2-Way F Metri-Pack 280 Series, Sealed (BK)

Door Lock Actuator - Passenger

Pin

Wire

Circuit

Function

A

BN

--

Door Lock Actuator Unlock Control

B

GY

--

Door Lock Actuator Lock Control

Door Lock Actuator - Right Rear


Object Number: 1688762  Size: CH

Connector Part Information

  • OEM: AK6023
  • Service: N/A
  • Description: 2-Way F Metri-Pack 280 Series, Sealed (BK)

Door Lock Actuator - Right Rear

Pin

Wire

Circuit

Function

A

BN

--

Door Lock Actuator Unlock Control

B

GY

--

Door Lock Actuator Lock Control

Door Step Lamp - Driver


Object Number: 1467020  Size: CH

Connector Part Information

  • OEM: MG610070
  • Service: N/A
  • Description: 2-Way F 090 (2.3 mm) Series (WH)

Door Step Lamp - Driver

Pin

Wire

Circuit

Function

1

RD/WH

--

Courtesy Lamp Control

2

BK

--

Ground

Door Step Lamp - Passenger


Object Number: 1467020  Size: CH

Connector Part Information

  • OEM: MG610070
  • Service: N/A
  • Description: 2-Way F 090 (2.3 mm) Series (WH)

Door Step Lamp - Passenger

Pin

Wire

Circuit

Function

1

RD/WH

--

Courtesy Lamp Control

2

BK

--

Ground

Door Tamper Switch - Driver


Object Number: 1891414  Size: CH

Connector Part Information

  • OEM: 832421
  • Service: N/A
  • Description: 4-Way F

Door Tamper Switch - Driver

Pin

Wire

Circuit

Function

A

L-BU

263

Tamper Switch Signal

B

WH

194

Door Unlock Control

C

BK

50

Ground

D

L-BU

195

Door Lock Control

Door Tamper Switch - Passenger


Object Number: 1891414  Size: CH

Connector Part Information

  • OEM: 832421
  • Service: N/A
  • Description: 4-Way F

Door Tamper Switch - Passenger

Pin

Wire

Circuit

Function

A

L-BU

--

Tamper Switch Signal (LHD)

B

BK

750

Ground

C

--

--

Not Used

D

L-BU

263

Tamper Switch Signal (RHD)

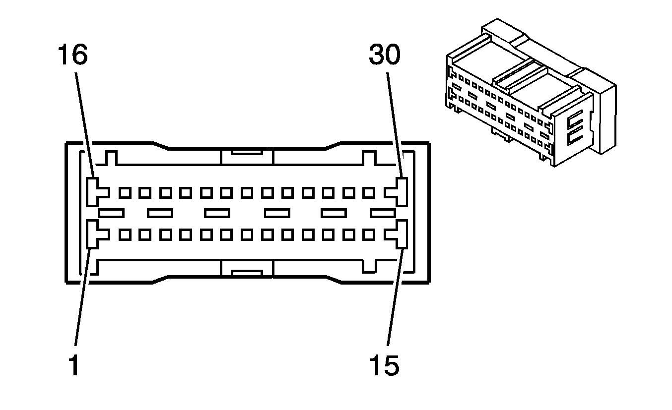
Driver Information Center (DIC)


Object Number: 850856  Size: CH

Connector Part Information

  • OEM: 15394150
  • Service: N/A
  • Description: 16-Way F Micro-Pack 064 Series (BK)

Driver Information Center (DIC)

Pin

Wire

Circuit

Function

1-2

--

--

Not Used

3

PK

--

Ignition Voltage

4

YE

--

Accessory Voltage

5

BN/WH

--

Park Lamp Supply Voltage

6

YE

--

Ignition Voltage (C68)

7

BK

--

Ground

8

RD/WH

--

Battery Voltage

9

BN/WH

--

Serial Data

10

--

--

Not Used

11

BN

--

Engine Running Signal

12-13

--

--

Not Used

14

OG

--

Fuel Consumption Data

15

D-GN/WH

--

VSS Output

16

OG

--

Fuel Gage Signal (LBM/LBK)

D-BU

--

Fuel Gage Signal (LLW)

Electronic Brake Control Module (EBCM) (JL9/NW9)


Object Number: 1506608  Size: CH

Connector Part Information

  • OEM: 368482-1
  • Service: N/A
  • Description: 25-Way F Micro-Pack 100W Series (BK)

Electronic Brake Control Module (EBCM) (JL9/NW9)

Pin

Wire

Circuit

Function

1

BN/WH

--

Right Front Wheel Speed Sensor Signal

2

D-BU/WH

--

Right Front Wheel Speed Sensor Low Reference

3

L-GN/BK

--

Wheel Speed Signal-Left Front

4

PK

--

Ignition 1 Voltage

5

BN

--

Left Rear Wheel Speed Sensor Signal

6

D-BU

--

Left Rear Wheel Speed Sensor Low Reference

7

WH/BK

--

Serial Data

8

BK

--

Ground

9

RD

--

Battery Positive Voltage

10

BN

--

CAN Serial Data Low

11

BN/BK

--

CAN Serial Data High

12

GY/WH

--

Traction Control Off Indicator Control

13

--

--

Not Used

14

L-BU

--

Traction Control Switch Signal

15

--

--

Not Used

16

D-GN/BK

--

ABS Indicator Signal

17

PU

--

Traction Control Indicator Control

18

L-BU

--

Stop Lamp Switch Signal

19

BN

--

Right Front Wheel Speed Sensor Signal

20

D-BU

--

Left Front Wheel Speed Sensor Low Reference

21

D-GN

--

Traction Control Active Indicator Control

22

D-BU/BK

--

Right Rear Wheel Speed Sensor Low Reference

23

BN/WH

--

Right Rear Wheel Speed Sensor Signal

BN/BK

--

Right Rear Wheel Speed Sensor Signal (Holden, Euro/Gen, Diesel)

24

BK

--

Ground

25

RD

--

Battery Positive Voltage

Electronic Brake Control Module (EBCM) (F45)


Object Number: 2005158  Size: CH

Connector Part Information

  • OEM: 1897088-2
  • Service: N/A
  • Description: 47-Way F060/187 Series (BK)

Electronic Brake Control Module (EBCM) (F45)

Pin

Wire

Circuit

Function

1

RD

42

Battery Positive Voltage

2

--

--

Not Used

3

D-GN

1656

Electronic Stability Active Indicator Control

4-5

--

--

Not Used

6

L-BU

20

Stop Lamp Supply Voltage

7

--

--

Not Used

8

PK

1339

Ignition 1 Voltage

9

--

--

Not Used

10

WH/BK

5043

Serial Data

11

BN/BK

2500

High Speed GMLAN Serial Data (+)

12

BN/BK

2500

High Speed GMLAN Serial Data (+)

13

BN

2501

High Speed GMLAN Serial Data (-)

14

BN

2501

High Speed GMLAN Serial Data (-)

15

--

--

Not Used

16

BK

50

Ground

17

--

--

Not Used

18

BN/BK

2500

High Speed GMLAN Serial Data (+)

19

BN

2501

High Speed GMLAN Serial Data (-)

20-21

--

--

Not Used

22

PK

839

12V Reference

23-28

--

--

Not Used

29

BK

650

Ground

30

--

--

Not Used

31

D-GN/BK

1867

ABS Warning Lamp Indicator Control

32

OG/BK

740

Battery Positive Voltage

33

D-BU/WH

873

Right Front Wheel Speed Sensor Low Reference

34

BN/WH

833

Right Front Wheel Speed Sensor Signal

35

PU

1681

Traction Control System Passive Indicator Control

36

BN

884

Wheel Speed Sensor Signal Left Rear

37

D-BU

885

Wheel Speed Sensor Low Reference Left Rear

38

L-BU

6844

Electronic Stability Control Switch Signal

39-41

--

--

Not Used

42

D-BU/BK

883

Wheel Speed Sensor Low Reference Right Rear

43

BN/BK

882

Wheel Speed Sensor Signal Right Rear

44

--

--

Not Used

45

BN

830

Wheel Speed Sensor Signal Left Front

46

D-BU

872

Left Front Wheel Speed Sensor Signal Right Front Low Reference

47

BK

150

Motor Ground

Electronic Brake Control Module (EBCM) (JL9/NW9-F45)


Object Number: 2005156  Size: CH

Connector Part Information

  • OEM: 1897077-1
  • Service: N/A
  • Description: 26-Way F 060/187 Series (BK)

Electronic Brake Control Module (EBCM) (JL9/NW9-F45)

Pin

Wire

Circuit

Function

1

OG/BK

740

Battery Positive Voltage

2

D-BU

885

Wheel Speed Sensor Low Reference Left Rear

3

BN

884

Wheel Speed Sensor Signal Left Rear

4

D-GN/BK

1867

ABS Warning Lamp Indicator Control

5

BN/WH

833

Wheel Speed Sensor Signal Right Front

6

D-BU/WH

873

Right Front Wheel Speed Sensor Low Reference

7

--

--

Not Used

8

D-BU

872

Left Front Wheel Speed Sensor Low Reference

9

BN

830

Wheel Speed Sensor Signal Left Front

10

--

--

Not Used

11

BN/BK

882

Wheel Speed Sensor Signal Right Rear

12

D-BU/BK

883

Wheel Speed Sensor Low Reference Right Rear

13

BK

50

Ground

14

RD

42

Battery Positive Voltage

15

--

--

Not Used

16

L-BU

20

Stop Lamp Supply Voltage

17

--

--

Not Used

18

WH/BK

5043

Serial Data

19

--

--

Not Used

20

PK

1339

Ignition 1 Voltage

21

BN

2501

High Speed GMLAN Serial Data (-)

22

BN

2501

High Speed GMLAN Serial Data (-)

23

BN/BK

2500

High Speed GMLAN Serial Data (+)

24

BN/BK

2500

High Speed GMLAN Serial Data (+)

25

PU

1681

Traction Control Warning Indicator Lamp Control

26

BK

150

Motor Ground

Electronic Stability Control Switch (F45)


Object Number: 2011728  Size: CH

Connector Part Information

  • OEM: MG652999
  • Service: N/A
  • Description: 4-Way F 040 III Series (NA)

Electronic Stability Control Switch (F45)

Pin

Wire

Circuit

Function

1

BK

250

Ground

2

L-BU

6844

ESC Switch Signal

3

BN/WH

309

Instrument Panel Lamps Supply Voltage

4

D-GN

44

Instrument Panel Lamp Dimmer Switch Signal

Engine Control Module (ECM) X1


Object Number: 1725344  Size: CH

Connector Part Information

  • OEM: 2-1355123-3
  • Service: N/A
  • Description: 60-Way F 064 MQS Series Sealed (WH)

Engine Control Module (ECM) X1

Pin

Wire

Circuit

Function

1

GY

--

Ignition Coil 6 Control (LBK/LBM)

L-BU

--

Fuel injector 3 High (LLW)

2

OG

--

Ignition Coil 2 Control (LBK/LBM)

L-GN

--

Fuel Injector 2 High (LLW)

3

D-BU

--

Ignition Coil 4 Control (LBK/LBM)

4

BN/WH

--

Fuel Rail Pressure Regulator Supply Voltage (LLW)

5

L-GN/WH

--

HO2S1 Bank 2 Sensor 1 Heater Control (LBK/LBM)

6

PU

--

HO2S1 Bank 2 Sensor 1 Signal (LBK/LBM)

GY

--

Cruise Switch Ground (LLW)

7

D-GN

--

Low Reference (LBK/LBM)

GY

--

CKP Ground (LLW)

8

BN

--

HO2S2 Bank 2 Sensor 2 Signal (LBK/LBM)

D-GN/WH

--

Fuel Rail Pressure Sensor Ground (LLW)

9

GY

--

EGR Position Sensor Signal (LBK/LBM)

10

--

--

Not Used

11

BN

--

Low Reference (LBK/LBM)

12

D-BU

--

Low Reference (LBK/LBM)

YE/BK

--

CKP Low Reference (LLW)

13

BN

--

Low Reference (LBK/LBM)

WH/BK

--

5-Volt Reference (LLW)

14

L-GN

--

MAP Sensor Signal (LBK/LBM)

15

PU/WH

--

Boost Pressure Actuator Control (LLW)

16

PU

--

EVAP Canister Vent Solenoid Valve Control (LBK/LBM)

YE/BK

--

Fuel Injector 1 High (LLW)

17

D-GN/WH

--

EVAP Canister Purge Solenoid Valve Control (LBK/LBM)

D-GN

--

Fuel Injector 4 High (LLW)

18

--

--

Not Used

19

L-GN

--

HO2S Bank 2 Sensor 2 Heater Control (LBK/LBM)

PU/WH

--

High Pressure Pump Supply Voltage (LLW)

20

D-BU/WH

--

CMP Ground (LLW)

21-22

--

--

Not Used

23

YE/D-BU

--

Ground (LLW)

24-25

--

--

Not Used

26

D-GN

--

Cooling Fan Low Relay Control (LBK/LBM)

27

D-BU/WH

--

CKP High (LLW)

28

WH

--

Engine RPM Signal (LBK/LBM)

L-BU

--

Fuel Rail Pressure Sensor 5-Volt Reference (LLW)

29-30

--

--

Not Used

31

PU

--

Ignition Coil 1 Control (LBK/LBM)

PU

--

Fuel Injector 2 Low (LLW)

32

D-GN

--

Ignition Coil 5 Control (LBK/LBM)

33

YE

--

Ignition Coil 3 Control (LBK/LBM)

BN

--

Fuel Injector 4 Low (LLW)

34

BK

--

Shield Ground (LBK/LBM)

L-BU/BK

--

Fuel Rail Pressure Regulator Control (LLW)

35-36

--

--

Not Used

37

D-BU/WH

--

IAT Signal (LLW)

OG

--

Fuel Consumption Signal (LBK/LBM)

38

BN/WH

--

Low Reference (LBK/LBM)

39

D-BU/WH

--

Fuel Level Sensor Signal (LBK/LBM)

40

PU

--

Low Reference (LBK/LBM)

GY/BK

--

Boost Pressure Actuator Intake Air Pressure Signal (LLW)

41

--

--

Not Used

42

PU/WH

--

MAF Signal (LLW)

43

GY/BK

--

Fuel Rail Pressure Sensor Signal (LLW)

44

YE/BK

--

IAT, MAF Ground (LLW)

45

WH

--

Cruise Indicator Control (LLW)

46

GY

--

EGR Solenoid Control (LBK/LBM)

BN/WH

--

Fuel Injector 3 Low (LLW)

47

WH/BK

--

Intake Manifold Tuning (IMT) Valve Solenoid Control (LBK/LBM)

WH

--

Fuel Injector 1 Low (LLW)

48

--

--

Not Used

49

D-GN

--

High Pressure Pump Control (LLW)

50

L-GN/BK

--

CMP Signal (LLW)

51

D-BU

--

Cooling Fan Hi Relay Control (LBK/LBM)

52

GY/BK

--

Throttle Plate Actuator Feedback Signal (LLW)

53

WH

--

Cruise Indicator Control (LBK/LBM)

L-GN

--

Boost Pressure Actuator IAT Signal (LLW)

54

L-BU

--

APP Sensor 2 Signal (LBK/LBM)

55

BN

--

Low Reference (LBK/LBM)

56

D-BU

--

APP Sensor 1 Signal (LBK/LBM)

L-BU/BK

--

Cruise Switch (LLW)

57

PU

--

TP Sensor 2 Signal (LBK/LBM)

58

BK

--

Low Reference (LBK/LBM)

59

D-BU

--

TP Sensor 1 Signal (LBK/LBM)

WH/BK

--

Throttle Plate Actuator Control (LLW)

60

D-GN/WH

--

EGR Control (LLW)

Engine Control Module (ECM) X2


Object Number: 1725343  Size: CH

Connector Part Information

  • OEM: 3-1355136-3
  • Service: N/A
  • Description: 94-Way F MQS 1.5/2.8 MCP Series, Sealed (BK)

Engine Control Module (ECM) X2

Pin

Wire

Circuit

Function

1

BK

--

Ground (LBK/LBM)

PK/BK

--

Battery Positive Voltage (LLW)

2

PK

--

Ignition 1 Voltage (LBK/LBM)

BK

--

Ground (LLW)

3

BK

--

Ground (LBK/LBM)

PK/BK

--

Battery Positive Voltage (LLW)

4

PK

--

Ignition 1 Voltage (LBK/LBM)

BK

--

Ground (LLW)

5

BK

--

Ground (LBK/LBM)

PK

--

Battery Positive Voltage (LLW)

6

RD/WH

--

Battery Positive Voltage (LBK/LBM)

BK

--

Ground (LLW)

7

--

--

Not Used

8

PU

--

APP Sensor Low Reference (2) (LLW)

9

D-BU/WH

--

Low Reference (LBK/LBM)

D-BU

--

APP Sensor Signal (1) (LLW)

10

D-GN/WH

--

HO2S2 Bank 1 Sensor 2 Signal (LBK/LBM)

YE/BK

--

Fuel Temperature Sensor Ground (LLW)

11

PU/WH

--

HO2S2 Bank 1 Sensor 1 Signal (LBK/LBM)

L-GN/BK

--

Fuel Temperature Signal (LLW)

12

D-GN/WH

--

Low Reference (LBK/LBM)

BK/WH

--

Ground (LLW)

13

PU/WH

--

Knock Sensor 1 Signal (LBK/LBM)

OG/BK

--

A/C Refrigerant Pressure Sensor Signal (LLW)

14

YE/BK

--

Knock Sensor 1 Ground (LBK/LBM)

15

L-GN/BK

--

Rough Road Sensor Signal (LBK/LBM)

16

GY

--

Cruise Switch Ground (LBK/LBM)

17

D-GN/WH

--

A/C Request Signal (LBK/LBM)

L-BU

--

Stop Lamp Switch Signal (LLW)

18

GY/BK

--

ECT Ground (LLW)

19

BK

--

Low Reference (LBK/LBM)

BN

--

Generator Voltage Signal (LLW)

20

YE

--

Intake Manifold Tuning (IMT) Valve Sensor Signal (LLW)

D-GN/WH

--

Fuel Pump Relay Control (LLW)

21

D-BU/WH

--

Knock Sensor 2 Signal (LBK/LBM)

D-BU

--

Change Oil Soon Indicator Control (LLW)

22

YE/BK

--

Knock Sensor 2 Ground (LBK/LBM)

BN/WH

--

5-Volt Reference (LLW)

23

GY

--

5-Volt Reference 3 (LBK/LBM)

24

WH/BK

--

5-Volt Reference 3 (LBK/LBM)

25

--

--

Not Used

26

D-GN

135

ECT Signal (LLW)

27

--

--

Not Used

28

PK/BK

--

Ignition 1 Voltage (LLW)

29

PU/WH

--

A/C Compressor Control (LLW)

30

GY/BK

--

Low Reference (LBK/LBM)

BN

--

APP Sensor Low Reference (1) (LLW)

31

YE

--

MAF Sensor Signal (LBK/LBM)

L-BU

--

APP Sensor Signal (2) (LLW)

32

PK/BK

--

CMP Sensor Ground (LBK/LBM)

L-BU/BK

--

Exhaust Gas Temperature Sensor Signal 2 (LLW)

33

BN/WH

--

CMP Sensor Signal (LBK/LBM)

YE/WH

--

Exhaust Gas Temperature Sensor 2 Ground (LLW)

34

BK

--

Low Reference (LBK/LBM)

PU/WH

--

Exhaust Gas Temperature Sensor Signal 1 (LLW)

35

D-GN

--

FTP Sensor Signal (LBK/LBM)

D-BU/WH

--

Exhaust Gas Temperature Sensor 1 Ground (LLW)

36

--

--

Not Used

37

BN

--

Low Reference (LBK/LBM)

L-BU

--

Diesel Particulate Filter Pressure Sensor Ground (LLW)

38

D-GN/WH

817

Vehicle Speed Signal (LBK/LBM w/MFB/MFN)

39

L-GN/BK

--

Ground (LBK/LBM)

40

L-BU/BK

--

Cruise Switch Positive (LBK/LBM)

41

OG/BK

--

Refrigerant Pressure Signal (LBK/LBM)

42

BN

--

Ground (RHD LBK/LBM)

GY

--

Ground (LHD LBK/LBM)

43

--

--

Not Used

44

PU/WH

--

Diesel Particulate Filter Pressure Sensor 5-Volt Reference (LLW)

45

WH/BK

--

APP Sensor 5-Volt Reference (1) (LLW)

46

D-GN

--

APP Sensor 5-Volt Reference (2) (LLW)

47

L-BU

--

5-Volt Reference (RHDLBK/LBM)

GY

--

5-Volt Reference (LHDLBK/LBM)

48

OG/BK

--

5-Volt Reference 1 (LBK/LBM)

WH

--

Engine Speed Signal (LLW)

49

D-GN

--

5-Volt Reference 3 (LBK/LBM)

BN

--

Charge Indicator Control (LLW)

50

YE

--

Clutch Switch Signal (Holden)

51

--

--

Not Used

52

L-GN/BK

--

Glow Plug Diagnosis (LLW)

53

PU

--

Stop Lamp Switch Signal (LBK/LBM)

54

BN

--

Brake Pedal Switch Signal (LLW)

55

YE/BK

--

CKP Sensor Reference High (LBK/LBM)

56

D-BU/WH

--

CKP Sensor Reference Low (LBK/LBM)

57

BN/WH

--

CKP Sensor Ground (LBK/LBM)

WH/BK

--

PTC Request Signal (LLW)

58

L-BU

--

Intake Air Temperature (IAT) Sensor Signal (LBK/LBM)

59

YE/BK

--

Low Reference (LBK/LBM)

60-61

--

--

Not Used

62

YE

--

ECT Sensor Signal (LBK/LBM)

63

--

--

Not Used

64

BN

--

Engine Main Relay Control (LBK/LBM)

YE/BK

--

Diesel Particulate Filter Pressure Sensor Signal (LLW)

65

--

--

Not Used

66

L-BU/BK

--

Fuel Injector 4 Control (LBK/LBM)

BN

--

ECT Signal (LLW)

67

L-GN/BK

--

Fuel Injector 2 Control (LBK/LBM)

GY/BK

--

ECT Indicator Control (LLW)

68

YE/BK

--

Fuel Injector 6 Control (LBK/LBM)

D-BU

--

Fuel Heater Relay Control (LLW)

69

D-GN

--

Cooling Fan Low Speed Relay Control (LLW)

70

D-GN/WH

--

Fuel Pump Relay Control (LBK/LBM)

YE

--

Diesel Particulate Filter Indicator Control (LLW)

71

D-BU

--

TAC Motor Control 1 (LBK/LBM)

PU/WH

--

MIL Control (LLW)

72

L-BU

--

TAC Motor Control 2 (LBK/LBM)

GY/BK

--

Engine Main Relay Coil Control (LLW)

73-74

--

--

Not Used

75

D-BU

--

Generator Field Duty Cycle Signal (LLW)

76

WH/BK

--

Serial Data (LBK/LBM)

77

BN/WH

--

CAN Serial Data High (LBK/LBM)

78

BN

--

CAN Serial Data Low (LBK/LBM)

79

D-GN/WH

--

A/C Request Signal (LLW)

80

YE

--

Clutch Switch Signal (Except Holden)

81-82

--

--

Not Used

83

L-BU

--

Stop Lamp Switch Signal (LBK/LBM)

L-GN

--

CAN Low (LLW)

84

BN/WH

--

CAN High (LLW)

85

--

--

Not Used

86

D-GN

--

Engine Temperature Gage Output (LBK/LBM)

87

PU/WH

--

A/C Compressor Control (LBK/LBM)

88

YE

--

Fuel Gage Signal (LBK/LBM)

WH

--

Cooling Fan Control Relay Control (LLW)

89

BN

--

Fuel Injector 1 Control (LBK/LBM)

90

BN/WH

--

Fuel Injector 5 Control (LBK/LBM)

D-BU

473

Cooling Fan High Speed Relay Control (LLW)

91

PK/BK

--

Fuel Injector 3 Control (LBK/LBM)

L-GN/WH

--

PTC Relay 2, 3 Control (LLW)

92

D-BU

--

MIL Control (LBK/LBM)

L-BU

--

Glow Plug Indicator Control (LLW)

93

GY

--

HO2S1 Bank 1 Sensor 1 Heater Control (LBK/LBM)

WH

--

Glow Plug Control (LLW)

94

GY/WH

--

HO2S2 Bank 1 Heater Control (LBK/LBM)

YE

--

PTC Relay Control (LLW)

Engine Coolant Temperature (ECT) Sensor (LBK/LBM)


Object Number: 1467003  Size: CH

Connector Part Information

  • OEM: AK0442
  • Service: N/A
  • Description: 2-Way Connector F (BK)

Engine Coolant Temperature (ECT) Sensor (LBK/LBM)

Pin

Wire

Circuit

Function

1

YE

--

Engine Coolant Temperature (ECT) Sensor Signal

2

BK/WH

--

Ground

Engine Coolant Temperature (ECT) Sensor (LLW)


Object Number: 62426  Size: CH

Connector Part Information

  • OEM: 12040753
  • Service: N/A
  • Description: 2-Way F 150 Series Sealed

Engine Coolant Temperature (ECT) Sensor (LLW)

Pin

Wire

Circuit

Function

A

BN

--

Engine Coolant Temperature (ECT) Sensor Signal

B

GY/BK

--

Ground

Evaporative Emissions (EVAP) Canister Purge Solenoid Valve (LBK/LBM)


Object Number: 1467003  Size: CH

Connector Part Information

  • OEM: 85202-1
  • Service: N/A
  • Description: 2-Way F JPT Series (BK)

Evaporative Emissions (EVAP) Canister Purge Solenoid Valve (LBK/LBM)

Pin

Wire

Circuit

Function

1

PK

--

Ignition 1 Voltage

2

D-GN/WH

--

EVAP Canister Purge Valve Solenoid Control

Evaporative Emissions (EVAP) Canister Vent Solenoid Valve (LBK/LBM)


Object Number: 1481266  Size: CH

Connector Part Information

  • OEM: AK32229
  • Service: N/A
  • Description: 2-Way F (BN)

Evaporative Emissions (EVAP) Canister Vent Solenoid Valve (LBK/LBM)

Pin

Wire

Circuit

Function

1

PU

--

EVAP Canister Vent Solenoid Control

2

PK/BK

--

Ignition 1 Voltage

Exhaust Gas Recirculation (EGR) Valve (LBK/LBM)


Object Number: 684863  Size: CH

Connector Part Information

  • OEM: 12129946
  • Service: N/A
  • Description: 5-Way F Metri-Pack 150 Series Sealed (GY)

Exhaust Gas Recirculation (EGR) Valve (LBK/LBM)

Pin

Wire

Circuit

Function

A

GY

--

Exhaust Gas Recirculation (EGR) Solenoid Control

B

BN

--

Low Reference

C

GY

--

Exhaust Gas Recirculation (EGR) Valve Position Sensor Signal

D

OG/BK

--

5-Volt Reference

E

PK

--

Ignition 1 Voltage

Exhaust Gas Recirculation (EGR) Valve (LLW)


Object Number: 1467003  Size: CH

Connector Part Information

  • OEM: 827551-3
  • Service: N/A
  • Description: 2-Way F Timer Sealed

Exhaust Gas Recirculation (EGR) Valve (LLW)

Pin

Wire

Circuit

Function

1

PK/WH

--

Battery Positive Voltage

2

D-GN/WH

--

EGR Solenoid Control

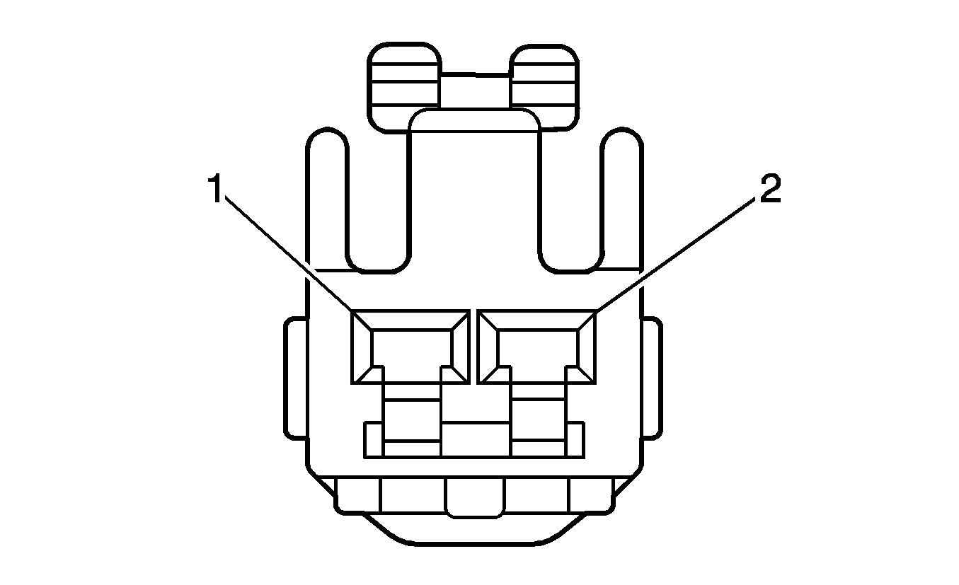
Exhaust Gas Temperature Sensor 1 (LLW)


Object Number: 1830938  Size: CH

Connector Part Information

  • OEM: 621-02020
  • Service: N/A
  • Description: 2-Way M Sealed (BK)

Exhaust Gas Temperature Sensor 1 (LLW)

Pin

Wire

Circuit

Function

1

PU/WH

--

Signal

2

BU/WH

--

Ground

Exhaust Gas Temperature Sensor 2 (LLW)


Object Number: 1830938  Size: CH

Connector Part Information

  • OEM: 621-02020
  • Service: N/A
  • Description: 2-Way M, Sealed (BK)

Exhaust Gas Temperature Sensor 2 (LLW)

Pin

Wire

Circuit

Function

1

L-BU/BK

--

Signal

2

YE/WH

--

Ground

Fog Lamp - Left Front


Object Number: 1468380  Size: CH

Connector Part Information

  • OEM: PB625-02027
  • Service: N/A
  • Description: 2-Way F NMWP 04F-B Series

Fog Lamp - Left Front

Pin

Wire

Circuit

Function

1

PU

--

Front Fog Lamp Supply Voltage

2

BK

--

Ground

Fog Lamp - Left Rear


Object Number: 1468380  Size: CH

Connector Part Information

  • OEM: PB625-02027
  • Service: N/A
  • Description: 2-Way F NMWP 04F-B Series

Fog Lamp - Left Rear

Pin

Wire

Circuit

Function

1

BK

--

Ground

2

OG

--

Rear Fog Lamp Supply Voltage

Fog Lamp - Right Front


Object Number: 1468380  Size: CH

Connector Part Information

  • OEM: PB625-02027
  • Service: N/A
  • Description: 2-Way F NMWP 04F-B Series

Fog Lamp - Right Front

Pin

Wire

Circuit

Function

1

PU

--

Front Fog Lamp Supply Voltage

2

BK

--

Ground

Fog Lamp - Right Rear


Object Number: 1468380  Size: CH

Connector Part Information

  • OEM: PB625-02027
  • Service: N/A
  • Description: 2-Way F NMWP 04F-B Series

Fog Lamp - Right Rear

Pin

Wire

Circuit

Function

1

BK

--

Ground

2

OG

--

Rear Fog Lamp Supply Voltage

Front Defogger


Object Number: 1830938  Size: CH

Connector Part Information

  • OEM: PB621-02020
  • Service: N/A
  • Description: 2-Way M Sealed (BK)

Front Defogger

Pin

Wire

Circuit

Function

1

BK

250

Ground

2

D-BU

2293

Front Defogger Supply Voltage

Fuel Filter Heater/Temperature Sensor (LLW)


Object Number: 1835094  Size: CH

Connector Part Information

  • OEM: 17260406A
  • Service: N/A
  • Description: 6-Way F 280 Series Sealed

Fuel Filter Heater/Temperature Sensor (LLW)

Pin

Wire

Circuit

Function

1-2

--

--

Not Used

3

BK

--

Ground

4

PU

--

Fuel Filter Heater Supply Voltage

5

L-GN/BK

--

Fuel Temperature Signal

6

YE/BK

--

Fuel Temperature Ground

Fuel Injector 1 (LBK/LBM)


Object Number: 1467003  Size: CH

Connector Part Information

  • OEM: 85202-1
  • Service: N/A
  • Description: 2-Way F JPT Series (BK)

Fuel Injector 1 (LBK/LBM)

Pin

Wire

Circuit

Function

1

PK

--

Ignition 1 Voltage

2

BN

--

Fuel Injector 1 Control

Fuel Injector 1 (LLW)


Object Number: 784092  Size: CH

Connector Part Information

  • OEM: 1928403874
  • Service: N/A
  • Description: 2-Way F Kompakt 2.8 Series, Sealed (BK)

Fuel Injector 1 (LLW)

Pin

Wire

Circuit

Function

1

YE/BK

--

High

2

WH

--

Low

Fuel Injector 2 (LBK/LBM)


Object Number: 1467003  Size: CH

Connector Part Information

  • OEM: 85202-1
  • Service: N/A
  • Description: 2-Way F JPT Series (BK)

Fuel Injector 2 (LBK/LBM)

Pin

Wire

Circuit

Function

1

PK

--

Ignition 1 Voltage

2

L-GN/BK

--

Fuel Injector 2 Control

Fuel Injector 2 (LLW)


Object Number: 784092  Size: CH

Connector Part Information

  • OEM: 1928403874
  • Service: N/A
  • Description: 2-Way F Kompakt 2.8 Series, Sealed (BK)

Fuel Injector 2 (LLW)

Pin

Wire

Circuit

Function

1

L-GN

--

High

2

BU

--

Low

Fuel Injector 3 (LBK/LBM)


Object Number: 1467003  Size: CH

Connector Part Information

  • OEM: 85202-1
  • Service: N/A
  • Description: 2-Way F JPT Series (BK)

Fuel Injector 3 (LBK/LBM)

Pin

Wire

Circuit

Function

1

PK

--

Ignition 1 Voltage

2

PK/BK

--

Fuel Injector 3 Control

Fuel Injector 3 (LLW)


Object Number: 784092  Size: CH

Connector Part Information

  • OEM: 1928403874
  • Service: N/A
  • Description: 2-Way F Kompakt 2.8 Series, Sealed (BK)

Fuel Injector 3 (LLW)

Pin

Wire

Circuit

Function

1

L-BU

--

High

2

BN/WH

--

Low

Fuel Injector 4 (LBK/LBM)


Object Number: 1467003  Size: CH

Connector Part Information

  • OEM: 85202-1
  • Service: N/A
  • Description: 2-Way F JPT Series (BK)

Fuel Injector 4 (LBK/LBM)

Pin

Wire

Circuit

Function

1

PK

--

Ignition 1 Voltage

2

L-BU/BK

--

Fuel Injector 4 Control

Fuel Injector 4 (LLW)


Object Number: 784092  Size: CH

Connector Part Information

  • OEM: 1928403874
  • Service: N/A
  • Description: 2-Way F Kompakt 2.8 Series, Sealed (BK)

Fuel Injector 4 (LLW)

Pin

Wire

Circuit

Function

1

D-GN

--

High

2

BN

--

Low

Fuel Injector 5 (LBK/LBM)


Object Number: 1467003  Size: CH

Connector Part Information

  • OEM: 85202-1
  • Service: N/A
  • Description: 2-Way F JPT Series (BK)

Fuel Injector 5 (LBK/LBM)

Pin

Wire

Circuit

Function

1

PK

--

Ignition 1 Voltage

2

BN/WH

--

Fuel Injector 5 Control

Fuel Injector 6 (LBK/LBM)


Object Number: 1467003  Size: CH

Connector Part Information

  • OEM: 85202-1
  • Service: N/A
  • Description: 2-Way F JPT Series (BK)

Fuel Injector 6 (LBK/LBM)

Pin

Wire

Circuit

Function

1

PK

--

Ignition 1 Voltage

2

YE/BK

--

Fuel Injector 6 Control

Fuel Pump (LBM/LBK)


Object Number: 1468528  Size: CH

Connector Part Information

  • OEM: KAFUS B06009A
  • Service: N/A
  • Description: 6-Way F

Fuel Pump (LBM/LBK)

Pin

Wire

Circuit

Function

1

D-BU

--

Low Fuel Indicator Signal

2

BK

--

Ground

3

GY

--

Fuel Pump Supply Voltage

4

PK

--

Ignition 1 Voltage

5

YE

--

Fuel Level Sensor Signal

6

BN

--

Low Reference 2.5L

PU

--

Low Reference 2.0L

Fuel Pump Module (LLW)


Object Number: 1468407  Size: CH

Connector Part Information

  • OEM: MG641521
  • Service: N/A
  • Description: 5-Way F 090-II Sealed

Fuel Pump Module (LLW)

Pin

Wire

Circuit

Function

1

--

--

Not Used

2

D-BU

--

Fuel Sensor Signal

3

PU

--

Ground

4

GY

--

Fuel Pump Supply Voltage

5

BK

--

Ground

Fuel Rail Pressure Control Valve (LLW)


Object Number: 784092  Size: CH

Connector Part Information

  • OEM: 1928403874
  • Service: N/A
  • Description: 2-Way F Kompakt 2.8 Series, Sealed (BK)

Fuel Rail Pressure Control Valve (LLW)

Pin

Wire

Circuit

Function

1

L-BU/BK

--

Low

2

BN/WH

--

Ground

Fuel Rail Pressure Sensor (LLW)


Object Number: 1331443  Size: CH

Connector Part Information

  • OEM: 1928403968
  • Service: N/A
  • Description: 2-Way F Kompakt 2.8 Series, Sealed (BK)

Fuel Rail Pressure Sensor (LLW)

Pin

Wire

Circuit

Function

1

D-GN/WH

--

Ground

2

GY/BK

--

Signal

3

L-BU

--

5-Volt Reference

Fuel Tank Pressure (FTP) Sensor (LBK/LBM)


Object Number: 1497773  Size: CH

Connector Part Information

  • OEM: AK32311
  • Service: N/A
  • Description: 3-Way F (BK)

Fuel Tank Pressure (FTP) Sensor (LBK/LBM)

Pin

Wire

Circuit

Function

1

BK

--

Low Reference

2

D-GN

--

Fuel Tank Pressure (FTP) Signal

3

GY

--

5-Volt Reference

Generator


Object Number: 697046  Size: CH

Connector Part Information

  • OEM: 12186568
  • Service: N/A
  • Description: 4-Way F Metri-Pack 150 Series (BK)

Generator

Pin

Wire

Circuit

Function

A

--

--

Not Used

B

BN

--

Charge Indicator Control/Charge Indicator Signal

C

PK

--

Ignition 1 Voltage (LBK/LBM)

D-BU

--

Generator Power Control (LLW)

D

--

--

Not Used

Glow Plug Control Unit (LLW)


Object Number: 1835994  Size: CH

Connector Part Information

  • OEM: 60432001
  • Service: N/A
  • Description: 11-Way F Mixed Series, Sealed (BK)

Glow Plug Control Unit (LLW)

Pin

Wire

Circuit

Function

1

PU

--

Glow Plug Supply Voltage

2

PU

--

Glow Plug Supply Voltage

3

PU

--

Glow Plug Supply Voltage

4

PU

--

Glow Plug Supply Voltage

5

--

--

Not Used

6

PK/WH

--

Ignition Voltage

7

BK

--

Ground

8

--

--

Not Used

9

L-GN/BK

--

Diagnosis

10

RD/WH

--

Battery Positive Voltage

11

WH

--

Glow Plug Control

Hazard Switch


Object Number: 1467121  Size: CH

Connector Part Information

  • OEM: MG651056
  • Service: N/A
  • Description: 10-Way F 090-II Series (WH)

Hazard Switch

Pin

Wire

Circuit

Function

1

--

--

Not Used

2

GN

--

Ground

3

BN/WH

--

Dimmer PWM Output

4-6

--

--

Not Used

7

BK

--

Ground

8

PU

--

Hazard Switch Signal

9-10

--

--

Not Used

Headlamp - Left (TR6)


Object Number: 1468383  Size: CH

Connector Part Information

  • OEM: PB625-06027
  • Service: N/A
  • Description: 6-Way F NMWP 06F-B Series, Sealed (BK)

Headlamp - Left (TR6)

Pin

Wire

Circuit

Function

1

BK

--

Ground

2

PU

--

Park Lamp Supply Voltage

3

GN

--

Headlamp Levelling

4

GN/WH

--

High Beam Supply Voltage

5

YE

--

Low Beam Supply Voltage

6

BK

--

Ground

Headlamp - Left (-TR6)


Object Number: 1467011  Size: CH

Connector Part Information

  • OEM: PB625-04027
  • Service: N/A
  • Description: 4-Way F NMWP 04F-B Series, Sealed (BK)

Headlamp - Left (-TR6)

Pin

Wire

Circuit

Function

1

--

--

Not Used

2

BK

--

Ground

3

GN/WH

--

High Beam Supply Voltage

4

YE

--

Low Beam Supply Voltage

Headlamp - Right (TR6)


Object Number: 1468383  Size: CH

Connector Part Information

  • OEM: PB625-06027
  • Service: N/A
  • Description: 6-Way F NMWP 06F-B Series, Sealed (BK)

Headlamp - Right (TR6)

Pin

Wire

Circuit

Function

1

BK

--

Ground

2

BN/WH

--

Park Lamp Supply Voltage

3

GN

--

Headlamp Levelling

4

L-GN/BK

--

High Beam Supply Voltage

5

BN/WH

--

Low Beam Supply Voltage

6

BK

--

Ground

Headlamp - Right (-TR6)


Object Number: 1467011  Size: CH

Connector Part Information

  • OEM: PB625-04027
  • Service: N/A
  • Description: 4-Way F NMWP 04F-B Series, Sealed (BK)

Headlamp - Right (-TR6)

Pin

Wire

Circuit

Function

1

--

--

Not Used

2

BK

--

Ground

3

L-GN/BK

--

High Beam Supply Voltage

4

BN/WH

--

Low Beam Supply Voltage

Headlamp Switch


Object Number: 1849805  Size: CH

Connector Part Information

  • OEM: 936271-1
  • Service: N/A
  • Description: 6-Way M 090 Series (NA)

Headlamp Switch

Pin

Wire

Circuit

Function

1

GY/BK

2185

Park Lamp Switch Signal

2

BK

1250

Ground

3

L-GN/BK

2184

Off Switch (T82)

4

BK

1250

Ground

5

YE

317

Front Fog Lamp Switch Signal

6

GY/BK

1798

Head Lamp Switch Signal

Heated Oxygen Sensor (HO2S) Bank 1 Sensor 1 (LBK/LBM)


Object Number: 1466979  Size: CH

Connector Part Information

  • OEM: 174257-2
  • Service: N/A
  • Description: 4-Way M 070 Series Econoseal J MK-2 Series (BK)

Heated Oxygen Sensor (HO2S) Bank 1 Sensor 1 (LBK/LBM)

Pin

Wire

Circuit

Function

1

PU/WH

--

Heated Oxygen Sensor (HO2S) Bank 1 Sensor 1 Signal

2

PK

--

Ignition 1 Voltage

3

D-GN/WH

--

Low Reference

4

GY

--

Heated Oxygen Sensor (HO2S) Bank 1 Sensor 1 Heater Control

Heated Oxygen Sensor (HO2S) Bank 1 Sensor 2 (LBK/LBM)


Object Number: 1468381  Size: CH

Connector Part Information

  • OEM: PB625-04027
  • Service: N/A
  • Description: 4-Way F NMWP 02F-B Series (BK)

Heated Oxygen Sensor (HO2S) Bank 1 Sensor 2 (LBK/LBM)

Pin

Wire

Circuit

Function

1

D-GN/WH

--

Heated Oxygen Sensor (HO2S) Bank 1 Sensor 2 Signal

2

PK

--

Ignition 1 Voltage

3

D-BU/WH

--

Low Reference

4

GY/WH

--

Heated Oxygen Sensor (HO2S) Bank 1 Sensor 2 Heater Control

Heated Oxygen Sensor (HO2S) Bank 2 Sensor 1 (LBK/LBM)


Object Number: 1466979  Size: CH

Connector Part Information

  • OEM: 174257-2
  • Service: N/A
  • Description: 4-Way M 070 Series Econoseal J MK-2 Series (BK)

Heated Oxygen Sensor (HO2S) Bank 2 Sensor 1 (LBK/LBM)

Pin

Wire

Circuit

Function

1

PU

--

Heated Oxygen Sensor (HO2S) Bank 2 Sensor 1 Signal

2

PK

--

Ignition 1 Voltage

3

D-GN

--

Low Reference

4

L-GN/WH

--

Heated Oxygen Sensor (HO2S) Bank 2 Sensor 1 Heater Control

Heated Oxygen Sensor (HO2S) Bank 2 Sensor 2 (LBK/LBM)


Object Number: 1468381  Size: CH

Connector Part Information

  • OEM: PB625-04027
  • Service: N/A
  • Description: 4-Way F NMWP 02F-B Series (BK)

Heated Oxygen Sensor (HO2S) Bank 2 Sensor 2 (LBK/LBM)

Pin

Wire

Circuit

Function

1

BN

--

Heated Oxygen Sensor (HO2S) Bank 2 Sensor 2 Signal

2

PK

--

Ignition 1 Voltage

3

D-BU

--

Low Reference

4

L-GN

--

Heated Oxygen Sensor (HO2S) Bank 2 Sensor 2 Heater Control

Heated Seat - Driver (C37)


Object Number: 1506485  Size: CH

Connector Part Information

  • OEM: MG610263
  • Service: N/A
  • Description: N/A

Heated Seat - Driver (C37)

Pin

Wire

Circuit

Function

1

RD/WH

--

Ground

2

D-GN

--

Heated Seat Supply Voltage

Heated Seat - Passenger (C38)


Object Number: 1506485  Size: CH

Connector Part Information

  • OEM: MG610263
  • Service: N/A
  • Description: N/A

Heated Seat - Passenger (C38)

Pin

Wire

Circuit

Function

1

D-BU/WH

--

Heated Seat Supply Voltage

2

BK

--

Ground

Heated Seat Switch - Driver (C37)


Object Number: 1957538  Size: CH

Connector Part Information

  • OEM: MG651044-2
  • Service: N/A
  • Description: 6-Way F 090 II Series (NA)

Heated Seat Switch - Driver (C37)

Pin

Wire

Circuit

Function

1

BN

--

Accessory Voltage

BN

--

Accessory Voltage

2

BK

--

Ground

3

BK

--

Ground (LHD)

4

L-BU

--

Heated Seat Supply Voltage (LHD)

BN

--

Accessory Voltage (RHD)

5

BN

--

Accessory Voltage (LHD)

L-BU

--

Heated Seat Supply Voltage (RHD)

6

BK

--

Ground (RHD)

Heated Seat Switch - Passenger (C38)


Object Number: 1957538  Size: CH

Connector Part Information

  • OEM: MG651044
  • Service: N/A
  • Description: 6-Way F 090 II Series (NA)

Heated Seat Switch - Passenger (C38)

Pin

Wire

Circuit

Function

1

GY

--

Accessory Voltage

2

BK

--

Ground

3

BK

--

Ground (RHD)

4

GY

--

Accessory Voltage (LHD)

GY

--

Accessory Voltage (LHD)

D-BU/WH

--

Heated Seat Supply Voltage (RHD)

5

D-BU/WH

--

Heated Seat Supply Voltage (LHD)

GY

--

Accessory Voltage (RHD)

GY

--

Accessory Voltage (RHD)

6

BK

--

Ground (LHD)

High Pressure Pump (LLW)


Object Number: 784092  Size: CH

Connector Part Information

  • OEM: 1928403874
  • Service: N/A
  • Description: 2-Way F Kompakt 2.8 Series, Sealed (BK)

High Pressure Pump (LLW)

Pin

Wire

Circuit

Function

1

PU/WH

--

Battery Positive Voltage

2

D-GN

--

Control

High Speed Blower Motor Relay (C68)


Object Number: 1497842  Size: CH

Connector Part Information

  • OEM: AK5443-R
  • Service: N/A
  • Description:

High Speed Blower Motor Relay (C68)

Pin

Wire

Circuit

Function

30

PK

--

Blower Motor Speed Signal

85

BN

--

Ignition Voltage

86

D-BU/BK

--

High Speed Blower Motor Control

87

BK

--

Ground

Hood Ajar Switch


Object Number: 1468416  Size: CH

Connector Part Information

  • OEM: MG611530
  • Service: N/A
  • Description: 3-Way F (WH)

Hood Ajar Switch

Pin

Wire

Circuit

Function

1

BK

--

Ground

2

PK/BK

--

Hood Ajar Switch Signal

3

--

--

Not Used

Horn - High


Object Number: 1467089  Size: CH

Connector Part Information

  • OEM: MG641156
  • Service: N/A
  • Description: 2-Way F 090 WP Series (GY)

Horn - High

Pin

Wire

Circuit

Function

1

D-GN

--

Horn Control

2

BK

--

Ground

Horn - Low


Object Number: 1467089  Size: CH

Connector Part Information

  • OEM: MG641156
  • Service: N/A
  • Description: 2-Way F WP Series (GY)

Horn - Low

Pin

Wire

Circuit

Function

1

D-GN

--

Horn Control

2

BK

--

Ground

HVAC Control Module (C60/C66)


Object Number: 1467032  Size: CH

Connector Part Information

  • OEM: MG610363
  • Service: N/A
  • Description: WH

HVAC Control Module (C60/C66)

Pin

Wire

Circuit

Function

1

PK/BK

--

Ground

2

L-BU

--

Air Mix Door Motor Control

3

YE

--

Air Mix Door Motor Signal

4

--

--

Not Used

5

BN

--

Ignition Voltage

6

D-GN/WH

--

A/C Request Signal

7

BN

--

Air Mix Door Motor Control

8

YE/BK

--

Air Mix Door Motor Signal

9-10

--

--

Not Used

11

D-GN/BK

--

Recirc Door Control

12

PK/WH

--

Recirc Door Control

13

--

--

Not Used

14

OG

--

Battery Voltage

15

D-GN/BK

--

Mode Actuator Signal

16

PK

--

Mode Actuator Signal

17

YE/D-BU

--

Mode Actuator Signal

18

WH/BK

--

Mode Actuator Signal

19

PK/BK

--

Mode Actuator Signal

20

WH/RD

--

Blower Switch Signal

HVAC Control Module X1 (C68)


Object Number: 1468412  Size: CH

Connector Part Information

  • OEM: MG610360
  • Service: N/A
  • Description: 16-Way F SP Series (NA)

HVAC Control Module X1 (C68)

Pin

Wire

Circuit

Function

1

BK

--

Ground

2

L-BU

--

Air Temperature Door Control

3

--

--

Not Used

4

BN/WH

--

Instrument Panel Lamps Dimmer Switch Control

5

BN

--

Ignition 2 Voltage

6

D-GN/WH

--

A/C Request Signal

7

--

--

Not Used

8

YE

--

Air Temperature Door Control

9-12

--

--

Not Used

13

PK

--

Defogger

14

OG

--

Battery Positive Voltage

15

YE

--

Ground

16

D-BU/BK

--

Blower High Relay Control

HVAC Control Module X2 (C68)


Object Number: 1467032  Size: CH

Connector Part Information

  • OEM: MG610363
  • Service: N/A
  • Description: WH

HVAC Control Module X2 (C68)

Pin

Wire

Circuit

Function

1

--

--

Not Used

2

GY/BK

--

Blower Motor Power Transistor Control

3

--

--

Not Used

4

BN

--

Air Temp Actuator Reference Voltage

5

YE/BK

--

Air Temp Actuator Signal

6

BK

--

Ground

7

D-GN

--

Wiper Signal

8

L-GN/BK

--

Ambient Air Temperature Sensor Signal

9

--

--

Not Used

10

L-BU/BK

--

Sunload Sensor Signal

11

BK

--

Ground

12

D-BU

--

Blower Feedback

13

PK/WH

--

Recirc Door Control A

14

D-GN/BK

--

Recirc Door Control B

15

WH

--

Defogger

16

D-GN/BK

--

Mode Actuator

17

PK

--

Mode Actuator

18

YE/D-BU

--

Mode Actuator

19

WH/BK

--

Mode Actuator

20

PK/BK

--

Mode Actuator

Ignition Coil Module 1 (LBK/LBM)


Object Number: 1497775  Size: CH

Connector Part Information

  • OEM: AK32325
  • Service: N/A
  • Description: 3-Way F (GY)

Ignition Coil Module 1 (LBK/LBM)

Pin

Wire

Circuit

Function

A

PU

--

Ignition Coil 1 Control

B

BK

--

Ground

C

PK/BK

--

Ignition 1 Voltage

Ignition Coil Module 2 (LBK/LBM)


Object Number: 1497775  Size: CH

Connector Part Information

  • OEM: AK32325
  • Service: N/A
  • Description: 3-Way F (GY)

Ignition Coil Module 2 (LBK/LBM)

Pin

Wire

Circuit

Function

A

OG

--

Ignition Coil 2 Control

B

BK

--

Ground

C

PK/BK

--

Ignition 1 Voltage

Ignition Coil Module 3 (LBK/LBM)


Object Number: 1497775  Size: CH

Connector Part Information

  • OEM: AK32325
  • Service: N/A
  • Description: 3-Way F (GY)

Ignition Coil Module 3 (LBK/LBM)

Pin

Wire

Circuit

Function

A

YE

--

Ignition Coil 3 Control

B

BK

--

Ground

C

PK/BK

--

Ignition 1 Voltage

Ignition Coil Module 4 (LBK/LBM)


Object Number: 1497775  Size: CH

Connector Part Information

  • OEM: AK32325
  • Service: N/A
  • Description: 3-Way F (GY)

Ignition Coil Module 4 (LBK/LBM)

Pin

Wire

Circuit

Function

A

D-BU

--

Ignition Coil 4 Control

B

BK

--

Ground

C

PK/BK

--

Ignition 1 Voltage

Ignition Coil Module 5 (LBK/LBM)


Object Number: 1497775  Size: CH

Connector Part Information

  • OEM: AK32325
  • Service: N/A
  • Description: 3-Way F (GY)

Ignition Coil Module 5 (LBK/LBM)

Pin

Wire

Circuit

Function

A

D-GN

--

Ignition Coil 5 Control

B

BK

--

Ground

C

PK/BK

--

Ignition 1 Voltage

Ignition Coil Module 6 (LBK/LBM)


Object Number: 1497775  Size: CH

Connector Part Information

  • OEM: AK32325
  • Service: N/A
  • Description: 3-Way F (GY)

Ignition Coil Module 6 (LBK/LBM)

Pin

Wire

Circuit

Function

A

GY

--

Ignition Coil 6 Control

B

BK

--

Ground

C

PK/BK

--

Ignition 1 Voltage

Ignition Switch


Object Number: 1891429  Size: CH

Connector Part Information

  • OEM: MG650887
  • Service: N/A
  • Description: 6-Way F 250 III Series (NA)

Ignition Switch

Pin

Wire

Circuit

Function

1

OG

300

Ignition Voltage

2

RD/BK

642

Battery Positive Voltage

3

YE

5

Crank Voltage

4

PK

3

Ignition Voltage

5

RD/WH

1642

Battery Positive Voltage

6

BN

4

Accessory Voltage

Immobilizer


Object Number: 1500899  Size: CH

Connector Part Information

  • OEM:
  • Service: N/A
  • Description: 6-Way F (BK)

Immobilizer

Pin

Wire

Circuit

Function

1

L-GN

1435

Immobilizer Signal

2

BN/WH

1434

Immobilizer Signal

3

YE/BK

1436

Immobilizer Signal

4

BK/WH

351

Immobilizer Signal

5-6

--

--

Not Used

Inflatable Restraint I/P Module


Object Number: 1481288  Size: CH

Connector Part Information

  • OEM: 160201704
  • Service: N/A
  • Description: 2-Way (YE)

Inflatable Restraint I/P Module

Pin

Wire

Circuit

Function

1

WH/BK

--

I/P Module High Control

2

GN/WH

--

I/P Module Low Control

Inflatable Restraint Roof Rail Module - Left (AY0)


Object Number: 1986039  Size: CH

Connector Part Information

  • OEM: MG651201-4
  • Service: N/A
  • Description: 2-Way F 090 II Series (GY)

Inflatable Restraint Roof Rail Module - Left (AY0)

Pin

Wire

Circuit

Function

1

PU/WH

--

Roof Rail Module High Control

2

PK

--

Roof Rail Module Low Control

Inflatable Restraint Roof Rail Module - Right (AY0)


Object Number: 1986039  Size: CH

Connector Part Information

  • OEM: MG651201-4
  • Service: N/A
  • Description: 2-Way F 090 II Series (GY)

Inflatable Restraint Roof Rail Module - Right (AY0)

Pin

Wire

Circuit

Function

1

YE/BK

--

Roof Rail Module High Control

2

WH/BK

--

Roof Rail Module Low Control

Inflatable Restraint Sensing and Diagnostic Module (SDM)


Object Number: 1500891  Size: CH

Connector Part Information

  • OEM: 1-1411096-1
  • Service: N/A
  • Description: 75-Way (YE)

Inflatable Restraint Sensing and Diagnostic Module (SDM)

Pin

Wire

Circuit

Function

1-25

--

--

Not Used

26

PK

1139

Ignition 1 Voltage

27

YE

358

Air Bag Indicator Control

28

BK/WH

251

Ground

29

D-GN

348

Steering Wheel Module Low Control (AJ3)

BN/WH

3020

Steering Wheel Module Stage 1 Low Control

30

WH

--

Steering Wheel Module High Control (AJ3)

BN

3021

Steering Wheel Module Stage 1 High Control

31

YE

3025

Passenger IP Module Stage 1 High Control

32

OG

3024

Passenger IP Module Stage 1 Low Control

33

OG/BK

2119

Seat Belt Pretensioner Left Low Control

34

BN/WH

2118

Seat Belt Pretensioner Right High Control

35

L-GN

2116

Seat Belt Pretensioner Right High Control

36

OG

2117

Seat Belt Pretensioner Right Low Control

37

OG/BK

5224

Side Impact Module Driver Low Control (AY0)

38

BN/WH

5223

Side Impact Module Driver High Control (AY0)

39

PU/WH

5225

Side Impact Module Passenger High Control (AY0)

40

GY

5228

Side Impact Module Passenger Low Control (AY0)

41-44

--

--

Not Used

45

PU/WH

5019

Roof Rail Impact Module Left High Control (AY0)

46

PK

5020

Roof Rail Impact Module Left Low Control (AY0)

47

YE/BK

5021

Roof Rail Impact Module Right High Control (AY0)

48

WH/BK

5022

Roof Rail Impact Module Right Low Control (AY0)

49-51

--

--

Not Used

52

BN/WH

238

Driver Seat Belt Indicator Control

53

PU/WH

5234

Passenger Seat Belt Indicator Control (LHD LLW)

PU

--

Passenger Seat Belt Indicator Control

54

WH/BK

5043

Serial Data

55

--

--

Not Used

56

L-BU

--

Passenger Air Bag OFF Indicator Control (LHD LLW)

D-GN/WH

2308

Passenger Air Bag OFF Indicator Control

57

D-GN/WH

817

Vehicle Speed Sensor

58

OG

1000

Post Crash Unlock Signal

59

L-GN

1845

Chime Signal

60

--

--

Not Used

61

D-GN

5016

Driver Seat Belt Switch Signal

62

OG

1362

Passenger Seat Belt Switch Signal

63

PK/BK

5861

Passenger Presence System Signal (AL5)

64

PK/BK

5861

Passenger Presence System Signal (AL5)

65-66

--

--

Not Used

67

D-BU/WH

2307

Passenger Air Bag On Indicator Control

68

D-BU

2104

Side Impact Sensor Right Low (AY0)

69

GY

2103

Side Impact Sensor Right High (AY0)

70

D-GN

2105

Side Impact Sensor Left High (AY0)

71

BN

2106

Side Impact Sensor Left Low (AY0)

72

D-GN

2134

Right Front Side Impact Sensing Module Signal

73

RD

2133

Right Front Side Impact Sensing Module Supply Voltage

74

BK

2131

Left Front Side Impact Sensing Module Supply Voltage

75

PU

2132

Left Front Side Impact Sensing Module Signal

Inflatable Restraint Side Impact Module - Driver (AY0)


Object Number: 1481290  Size: CH

Connector Part Information

  • OEM: V23540-M5302-Y22
  • Service: N/A
  • Description: 2-Way Connector (YE)

Inflatable Restraint Side Impact Module - Driver (AY0)

Pin

Wire

Circuit

Function

1

OG/BK

--

Side Impact Module Driver Low Control

2

BN/WH

--

Side Impact Module Driver High Control

Inflatable Restraint Side Impact Module - Passenger (AY0)


Object Number: 1481290  Size: CH

Connector Part Information

  • OEM: V23540-M5302-Y22
  • Service: N/A
  • Description: 2-Way (YE)

Inflatable Restraint Side Impact Module - Passenger (AY0)

Pin

Wire

Circuit

Function

1

GY

--

Side Impact Module Passenger Low Control

2

PU/WH

--

Side Impact Module Passenger High Control

Inflatable Restraint Side Impact Sensor - Left (AY0)


Object Number: 1265357  Size: CH

Connector Part Information

  • OEM: FC 160301118
  • Service: N/A
  • Description: 2-Way

Inflatable Restraint Side Impact Sensor - Left (AY0)

Pin

Wire

Circuit

Function

1

GN

--

Side Impact Sensing Module Left High

2

BN

--

Side Impact Module Left Low

Inflatable Restraint Side Impact Sensor - Right (AY0)


Object Number: 1265357  Size: CH

Connector Part Information

  • OEM: FC 160301118
  • Service: N/A
  • Description: 2-Way

Inflatable Restraint Side Impact Sensor - Right (AY0)

Pin

Wire

Circuit

Function

1

GY

--

Side Impact Sensing Module Right High

2

BU

--

Side Impact Module Right Low

Inflatable Restraint Steering Wheel Module


Object Number: 966360  Size: CH

Connector Part Information

  • OEM: 54560210
  • Service: N/A
  • Description: 2-Way F ABX-3 (YE)

Inflatable Restraint Steering Wheel Module

Pin

Wire

Circuit

Function

A

--

--

Steering Wheel Module High Control

B

--

--

Steering Wheel Module Low Control

Inflatable Restraint Steering Wheel Module Coil X1


Object Number: 1849805  Size: CH

Connector Part Information

  • OEM: 936271
  • Service: N/A
  • Description: 6-Way M 090 III Series

Inflatable Restraint Steering Wheel Module Coil X1

Pin

Wire

Circuit

Function

1

L-GN

--

Remote Radio Switch Signal

2

BN

--

Remote Radio Switch Ground

3

BN

--

Horn Relay Control

4

--

--

Not Used

5

WH/BK

--

Cruise Switch +

6

GY

--

Cruise Switch Ground

Inflatable Restraint Steering Wheel Module Coil X2


Object Number: 1986039  Size: CH

Connector Part Information

  • OEM: MG 651201-4
  • Service: N/A
  • Description: 2-Way F 090 II Series (GY)

Inflatable Restraint Steering Wheel Module Coil X2

Pin

Wire

Circuit

Function

1

GN

--

Steering Wheel Module Low Control

2

WH

--

Steering Wheel Module High Control

Input Speed Sensor (M98)


Object Number: 1481270  Size: CH

Connector Part Information

  • OEM: 7283-8125-30
  • Service: N/A
  • Description: 2-Way F 090 Series, Sealed (BK)

Input Speed Sensor (M98)

Pin

Wire

Circuit

Function

1

L-GN/BK

--

Input Shaft Speed Sensor Low

2

PU/WH

--

Input Shaft Speed Sensor High

Inside Rearview Mirror


Object Number: 1468408  Size: CH

Connector Part Information

  • OEM: MG610026
  • Service: N/A
  • Description: 3-Way F L3 Series (WH)

Inside Rearview Mirror

Pin

Wire

Circuit

Function

1

L-GN

--

Backup Lamp Supply Voltage

2

BK

--

Ground

3

PK

--

Ignition 1 Voltage

Instrument Panel Cluster (IPC) X1


Object Number: 1412989  Size: CH

Connector Part Information

  • OEM: 175967-2
  • Service: N/A
  • Description: 20-Way M 040 Hybrid MK-II Series (BK)

Instrument Panel Cluster (IPC) X1

Pin

Wire

Circuit

Function

1

L-GN/BK

1555

SSPS Warning Indicator Control (Except Holden/NV8)

2-8

--

--

Not Used

9

L-GN

5053

Winter Mode Indicator Control

10

L-BU

14

Left Turn Signal Supply

11

--

--

Not Used

12

OG

--

Fuel PWM Output (Diesel)

13

PU

1681

Traction Control System Warning Indicator Control (NW9)

14

WH

629

Daytime Running Lamp (DRL) Indicator Control (TQE)

15

GY/WH

1657

TCS OFF Indicator control (NW9)

16

D-GN

1656

TCS Active Indicator Control (NW9)

17

D-GN/BK

1867

ABS Indicator Control (JL9)

18

L-BU/BK

3145

Cruise Indicator Control

19

YE

172

Low Fuel Indicator Control

20

OG

55

Fuel Level Signal (LBK/LBM)

D-BU/WH

55

Fuel Level Signal (LLW)

Instrument Panel Cluster (IPC) X2


Object Number: 1277256  Size: CH

Connector Part Information

  • OEM: 175966-1
  • Service: N/A
  • Description: 16-Way M 040 Multilock Series (GY)

Instrument Panel Cluster (IPC) X2

Pin

Wire

Circuit

Function

1

D-BU

15

Right Turn Signal Supply

2

BN

358

AIR BAG Warning Indicator Control

3

GY

157

Door Ajar Indicator Control

4

BK

2250

Turn Indicator Ground

5

RD/WH

640

Door/Trunk Ajar Indicator Supply

6

D-GN

135

Coolant Temp Gage Signal

7

D-GN

817

VSS Input

8

D-GN/WH

817

VSS Output

9

RD/WH

1140

Battery Voltage

10

PK

239

Ignition Voltage

11

BK

2250

Ground

12

BN/WH

309

Park Lamp Supply

13

D-GN

44

Illumination Dimming Control

14

YE

749

Theft Deterrent Indicator Control

15

--

--

Not Used

16

WH

121

Engine Speed Signal

Instrument Panel Cluster (IPC) X3


Object Number: 1420730  Size: CH

Connector Part Information

  • OEM: 174046-2
  • Service: N/A
  • Description: 16-Way F 040 Multilock Series (BK)

Instrument Panel Cluster (IPC) X3

Pin

Wire

Circuit

Function

1

D-BU/WH

1885

MIL Control

2

BN/WH

33

Park Brake Indicator Control

3

YE

234

Seatbelt Warning Indicator Control

4

YE

183

Front Fog Indicator Control

5

BN

--

Tach Output (LLW)

6

BN

25

Charge Indicator Control

7

BN

31

Oil Pressure Indicator Control

8

D-BU

3021

Change Oil Indicator Control (LLW)

9

GY

2555

Parking Assist Indicator Control

10

OG/BK

737

Trunk Ajar Indicator Control

11

YE/BK

317

Rear Fog Indicator Control

12-13

--

--

Not Used

14

BN/WH

99

Washer Fluid Indicator Control

15

--

--

Not Used

16

L-GN/BK

1360

Hi Beam Indicator Control

Instrument Panel Cluster (IPC) X4 (M98)


Object Number: 1420731  Size: CH

Connector Part Information

  • OEM: 174045-4
  • Service: N/A
  • Description: 12-Way M 040 Multilock Series (GN)

Instrument Panel Cluster (IPC) X4 (M98)

Pin

Wire

Circuit

Function

1-7

--

--

Not Used

8

D-GN

1373

TCM Serial Data

9-12

--

--

Not Used

Instrument Panel Cluster (IPC) X4 (MH7/MH8)


Object Number: 2028599  Size: CH

Connector Part Information

  • OEM: 936201-1
  • Service: N/A
  • Description: 16-Way F 090 III Series (NA)

Instrument Panel Cluster (IPC) X4 (MH7/MH8)

Pin

Wire Color

Circuit No.

Function

1

--

--

Not Used

2

GY

773

Transmission Position M Indicator Control

3

D-BU/WH

774

Transmission Position D Indicator Control

4

GY/BK

773

Transmission Position N Indicator Control

5

L-GN

775

Transmission Position R Indicator Control

6

WH/BK

711

Transmission Position P Indicator Control

7

PK

839

Ignition Voltage

8

L-GN

24

Backup Lamp Supply Voltage

9

BN/BK

2500

High Speed GMLAN Serial Data (+)

10

BN

2501

High Speed GMLAN Serial Data (-)

11-16

--

--

Not Used

Intake Air Temperature (IAT) Sensor (LBK/LBM)


Object Number: 1467003  Size: CH

Connector Part Information

  • OEM: 85202-1
  • Service: N/A
  • Description: 2-Way F JPT Series (BK)

Intake Air Temperature (IAT) Sensor (LBK/LBM)

Pin

Wire

Circuit

Function

1

L-BU

--

Intake Air Temperature (IAT) Sensor Signal

2

YE/BK

--

Low Reference

Intake Manifold Tuning Valve Solenoid (LBK/LBM)


Object Number: 1466982  Size: CH

Connector Part Information

  • OEM: 174352-2
  • Service: N/A
  • Description: 2-Way F Econoseal J Mark II Series (BK)

Intake Manifold Tuning Valve Solenoid (LBK/LBM)

Pin

Wire

Circuit

Function

1

PK

--

Ignition 1 Voltage

2

WH/BK

--

Intake Manifold Tuning Valve Solenoid Control

I/P Compartment Lamp


Object Number: 1481285  Size: CH

Connector Part Information

  • OEM: AK36277
  • Service: N/A
  • Description: 2-Way F (GY)

I/P Compartment Lamp

Pin

Wire

Circuit

Function

1

RD/WH

--

Inadvertent Power Control

2

PU

--

I/P Compartment Lamp Control

I/P Compartment Lamp Switch


Object Number: 1481285  Size: CH

Connector Part Information

  • OEM: AK5306
  • Service: N/A
  • Description: 2-Way F (BK)

I/P Compartment Lamp Switch

Pin

Wire

Circuit

Function

1

PU

--

I/P Compartment Lamp Control

2

BK

--

Ground

Key Reminder Switch


Object Number: 1265364  Size: CH

Connector Part Information

  • OEM: MG610489-5
  • Service: N/A
  • Description: 2-Way F 090 Series (NA)

Key Reminder Switch

Pin

Wire

Circuit

Function

1

L-GN/WH

--

Key In Signal

2

BN

--

Battery Positive Voltage

Knock Sensor (KS) 1 (LBK/LBM)


Object Number: 1466993  Size: CH

Connector Part Information

  • OEM: 368215-1
  • Service: N/A
  • Description: 3-Way F JPT Series (GY)

Knock Sensor (KS) 1 (LBK/LBM)

Pin

Wire

Circuit

Function

1

PU/WH

--

Knock Sensor (KS) 1 Signal

2

YE/BK

--

Low Reference

3

GY

--

Shield Ground

Knock Sensor (KS) 2 (LBK/LBM)


Object Number: 1466993  Size: CH

Connector Part Information

  • OEM: 368215-1
  • Service: N/A
  • Description: 3-Way F JPT Series (GY)

Knock Sensor (KS) 2 (LBK/LBM)

Pin

Wire

Circuit

Function

1

D-BU/WH

--

Knock Sensor (KS) 2 Signal

2

YE/BK

--

Low Reference

3

GY

--

Shield Ground

License Lamp


Object Number: 1265364  Size: CH

Connector Part Information

  • OEM: MG610489-5
  • Service: N/A
  • Description: 2-Way F 090 Series (NA)

License Lamp

Pin

Wire

Circuit

Function

1

PU

--

License Plate Lamp Supply Voltage

2

BK

--

Ground

Magnetic Steering Actuator (N40/NV8)


Object Number: 1468380  Size: CH

Connector Part Information

  • OEM: PB625-02027
  • Service: N/A
  • Description: 2-Way F NMWP 04F-B Series (BK)

Magnetic Steering Actuator (N40/NV8)

Pin

Wire

Circuit

Function

1

BU/BK

--

Variable Effort Steering Actuator Control - High

2

L-BU/BK

--

Variable Effort Steering Actuator Control - Low

Manifold Absolute Pressure (MAP) Sensor (LBK/LBM)


Object Number: 684840  Size: CH

Connector Part Information

  • OEM: 12129946
  • Service: N/A
  • Description: 3-Way F Metri-Pack 150 Series Sealed (GY)

Manifold Absolute Pressure (MAP) Sensor (LBK/LBM)

Pin

Wire

Circuit

Function

A

BN

--

Low Reference

B

L-GN

--

Manifold Absolute Pressure (MAP) Sensor Signal

C

OG/BK

--

5-Volt Reference

Mass Air Flow (MAF) Sensor (LBK/LBM)


Object Number: 1467004  Size: CH

Connector Part Information

  • OEM: 85205-1
  • Service: N/A
  • Description: 3-Way F JPT Series (BK)

Mass Air Flow (MAF) Sensor (LBK/LBM)

Pin

Wire

Circuit

Function

1

GY/BK

--

Low Reference

2

YE

--

Mass Air Flow (MAF) Sensor Signal

3

PK

--

Ignition 1 Voltage

Mass Air Flow (MAF) Sensor (LLW)


Object Number: 1381341  Size: CH

Connector Part Information

  • OEM: 1928403736
  • Service: N/A
  • Description: 4-Way F Kompakt Series, Sealed (BK)

Mass Air Flow (MAF) Sensor (LLW)

Pin

Wire

Circuit

Function

1

PK/BK

--

Ignition 1 Voltage

2

YE/BK

--

Ground

3

D-BU/WH

--

IAT Signal

4

PU/WH

--

MAF Signal

Mode Actuator


Object Number: 1467023  Size: CH

Connector Part Information

  • OEM: MG610203
  • Service: N/A
  • Description: 7-Way F 118 Series (NA)

Mode Actuator

Pin

Wire

Circuit

Function

1

YE/D-BU

--

Lower Mode Valve Solenoid Control

2

PK

--

Defrost Mode Valve Solenoid Control

3

D-GN/BK

--

Upper Mode Valve Solenoid Control

4

BN

--

Ignition 3 Voltage

5

BK

--

Ground

6

PK/BK

--

Mode Valve Signal

7

WH/BK

--

Mode Valve Signal

Multifunction Control Module X1


Object Number: 1836010  Size: CH

Connector Part Information

  • OEM: 368136-1
  • Service: N/A
  • Description: 26-Way F 070 Series, Sealed (NA)

Multifunction Control Module X1

Pin

Wire

Circuit

Function

1

OG/BK

737

Trunk Contact Signal

2

L-BU

20

Brake Switch Signal

3

BN

25

Engine Running Signal

4

L-GN

80

Key In Signal

5

L-GN

275

Park Position Signal

6

--

--

Not Used

7

BN/WH

230

5-Volt Reference

8

D-GN

144

Dimmer Switch Signal

9

YE

43

Accessory Voltage

10

L-GN

24

Back Up Switch Signal

11

WH

--

Sun Load Sensor Signal (T82)

12

RD/WH

1140

Battery Positive Voltage

13

PK

239

Ignition 1 Voltage

14

D-GN/BK

1798

Head Lamp Switch Signal

15

GY/BK

2185

Park Lamp Switch Signal

16

L-GN/BK

2184

Light Switch Signal

17

BN

126

Driver Door Contact Signal

18

WH

156

All Doors Contact Signal

19

OG/WH

881

Up/Down Switch Signal

20

BN

1890

COM

21

PU/WH

889

Left/Right Switch Signal

22

D-GN/WH

1788

5-Volt Reference

23

D-GN

1784

Vertical Sensor Signal

24

D-BU

1729

Sensor Ground

25

BK

250

Ground

26

--

--

Not Used

Multifunction Control Module X2


Object Number: 1506098  Size: CH

Connector Part Information

  • OEM: 368135-1
  • Service: N/A
  • Description: 22-Way F

Multifunction Control Module X2

Pin

Wire

Circuit

Function

1

RD

1785

Horizontal Sensor Signal

2

YE

183

Front Fog Indicator Control

3

YE/BK

317

Rear Fog Indicator Control

4

L-GN/BK

1360

High Beam Indicator Control

5

WH

629

DRL Indicator

6

GY

1890

Passenger Common Control

7

RD/WH

1881

Up/Down Passenger Control

8

PU

1889

Left/Right Passenger Control

9

GY/BK

179

Folding Mirror Switch Signal

10

--

--

Not Used

11

OG

122

Rear Fog Lamp Control

12

BN/WH

309

Dimmer PWM Output Control

13

WH

1080

Park Lamp Control

14

D-GN/BK

1798

Head Lamp Low Beam Control

15

RD/WH

140

Head Lamp High Beam Control

16

D-GN/WH

1317

Fog Lamp Control

17

YE

317

Fog Lamp Switch Signal

18

OG

122

Rear Fog Lamp Switch Signal

19

PU

524

Head Lamp High Switch Signal

20

YE/BK

307

Head Lamp Passing Switch Signal

21

L-BU

191

Mirror Unfolding Control

22

YE

190

Mirror Folding Control

Multifunction Control Module X3


Object Number: 1283124  Size: CH

Connector Part Information

  • OEM: 929504-3
  • Service: N/A
  • Description: 8-Way F JPT Series (BK)

Multifunction Control Module X3

Pin

Wire

Circuit

Function

1

--

--

Not Used

2

PK/D-BU

145

Ignition 2 Voltage

3

D-BU/WH

1640

Courtesy Lamp Power Control

4

BK

351

Ground

5

BN

186

BTSI Solenoid Control

6

--

--

Not Used

7

RD/WH

640

Inadvertent Lamp Power Control

8

RD/WH

1340

Battery Positive Voltage

Multifunction Switch


Object Number: 1468412  Size: CH

Connector Part Information

  • OEM: 15394150
  • Service: N/A
  • Description: 16-Way F (BK)

Multifunction Switch

Pin

Wire

Circuit

Function

1

RD/WH

--

Right Mirror Up/Down Motor

OG/WH

--

Right Mirror Up/Down Motor (DL7)

2

GY/BK

179

Folding Mirror Switch Signal

3

YE

--

Left Mirror Up/Down Motor

4

BN

1890

Mirror Motor Common

5

PU

--

Right Mirror Left/Right Motor

PU/WH

--

Right Mirror Left/Right Motor (DL7)

6

BK

2250

Ground

7

--

--

Not Used

8

BK

450

Ground

9

WH

--

Left Mirror Left/Right Motor

10

BN

1739

Ignition 1 Voltage

11

BN/WH

309

Dimmer PWM Output

12

D-GN

144

Dimmer Switch Signal

13

BN/WH

230

5-Volt Reference

14

BN

312

Headlamp Levelling Switch Control (LBK/LBM)

BN/WH

189

Headlamp Levelling Switch Signal (LLW)

15

L-GN

189

Headlamp Levelling Switch Signal (LBK/LBM)

OG

312

Headlamp Levelling Switch Control (LLW)

16

OG

122

Rear Fog Lamp Switch Signal

Multifunction/Turn Signal Switch


Object Number: 1283124  Size: CH

Connector Part Information

  • OEM: 929504-3
  • Service: N/A
  • Description: 8-Way F JPT Series (BK)

Multifunction/Turn Signal Switch

Pin

Wire

Circuit

Function

1

BK

--

Ground

2

YE/BK

--

Passing Switch Signal

3

PU

--

Dimmer Switch Signal

4

BK

--

Ground

5-6

--

--

Not Used

7

D-BU/WH

--

Right Turn Switch Signal

8

L-BU/WH

--

Left Turn Switch Signal

Navigation Module


Object Number: 850856  Size: CH

Connector Part Information

  • OEM: 15394150
  • Service: 15394150
  • Description: 16-Way F Micro.064 Series (BK)

Navigation Module

Pin

Wire

Circuit

Function

1

BN/WH

6433

CAN Bus High Serial Data

2

--

--

Not Used

3

BN

25

Ignition Voltage

4

--

--

Not Used

5

BN/WH

309

6

YE

243

Ignition Voltage

7

BK

250

Ground

8

RD/WH

1140

Battery Positive Voltage

9-13

--

--

Not Used

14

OG

155

15

GN/WH

817

Vehicle Speed Signal (VSS)

16

OG

55

Fuel Gauge Signal

Object Detection Alarm (UD7)


Object Number: 1468408  Size: CH

Connector Part Information

  • OEM: MG610209
  • Service: N/A
  • Description: 3-Way F

Object Detection Alarm (UD7)

Pin

Wire

Circuit

Function

1

BU

--

Alarm Power

2

YE

--

Alarm Signal

3

GY

--

Alarm Ground

Object Detection Module (UD7)


Object Number: 850856  Size: CH

Connector Part Information

  • OEM: 15394150
  • Service: N/A
  • Description: 16-Way Micro-Pack 064 Series (BK)

Object Detection Module (UD7)

Pin

Wire

Circuit

Function

1

GY

--

Right Corner Sensor Signal

2

--

--

Not Used

3

BU

--

Left Middle Sensor

4

YE

--

Left Corner Sensor Signal

5

L-GN

--

Back Up Lamp Switch Signal

6

BU

--

Alarm Power

7

GY

--

Alarm Ground

8

PK

--

Ignition 1 Voltage

9

BN

--

Right Sensor Ground

10

GY

--

Indicator Control

11

--

--

Not Used

12

BN/WH

--

Left Sensor Ground

13

L-BU

--

Park Brake Switch Signal

14

YE

--

Alarm Signal

15

--

--

Not Used

16

BK

--

Ground

Object Alarm Sensor - Left Rear Corner (UD7)


Object Number: 1265357  Size: CH

Connector Part Information

  • OEM: MG642273
  • Service: N/A
  • Description: 2-Way

Object Alarm Sensor - Left Rear Corner (UD7)

Pin

Wire

Circuit

Function

1

BN/WH

--

Ground

2

YE

--

Signal

Object Alarm Sensor - Rear Middle (UD7)


Object Number: 1265357  Size: CH

Connector Part Information

  • OEM: MG642273
  • Service: N/A
  • Description: 2-Way

Object Alarm Sensor - Rear Middle (UD7)

Pin

Wire

Circuit

Function

1

BN/WH

--

Ground

2

BU

--

Signal

Object Alarm Sensor - Right Rear Corner (UD7)


Object Number: 1265357  Size: CH

Connector Part Information

  • OEM: MG642273
  • Service: N/A
  • Description: 2-Way

Object Alarm Sensor - Right Rear Corner (UD7)

Pin

Wire

Circuit

Function

1

BN

--

Ground

2

GY

--

Signal

Oil Feeding Connector (JL9-F45)


Object Number: 1467076  Size: CH

Connector Part Information

  • OEM: MG640329
  • Service: N/A
  • Description: 3-Way M SWP Series (BK)

Oil Feeding Connector (JL9-F45)

Pin

Wire

Circuit

Function

1

BK

--

Ground

2

WH/BK

--

Serial Data

3

PK

--

Ignition 1 Voltage

Oil Feeding Connector (JL9+F45)


Object Number: 1467077  Size: CH

Connector Part Information

  • OEM: MG640333-5
  • Service: N/A
  • Description: 4-Way M SWP Series (BK)

Oil Feeding Connector (JL9+F45)

Pin

Wire

Circuit

Function

1

BK

250

Ground

2

BN/BK

2500

High Speed GMLAN Serial Data (+)

3

BN

2501

High Speed GNLAN Serial Data (-)

4

PK

1339

Ignition 1 Voltage

Oil Pressure Switch


Object Number: 2033507  Size: CH

Connector Part Information

  • OEM: AK32104
  • Service: N/A
  • Description: 1-Way F Metri-Pack 150 Series, Sealed

Oil Pressure Switch

Pin

Wire

Circuit

Function

1

BN

--

Oil Pressure Indicator Control

Output Speed Sensor (M98)


Object Number: 1481270  Size: CH

Connector Part Information

  • OEM: 7283-8125-30
  • Service: N/A
  • Description: 2-Way F 090 Series, Sealed (BK)

Output Speed Sensor (M98)

Pin

Wire

Circuit

Function

1

PU

--

Input Shaft Speed Sensor Low

2

YE

--

Input Shaft Speed Sensor High

Outside Rearview Mirror - Driver


Object Number: 1420731  Size: CH

Connector Part Information

  • OEM: 174045-2
  • Service: N/A
  • Description: 12-Way M 40 Multilock Series (BK)

Outside Rearview Mirror - Driver

Pin

Wire

Circuit

Function

1

L-BU

--

Turn Signal Lamp

2

YE

--

Folding Mirror Motor Extend Control

3

L-BU

--

Folding Mirror Motor Retract Control

4

YE

--

Mirror Motor Vertical Control

5

BN

--

Motor Common

6

WH

--

Mirror Motor Horizontal Control

7-10

--

--

Not Used

11

OG

--

Heated Mirror Element Supply Voltage

12

BK

--

Ground

Outside Rearview Mirror - Passenger


Object Number: 1420731  Size: CH

Connector Part Information

  • OEM: 174045-2
  • Service: N/A
  • Description: 12-Way M 040 Multilock Series (BK)

Outside Rearview Mirror - Passenger

Pin

Wire

Circuit

Function

1

BU

--

Turn Signal Lamp

2

YE

--

Folding Mirror Motor Extend Control

3

L-BU

--

Folding Mirror Motor Retract Control

4

BN

--

Mirror Motor Vertical Control

5

GY

--

Motor Common

6

PU

--

Mirror Motor Horizontal Control

7

D-GN

--

Vertical Signal

8

RD

--

Horizontal Signal

9

D-BU

--

Ground

10

GN/WH

--

5-Volt Reference

11

OG

--

Heated Mirror Element Supply Voltage

12

BK

--

Ground

Park/Neutral Position Switch (M98)


Object Number: 872604  Size: CH

Connector Part Information

  • OEM: 7223-6508-30
  • Service: N/A
  • Description: 10-Way F DMS+RV Series, Sealed (BK)

Park/Neutral Position Switch (M98)

Pin

Wire

Circuit

Function

1

PK

--

Ignition 1 Voltage

2

L-GN

--

Reverse Signal

3

BK/WH

--

Ground

4

PK/BK

--

Park/Neutral Signal

5

GY

--

C Signal

6

YE

--

B Signal

7

--

--

Not Used

8

WH

--

PA Signal

9

PK

--

Ignition 1 Voltage

10

BN/WH

--

A Signal

Park Brake Switch


Object Number: 1497744  Size: CH

Connector Part Information

  • OEM: MG651194
  • Service: N/A
  • Description: 1-Way F 090-II Series

Park Brake Switch

Pin

Wire

Circuit

Function

1

BN/WH

--

Brake Warning Indicator Control

Passenger Airbag/Seat Belt Warning Lamp


Object Number: 863401  Size: CH

Connector Part Information

  • OEM: PHB845-07010
  • Service: N/A
  • Description: 7-Way F CDR07F Series (WH)

Passenger Airbag/Seat Belt Warning Lamp

Pin

Wire

Circuit

Function

1

BK

--

Ground

2

PU

--

Passenger Seat Belt Indicator Control

3-4

--

--

Not used

5

PK

--

Ignition 1 Voltage

6

GN/WH

--

Passenger Air Bag OFF Indicator Control

7

--

--

Not Used

Passenger Presence System Sensor (AL5)


Object Number: 810084  Size: CH

Connector Part Information

  • OEM: 1-967640-1
  • Service: N/A
  • Description: 4-Way F MQS Socket Housing, Sealed (BK)

Passenger Presence System Sensor (AL5)

Pin

Wire

Circuit

Function

1

PK

--

Ignition

1 Voltage

2

PK/BK

--

Passenger Presence

Signal

3

BK/WH

--

Ground

4

--

--

Not Used

Power Amplifier (U63)


Object Number: 1466978  Size: CH

Connector Part Information

  • OEM: 173853-1
  • Service: N/A
  • Description: 18-Way F 070 Multilock Series (WH)

Power Amplifier (U63)

Pin

Wire

Circuit

Function

1

BK

550

Ground

2

OG

340

Battery Voltage

3

YE

116

Speaker Return Left Rear

4

WH

119

Speaker Feed Left Rear

5

D-GN

117

Speaker Return Right Front (LHD)

GY

118

Speaker Return Right Front (RHD)

6

L-GN

200

Speaker Feed Left Front (LHD)

BN

201

Speaker Feed Left Front (RHD)

7-8

--

--

Not Used

9

BK

550

Ground

10

OG

340

Battery Voltage

11

--

--

Not Used

12

L-BU

115

Speaker Return Right Rear

13

D-BU

46

Speaker Feed Right Rear

14

GY

118

Speaker Return Left Front (LHD)

D-GN

117

Speaker Return Right Front (RHD)

15

BN

201

Speaker Feed Left Front (LHD)

L-GN

200

Speaker Feed Right Front (RHD)

16-18

--

--

Not Used

Power Seat Switch (AH5)


Object Number: 1467121  Size: CH

Connector Part Information

  • OEM: MG610404
  • Service: N/A
  • Description: 10-Way F 070 Series (NA)

Power Seat Switch (AH5)

Pin

Wire

Circuit

Function

1

RD

--

Battery Positive Voltage

2

BK

--

Ground

3

D-BU

--

Sliding Motor Control

4

D-BU/WH

--

Sliding Motor Control

5

YE

--

Front Lift Motor Control

6

YE/RD

--

Front Lift Motor Control

7

WH

--

Rear Lift Motor Control

8

WH/RD

--

Rear Lift Motor Control

9

D-GN

--

Recline Motor Control

10

L-GN

--

Recline Motor Control

Power Seat Test Connector (AH5)


Object Number: 1467007  Size: CH

Connector Part Information

  • OEM: MG610043
  • Service: N/A
  • Description: 2-Way F 250 Series (NA)

Power Seat Test Connector (AH5)

Pin

Wire

Circuit

Function

1

OG/BK

--

Battery Positive Voltage

2

BK

--

Ground

Power Steering Control Module (N40/NV8)


Object Number: 1467119  Size: CH

Connector Part Information

  • OEM: MG651050
  • Service: N/A
  • Description: 8-Way F 090-II Series (WH)

Power Steering Control Module (N40/NV8)

Pin

Wire

Circuit

Function

1

L-BU/BK

--

Variable Effort Steering Actuator Control - Low

2

D-BU/BK

--

Variable Effort Steering Actuator Control - High

3

--

--

Not Used

4

D-BU/WH

--

Serial Data

5

L-GN/BK

--

Variable Effort Steering Actuator Indicator Lamp Control

6

D-GN/WH

--

Vehicle Speed Signal

7

BN

--

Ignition 2 Voltage

8

BK

--

Ground

PRNDL Lamp


Object Number: 1265364  Size: CH

Connector Part Information

  • OEM: MG611857
  • Service: N/A
  • Description: 2-Way F 090 Series (NA)

PRNDL Lamp

Pin

Wire

Circuit

Function

1

D-GN

--

Ground

2

BN/WH

--

Dimmer PWM Output

PTC Heater (LLW)


Object Number: 1830932  Size: CH

Connector Part Information

  • OEM: 15326878
  • Service: N/A
  • Description: 3-Way F GT 280 Series (BK)

PTC Heater (LLW)

Pin

Wire

Circuit

Function

1

YE/BK

--

PTC Heater Supply Voltage

2

BN

--

PTC Heater Supply Voltage

3

D-BU/WH

--

PTC Heater Supply Voltage

Radio X1


Object Number: 1590072  Size: CH

Connector Part Information

  • OEM: 15464950
  • Service: N/A
  • Description: 14-Way F GT ISO Micro 64 Modular Series (BK)

Radio X1

Pin

Wire

Circuit

Function

1

OG

40

Battery Voltage

2

BN

--

Speaker Feed Left Front (LHD)

L-GN

200

Speaker Feed Left Front (RHD)

3

L-GN

--

Speaker Feed Right Front (LHD)

BN

201

Speaker Feed Right Front (RHD)

4-5

--

--

Not Used

6

GY

161

Power Antenna Feed

7

BN/WH

309

Illumination Feed

8

BK

350

Ground

9

GY

--

Speaker Return Left Front (LHD)

D-GN

117

Speaker Return Left Front (RHD)

10

D-GN

--

Speaker Return Right Front (LHD)

GY

118

Speaker Return Right Front (RHD)

11

--

--

Not Used

12

BN

180

Remote Radio Return Ground

13

--

--

Not Used

14

D-GN

44

Instrument Panel Lamps Dimmer Control

Radio X2


Object Number: 850856  Size: CH

Connector Part Information

  • OEM: 15394150
  • Service: N/A
  • Description: 16-Way F Micro-Pack 064 Series (BK)

Radio X2

Pin

Wire

Circuit

Function

1

--

--

Not Used

2

PK/BK

5755

Remote On (U63)

3

D-GN

1795

Amp Signal Feed (U63)

4

--

--

Not Used

5

WH

119

Speaker Feed Left Rear

6

D-BU

46

Speaker Feed Right Rear

7-8

--

--

Not Used

9

PU/WH

5754

Amp Enable (U63)

10

--

--

Not Used

11

BK/WH

315

Amp Signal (U63)

12

L-GN

1011

Radio Control Signal Steering Column

13

YE

116

Speaker Return Left Rear

14

L-BU

115

Speaker Return Right Rear

15

--

--

Not Used

16

YE

243

Ignition Voltage

Radio Antenna Module


Object Number: 1467007  Size: CH

Connector Part Information

  • OEM: MG610043
  • Service: N/A
  • Description: 2-Way F 250 Series (WH)

Radio Antenna Module

Pin

Wire Color

Circuit No.

Function

1

PU

--

Rear Defog Element Supply Voltage

2

GY

--

Antenna Enable Signal

Rain Sensor (CEI)


Object Number: 1758592  Size: CH

Connector Part Information

  • OEM: 43645-0800
  • Service: N/A
  • Description: 8-Way F Micro-Fit Series (BK)

Rain Sensor (CEI)

Pin

Wire

Circuit

Function

1

L-GN

--

Low Speed

2

BU

--

High Speed

3

BK

--

Ground

4

PK

--

Ignition 1 Voltage

5

BU/WH

--

Auto Sensitivity

6

OG

--

Washer Switch Signal

7

BN

--

Wiper AUTO Output

8

--

--

Not Used

Rear Compartment Lamp


Object Number: 1481285  Size: CH

Connector Part Information

  • OEM: AK5306
  • Service: N/A
  • Description: 2-Way F (BK)

Rear Compartment Lamp

Pin

Wire

Circuit

Function

1

RD/WH

--

Inadvertent Power Control

2

OG/BK

--

Rear Compartment Lamp Control

Rear Compartment Release Switch


Object Number: 1986039  Size: CH

Connector Part Information

  • OEM: MG651201-4
  • Service: N/A
  • Description: 2-Way F 090 II Series (GY)

Rear Compartment Release Switch

Pin

Wire Color

Circuit No.

Function

1

BN

253

Trunk Release Control

2

RD

1140

Battery Positive Voltage

Rear Window Defogger Grid X1


Object Number: 365953  Size: CH

Connector Part Information

  • OEM: 12092133
  • Service: N/A
  • Description: 1-Way F Metri-Pack 630 Series Self Lock (BK)

Rear Window Defogger Grid X1

Pin

Wire

Circuit

Function

A

BK

--

Rear Defogger Element Supply Voltage

Rear Window Defogger Grid X2


Object Number: 365953  Size: CH

Connector Part Information

  • OEM: 12092133
  • Service: N/A
  • Description: 1-Way F Metri-Pack 630 Series Self Lock (BK)

Rear Window Defogger Grid X2

Pin

Wire

Circuit

Function

A

WH

--

Rear Defogger Ground

Recirculation Actuator


Object Number: 1467023  Size: CH

Connector Part Information

  • OEM: KET MG 610203
  • Service: N/A
  • Description: 7-Way F (BK)

Recirculation Actuator

Pin

Wire

Circuit

Function

1-3

--

--

Not Used

4

BN

--

Ignition 1 Voltage

5

PK/WH

--

Recirculation Door Control A

6

--

--

Not Used

7

D-GN/BK

--

Recirculation Door Control B

Remote Control Door Lock Receiver (RCDLR)


Object Number: 1836010  Size: CH

Connector Part Information

  • OEM: MG611336
  • Service: N/A
  • Description: 26-Way ECU Series (WH)

Remote Control Door Lock Receiver (RCDLR)

Pin

Wire

Circuit

Function

1

BN

28

Horn Relay Control

2

BK

750

Ground

3

--

--

Not Used

4

L-BU

263

Tamper Switch Signal

5

737

OG/BK

Decklid Ajar Signal

6

--

--

Not Used

7

PK/BK

109

Hood Ajar Switch Signal

8

WH

156

Hood Ajar Switch Signal

9

--

--

Not Used

10

L-BU

195

Door Lock Control

11

WH

194

Door Unlock Control

12

L-BU

263

Tamper Switch Signal

13

15

Right Turn Signal Lamp Control

14

BN

253

Trunk Release Relay Control

15

PK

239

Ignition Voltage

16

--

--

Not Used

17

WH/BK

5043

Serial Data

18

L-GN

80

Key In Ignition Switch Signal

19

YE

749

Security Indicator Control

20-24

--

--

Not Used

25

RD/WH

1140

Battery Positive Voltage

26

L-BU

14

Left Turn Signal Lamp Control

Seat Belt Pretensioner - Driver


Object Number: 1500894  Size: CH

Connector Part Information

  • OEM: V23540-M5302-Y22
  • Service: N/A
  • Description: 2-Way F

Seat Belt Pretensioner - Driver

Pin

Wire

Circuit

Function

1

BN/WH

--

Seat Belt Pretensioner

Left High Control

2

OG/BK

--

Seat Belt Pretensioner

Left Low Control

Seat Belt Pretensioner - Passenger


Object Number: 1500894  Size: CH

Connector Part Information

  • OEM: V23540-M5302-Y22
  • Service: N/A
  • Description: 2-Way F

Seat Belt Pretensioner - Passenger

Pin

Wire

Circuit

Function

1

L-GN

--

Seat Belt Pretensioner

Right High Control

2

OG

--

Seat Belt Pretensioner

Right Low Control

Seat Belt Switch - Driver


Object Number: 1265364  Size: CH

Connector Part Information

  • OEM: MG610392
  • Service: N/A
  • Description: 2-Way F

Seat Belt Switch - Driver

Pin

Wire

Circuit

Function

1

BK/WH

--

Ground

2

GN

--

Driver Seat Belt

Switch Signal

Seat Belt Switch - Passenger


Object Number: 1265364  Size: CH

Connector Part Information

  • OEM: MG610392
  • Service: N/A
  • Description: 2-Way F

Seat Belt Switch - Passenger

Pin

Wire

Circuit

Function

1

BK/WH

--

Ground

2

OG

--

Passenger Seat Belt Switch Signal

Speaker - Left Front


Object Number: 1413061  Size: CH

Connector Part Information

  • OEM: MG610070
  • Service: N/A
  • Description: 2-Way F 090 Series (NA)

Speaker - Left Front

Pin

Wire

Circuit

Function

1

GY

--

Left Front Speaker Return (LHD)

D-GN

--

Left Front Speaker Return (RHD)

2

BN

--

Left Front Speaker Feed (LHD)

L-GN/BK

--

Left Front Speaker Feed (RHD)

Speaker - Left Rear


Object Number: 1467007  Size: CH

Connector Part Information

  • OEM: MG610043
  • Service: N/A
  • Description: (WH)

Speaker - Left Rear

Pin

Wire

Circuit

Function

1

YE

--

Left Rear speaker Return

2

WH

--

Left Rear Speaker Feed

Speaker - Right Front


Object Number: 1467020  Size: CH

Connector Part Information

  • OEM: MG610070
  • Service: N/A
  • Description: 2-Way F 090 Series (NA)

Speaker - Right Front

Pin

Wire

Circuit

Function

1

D-GN

--

Right Front Return (LHD)

GY

--

Right Front Return (RHD)

2

L-GN/BK

--

Right Front Speaker Feed (LHD)

BN

--

Right Front Speaker Feed (RHD)

Speaker - Right Rear


Object Number: 1467020  Size: CH

Connector Part Information

  • OEM: MG610070
  • Service: N/A
  • Description: 2-Way F 090 Series (NA)

Speaker - Right Rear

Pin

Wire

Circuit

Function

1

YE

--

Right Rear Speaker Return

2

WH

--

Right Rear Speaker Feed

Steering Angle Sensor (F45)


Object Number: 1835137  Size: CH

Connector Part Information

  • OEM: 1488752-1
  • Service: N/A
  • Description: 6-Way F 064 GET Series (BK)

Steering Angle Sensor (F45)

Pin

Wire Color

Circuit No.

Function

1

PK

839

12V Reference

2

BN/BK

2500

High Speed GMLAN Serial Data (+)

3

BN/BK

2500

High Speed GMLAN Serial Data (+)

4

BN

2501

High Speed GMLAN Serial Data (-)

5

BN

2501

High Speed GMLAN Serial Data (-)

6

BK

650

Ground

Stop Lamp Switch


Object Number: 1467027  Size: CH

Connector Part Information

  • OEM: MG610267
  • Service: N/A
  • Description: 4-Way F 250 Double Lock Series (NA)

Stop Lamp Switch

Pin

Wire

Circuit

Function

1

PK

839

Ignition 1 Voltage

2

OG

540

Battery Positive Voltage (LHD)

BN

186

Brake Pedal Position Switch Signal (RHD)

3

BN

186

Brake Pedal Position Switch Signal (LHD)

OG

540

Battery Positive Voltage (RHD)

4

L-BU/WH

20

Stop Lamp Switch Signal

L-BU

20

Stop Lamp Switch Signal

Subwoofer Speaker


Object Number: 1467046  Size: CH

Connector Part Information

  • OEM:
  • Service: N/A
  • Description:

Subwoofer Speaker

Pin

Wire

Circuit

Function

1

OG

--

Battery Voltage

2

OG

--

Battery Voltage

3

D-GN

--

Signal Feed

4

BK

--

Ground

5

BK

--

Ground

6

PK

--

Remote On

7

PU

--

Enable

8

BK

--

Signal Return

Sunload Sensor (C68/T82)


Object Number: 2008854  Size: CH

Connector Part Information

  • OEM: MG610159
  • Service: N/A
  • Description: 4-Way F 2.3 Series (NA)

Sunload Sensor (C68/T82)

Pin

Wire

Circuit

Function

1

YE

--

Battery Positive Voltage

2

WH

--

Sunload Sensor Signal (T82)

3

YE

--

Sunload Sensor Signal (C68)

4

BK

351

Ground

Sunroof Module (CF5)


Object Number: 1468516  Size: CH

Connector Part Information

  • OEM: 368502
  • Service: N/A
  • Description: WH

Sunroof Module (CF5)

Pin

Wire

Circuit

Function

1

RD/WH

--

Battery Positive Voltage

2

BK

--

Ground

3

--

--

Not Used

4

YE

--

Accessory Voltage

5

BN

--

Sunroof Open Signal

6

OG

--

Sunroof Close Signal

Sunroof Switch/Reading Lamp (CF5)


Object Number: 1468425  Size: CH

Connector Part Information

  • OEM: 368174-1
  • Service: N/A
  • Description: WH

Sunroof Switch/Reading Lamp (CF5)

Pin

Wire

Circuit

Function

1

BN

--

M/F Module Output

2

BK

--

Ground

3

--

--

Not Used

4

BN

--

Sunroof Open Signal

5

OG

--

Sunroof Close Signal

6

YE

--

Accessory Voltage

Tail Lamp - Left


Object Number: 1467011  Size: CH

Connector Part Information

  • OEM: MG610047
  • Service: N/A
  • Description: 4-Way F 250 Series (NA)

Tail Lamp - Left

Pin

Wire

Circuit

Function

1

PU

--

Tail Lamp Supply Voltage

2

L-BU/WH

--

Stop Lamp Supply Voltage

3

BK

--

Ground

4

L-BU

--

Turn Signal Control

Tail Lamp - Right


Object Number: 1467011  Size: CH

Connector Part Information

  • OEM: MG610047
  • Service: N/A
  • Description: 4-Way F 250 Series (NA)

Tail Lamp - Right

Pin

Wire

Circuit

Function

1

PU

--

Tail Lamp Supply Voltage

2

L-BU/WH

--

Stop Lamp Supply Voltage

3

BK

--

Ground

4

L-BU

--

Turn Signal Control

Theft Deterrent Alarm


Object Number: 1986038  Size: CH

Connector Part Information

  • OEM: PB625-02027
  • Service: N/A
  • Description: 2-Way F NMWP Series, Sealed (BK)

Theft Deterrent Alarm

Pin

Wire

Circuit

Function

1

BK

--

Ground

2

YE

--

Siren Control

Throttle Body (LBK/LBM)


Object Number: 1468528  Size: CH

Connector Part Information

  • OEM: KAFUS B06009A
  • Service: N/A
  • Description: 6-Way F

Throttle Body (LBK/LBM)

Pin

Wire

Circuit

Function

1

GY

--

5-Volt Reference 3

2

PU

--

Throttle Position (TP) Sensor 2 Signal

3

BK

--

Low Reference

4

D-BU

--

Throttle Position (TP) Sensor 1 Signal

5

D-BU

--

TAC Motor Control 1

6

L-BU

--

TAC Motor Control 2

Throttle Plate Actuator (LLW)


Object Number: 1835110  Size: CH

Connector Part Information

  • OEM: 42121400
  • Service: N/A
  • Description: 4-Way F Mini-Timer Series, Sealed (BK)

Throttle Plate Actuator (LLW)

Pin

Wire

Circuit

Function

1

BK

--

Ground

2

PK/WH

--

Battery Positive Voltage

3

WH/BK

--

Throttle Valve Control

4

GY/BK

--

Feedback Signal

Traction Control Switch (NW9)


Object Number: 2011728  Size: CH

Connector Part Information

  • OEM: MG652999
  • Service: N/A
  • Description: 4-Way F 040 III Series (NA)

Traction Control Switch (NW9)

Pin

Wire

Circuit

Function

1

PK/BK

--

Ignition 2 Voltage

2

L-BU

--

Traction Control Switch Signal

3

BN/WH

--

Instrument Panel Lamps Dimmer Switch Control

4

D-GN

--

Instrument Panel Lamps Dimmer Switch Signal

Transmission Control Module (TCM) X1 (M98)


Object Number: 1420769  Size: CH

Connector Part Information

  • OEM: 1318756-2
  • Service: N/A
  • Description: 24-Way F 025/090 Mixed Series Hybrid Series (BK)

Transmission Control Module (TCM) X1 (M98)

Pin

Wire

Circuit

Function

1

BK/WH

--

Ground

2

WH

--

Line Pressure Control Solenoid Control

3

PU/WH

--

TCC Clutch Solenoid Control

4

BU

--

Line Pressure Control Solenoid Supply Voltage

5

GN

--

TCC Clutch Solenoid Supply Voltage

6

PK

--

Ignition 1 Voltage

7

BN

--

High Speed GMLAN Serial Data (-)

8-10

--

--

Not Used

11

BN/WH

--

Transmission Fluid Temperature Sensor Signal

12

OG/BK

--

Transmission Fluid Temperature Sensor Low Reference

13

WH

--

Shift Solenoid 4 Supply Voltage

14

WH

--

Shift Solenoid 3 Supply Voltage

15

YE/BK

--

Shift Solenoid 2 Supply Voltage

16

L-GN

--

Shift Solenoid 1 Supply Voltage

17

BN/BK

--

High Speed GMLAN Serial Data (+)

18

--

--

Not Used

19

BU/WH

--

Shift Pressure Control Solenoid Control

20

--

--

Not Used

21

PK/BK

--

Shift Pressure Control Solenoid Supply Voltage

22

OG/WH

--

Shift Solenoid 5 Supply Voltage

23

BK/WH

--

Ground

24

OG

--

Battery Positive Voltage (RHD)

RD/WH

--

Battery Positive Voltage (LHD)

Transmission Control Module (TCM) X2 (M98)


Object Number: 1830967  Size: CH

Connector Part Information

  • OEM: 1318757-2
  • Service: N/A
  • Description: 26-Way F 090III Hybrid Series (BK)

Transmission Control Module (TCM) X2 (M98)

Pin

Wire

Circuit

Function

1

PU

--

Tap Up Signal

2

--

--

Not Used

3

L-GN

--

Winter Mode Indicator Control

4

L-GN/WH

--

Winter Mode Switch Signal

5

PU

--

Output Shaft Speed Sensor Signal Low

6

L-GN/BK

--

Input Shaft Speed Sensor Signal Low

7

YE

--

B Signal

8

BN/WH

--

A Signal

9

BN

--

Driver Shift Control

10-13

--

--

Not Used

14

YE

--

Output Shaft Speed Sensor Signal High

15

D-GN

--

Vehicle Speed Signal (LHD)

GN/WH

--

Vehicle Speed Signal (RHD)

16

PU/WH

--

Input Shaft Speed Sensor Signal High

17

GN

--

Serial Data

18

BN

--

Tap Down Signal

19

WH

--

PA Signal

20

GY

--

C Signal

21

--

--

Not Used

22

L-BU

--

Stop Lamp Switch Signal

23-26

--

--

Not Used

Trunk Latch


Object Number: 1891376  Size: CH

Connector Part Information

  • OEM: MG651032
  • Service: N/A
  • Description: 3-Way F 090 II Series (NA)

Trunk Latch

Pin

Wire

Circuit

Function

1

BK

--

Ground

2

L-BU

--

Trunk Latch Actuator Supply Voltage

3

OG/BK

--

Trunk Open Switch Signal

Trunk Tamper Switch


Object Number: 1265364  Size: CH

Connector Part Information

  • OEM: AK07207
  • Service: N/A
  • Description: 2-Way F

Trunk Tamper Switch

Pin

Wire

Circuit

Function

1

OG/BK

--

Tamper Switch Signal

2

BK

--

Ground

Turn Signal Lamp - Left Front (TR6)


Object Number: 1830934  Size: CH

Connector Part Information

  • OEM: 936184-1
  • Service: N/A
  • Description: 2-Way F 090 Series (WH)

Turn Signal Lamp - Left Front (TR6)

Pin

Wire

Circuit

Function

1

BK

250

Ground

2

L-BU

14

Left Turn Signal Lamp Supply Voltage

Turn Signal Lamp - Right Front (TR6)


Object Number: 1830934  Size: CH

Connector Part Information

  • OEM: 936184-1
  • Service: N/A
  • Description: 2-Way F 090 Series (WH)

Turn Signal Lamp - Right Front (TR6)

Pin

Wire

Circuit

Function

1

BK

150

Ground

2

D-BU

15

Right Turn Signal Lamps Supply Voltage

Turn Signal/Park Lamp - Left Front (-TR6)


Object Number: 1265363  Size: CH

Connector Part Information

  • OEM: 936187-3
  • Service: N/A
  • Description: 3-Way F

Turn Signal/Park Lamp - Left Front (-TR6)

Pin

Wire

Circuit

Function

1

BK

250

Ground

2

PU

709

Left Park Lamp Supply Voltage

3

L-BU

14

Left Turn Signal Lamps Supply Voltage

Turn Signal/Park Lamp - Right Front (-TR6)


Object Number: 1265363  Size: CH

Connector Part Information

  • OEM: 936187-3
  • Service: N/A
  • Description: 3-Way F

Turn Signal/Park Lamp - Right Front (-TR6)

Pin

Wire

Circuit

Function

1

BK

150

Ground

2

BN/WH

309

Right Park Lamp Supply Voltage

3

D-BU

15

Right Turn Signal Lamps Supply Voltage

Tweeter - Left Front


Object Number: 1467020  Size: CH

Connector Part Information

  • OEM: MG610070
  • Service: N/A
  • Description: 2-Way F 090 Series (NA)

Tweeter - Left Front

Pin

Wire

Circuit

Function

1

GY

--

Left Front Speaker Return

2

BN

--

Left Front Speaker Feed

Tweeter - Left Rear


Object Number: 1467007  Size: CH

Connector Part Information

  • OEM: MG610043
  • Service: N/A
  • Description: 2-Way F 250 Series (NA)

Tweeter - Left Rear

Pin

Wire

Circuit

Function

1

YE

--

Left Rear Speaker Return

2

WH

--

Left Rear Speaker Feed

Tweeter - Right Front


Object Number: 1467020  Size: CH

Connector Part Information

  • OEM: MG610070
  • Service: N/A
  • Description: 2-Way F 090 Series (NA)

Tweeter - Right Front

Pin

Wire

Circuit

Function

1

D-GN

--

Right Front Speaker Return

2

L-GN

--

Right Front Speaker Feed

Tweeter - Right Rear


Object Number: 1467007  Size: CH

Connector Part Information

  • OEM: MG610043
  • Service: N/A
  • Description: 2-Way F 250 Series (NA)

Tweeter - Right Rear

Pin

Wire

Circuit

Function

1

YE

--

Left Rear Speaker Return

2

WH

--

Left Rear Speaker Feed

Vanity Lamp - Left


Object Number: 1481285  Size: CH

Connector Part Information

  • OEM: AK36277
  • Service: N/A
  • Description: 2-Way F (BK)

Vanity Lamp - Left

Pin

Wire

Circuit

Function

1

BN

--

Inadvertent Power Control

2

BK

--

Ground

Vanity Lamp - Right


Object Number: 1481285  Size: CH

Connector Part Information

  • OEM: AK36277
  • Service: N/A
  • Description: 2-Way F (BK)

Vanity Lamp - Right

Pin

Wire

Circuit

Function

1

BN

--

Inadvertent Power Control

2

BK

--

Ground

Vehicle Speed Sensor (MFB/MFN)


Object Number: 1497773  Size: CH

Connector Part Information

  • OEM: AK32311
  • Service: N/A
  • Description: 3-Way F (BK)

Vehicle Speed Sensor (MFB/MFN)

Pin

Wire

Circuit

Function

1

L-GN/BK

--

Ground

2

D-GN

--

Vehicle Speed Signal

3

PK

--

Ignition 1 Voltage

Water In Fuel Sensor (LLW)


Object Number: 1467004  Size: CH

Connector Part Information

  • OEM: 85205-1
  • Service: N/A
  • Description: 3-Way F JPT Series, Sealed

Water In Fuel Sensor (LLW)

Pin

Wire

Circuit

Function

1

BN/WH

--

Signal

2

BK

--

Ground

3

PK/WH

--

Battery Positive Voltage

Wheel Speed Sensor (WSS) - Left Front (JL9/NW9)


Object Number: 1963826  Size: CH

Connector Part Information

  • OEM: 174352-2
  • Service: N/A
  • Description: 2-Way F Econoseal J Mark II Series (BK)

Wheel Speed Sensor (WSS) - Left Front (JL9/NW9)

Pin

Wire

Circuit

Function

1

BN

--

Left Front Wheel Speed Sensor Signal

2

D-BU

--

Left Front Wheel Speed Sensor Low Reference

Wheel Speed Sensor (WSS) - Left Rear (JL9/NW9)


Object Number: 1830938  Size: CH

Connector Part Information

  • OEM: PB621-02020
  • Service: N/A
  • Description: 2-Way M (BK)

Wheel Speed Sensor (WSS) - Left Rear (JL9/NW9)

Pin

Wire

Circuit

Function

1

D-BU

--

Left Rear Wheel Speed Sensor Low Reference

2

BN

--

Left Rear Wheel Speed Sensor Signal

Wheel Speed Sensor (WSS) - Right Front (JL9/NW9)


Object Number: 1963826  Size: CH

Connector Part Information

  • OEM: 174352-2
  • Service: N/A
  • Description: 2-Way F Econoseal J Mark II Series (BK)

Wheel Speed Sensor (WSS) - Right Front (JL9/NW9)

Pin

Wire

Circuit

Function

1

BN/WH

--

Right Front Wheel Speed Sensor Signal

2

D-BU/WH

--

Right Front Wheel Speed Sensor Low Reference

Wheel Speed Sensor (WSS) - Right Rear (JL9/NW9)


Object Number: 1830938  Size: CH

Connector Part Information

  • OEM: PB621-02020
  • Service: N/A
  • Description: 2-Way M (BK)

Wheel Speed Sensor (WSS) - Right Rear (JL9/NW9)

Pin

Wire

Circuit

Function

1

BU/BK

--

Right Rear Wheel Speed Sensor Low Reference

2

BN/WH

--

Right Rear Wheel Speed Sensor Signal

Window/Door Lock Switch - Driver X1


Object Number: 1962072  Size: CH

Connector Part Information

  • OEM: MG651056
  • Service: N/A
  • Description: 10-Way F 090-II Series (WH)

Window/Door Lock Switch - Driver X1

Pin

Wire

Circuit

Function

1

L-GN

--

Power Window Master Switch Right Rear Up Signal

2

PU

--

Power Window Master Switch Right Rear Down Signal

3

D-GN

--

Power Window Master Switch Left Rear Up Signal

4

PU

--

Power Window Master Switch Left Rear Down Signal

5

L-BU

--

Power Window Master Switch Passenger Front Down Signal (LHD)

BN

--

Power Window Motor Driver Front Down Control (AA7, RHD w/ABZ)

6

OG

--

Power Window Supply Voltage Ground (LHD w/ABZ)

BK

--

Ground (RHD)

7

OG

--

Power Window Supply Voltage (AA7, RHD w/ABZ)

BN

--

Power Window Master Switch Passenger Front Down Signal (LHD)

8

BN

--

Power Window Motor Driver Front Down Control (LHD w/ABZ)

L-BU

--

Power Window Master Switch Passenger Front Down Signal (RHD)

9

PK/BK

--

Power Window Master Switch Lockout Control (LHD)

BN

--

Power Window Master Switch Passenger Front Down Signal (RHD

10

BK

--

Ground (LHD)

PK/BK

--

Power Window Master Switch Lockout Control (RHD)

Window/Door Lock Switch - Driver X2


Object Number: 1957538  Size: CH

Connector Part Information

  • OEM: MG651044
  • Service: N/A
  • Description: 6-Way F 090 II Series (WH)

Window/Door Lock Switch - Driver X2

Pin

Wire

Circuit

Function

1

YE

--

Power Window Motor Driver Front Up Control

2

L-GN

--

Power Window Switch Driver Front Express Down Signal (ABZ)

OG

--

Power Window Switch Driver Front Express Down Signal (AA7)

3

--

--

Not Used

4

L-BU

--

Door Lock Control

5

WH

--

Door Unlock Control

6

L-GN

--

Auto Up (ABZ)

Window/Door Lock Switch - Passenger


Object Number: 1884157  Size: CH

Connector Part Information

  • OEM: MG651050
  • Service: N/A
  • Description: 8-Way F 090-II Series (WH)

Window/Door Lock Switch - Passenger

Pin

Wire

Circuit

Function

1

L-BU

--

Power Window Master Switch Passenger Front Up Signal

2

D-BU

--

Power Window Master Switch Lockout Control

3

BN

--

Power Window Master Switch Passenger Front Down Signal

4

D-BU

--

Power Window Motor Passenger Front Up Control

5

L-BU

--

Door Lock Control

6

BK

--

Ground

7

WH

--

Door Unlock Control

8

BN

--

Power Window Motor Passenger Front Down Control

Window Motor - Driver (AA7)


Object Number: 1467007  Size: CH

Connector Part Information

  • OEM: MG610043
  • Service: N/A
  • Description: 2-Way F 250 Series (WH)

Window Motor - Driver (AA7)

Pin

Wire

Circuit

Function

1

BN/WH

--

Power Window Switch Drivers Up Signal

2

D-BU/WH

--

Power Window Switch Drivers Down Signal

Window Motor - Driver (ABZ)


Object Number: 1467013  Size: CH

Connector Part Information

  • OEM: PB625-06027
  • Service: N/A
  • Description: 6-Way F NMWP-06 Series (BK)

Window Motor - Driver (ABZ)

Pin

Wire

Circuit

Function

1

L-GN

--

Auto Input

2

BN

--

Manual Down Input

3

BK

--

Ground

4

--

--

Not Used

5

YE

--

Manual Up Input

6

OG

--

Window Relay Output

Window Motor - Left Rear


Object Number: 1467007  Size: CH

Connector Part Information

  • OEM: MG610043
  • Service: N/A
  • Description: 2-Way F 250 Series (WH)

Window Motor - Left Rear

Pin

Wire

Circuit

Function

1

D-BU

--

Power Window Motor Left Rear Up Control

2

BN

--

Power Window Motor Left Rear Down Control

Window Motor - Passenger


Object Number: 1467007  Size: CH

Connector Part Information

  • OEM: MG610043
  • Service: N/A
  • Description: 2-Way F 250 Series (WH)

Window Motor - Passenger

Pin

Wire

Circuit

Function

1

D-BU

--

Power Window Motor Right Front Up Control

2

BN

--

Power Window Motor Right Front Down Control

Window Motor - Right Rear


Object Number: 1467007  Size: CH

Connector Part Information

  • OEM: MG610043
  • Service: N/A
  • Description: 2-Way F250 Series (WH)

Window Motor - Right Rear

Pin

Wire

Circuit

Function

1

D-BU

--

Power Window Motor Right Rear Up Control

2

BN

--

Power Window Motor Right Rear Down Control

Window Switch - Left Rear


Object Number: 1468413  Size: CH

Connector Part Information

  • OEM: MG610663
  • Service: N/A
  • Description: 8-Way F (WH)

Window Switch - Left Rear

Pin

Wire

Circuit

Function

1

D-BU

--

Power Window Master Switch Left Rear Up Signal

2

D-GN

--

Power Window Master Switch Left Rear Up Control

3

PK/D-BU

--

Power Window Master Switch Lockout Control

4

BK

--

Ground

5

PU

--

Power Window Motor Left Rear Down Control

6

BN

--

Power Window Master Switch Left Rear Down Signal

7-8

--

--

Not Used

Window Switch - Right Rear


Object Number: 1468413  Size: CH

Connector Part Information

  • OEM: MG610663
  • Service: N/A
  • Description: 8-Way F (WH)

Window Switch - Right Rear

Pin

Wire

Circuit

Function

1

D-BU

--

Power Window Master Switch Right Rear Up Signal

2

D-GN

--

Power Window Master Switch Right Rear Up Control

3

PK/D-BU

--

Power Window Master Switch Lockout Control

4

BK

--

Ground

5

PU

--

Power Window Motor Master Switch Right Rear Down Control

6

BN

--

Power Window Master Switch Right Rear Down Signal

7-8

--

--

Not Used

Windshield Washer Fluid Pump - Front


Object Number: 1467079  Size: CH

Connector Part Information

  • OEM: MG640605
  • Service: N/A
  • Description: 2-Way F 090 WP Series (WH)

Windshield Washer Fluid Pump - Front

Pin

Wire

Circuit

Function

1

OG

--

Windshield Washer Pump Control

2

BK

--

Ground

Windshield Washer Fluid Switch


Object Number: 1963826  Size: CH

Connector Part Information

  • OEM: 174352-2
  • Service: N/A
  • Description: 2-Way F Econoseal J-Mark II Series, Sealed (BK)

Windshield Washer Fluid Switch

Pin

Wire

Circuit

Function

1

BK

150

Ground

2

YE

196

Windshield Washer Fluid Level Signal

Windshield Wiper Motor


Object Number: 1468383  Size: CH

Connector Part Information

  • OEM: PB625-06027
  • Service: N/A
  • Description: 6-Way F NMWP 06F-B Series (BK)

Windshield Wiper Motor

Pin

Wire

Circuit

Function

1

--

--

Not Used

2

BN/WH

--

Windshield Wiper Switch Pulse Delay Signal

3

PK

--

Battery Positive Voltage

4

BK

--

Ground

5

D-GN

--

Windshield Wiper Switch Signal

6

PU/WH

--

Windshield Wiper Motor High Speed

Windshield Wiper/Washer Switch X1


Object Number: 1468431  Size: CH

Connector Part Information

  • OEM: MG610154
  • Service: N/A
  • Description: 9-Way F 118 (PA) Series (WH)

Windshield Wiper/Washer Switch X1

Pin

Wire

Circuit

Function

1-2

--

--

Not Used

3

PK

639

Ignition 1 Voltage

4

OG

228

Windshield Washer Pump Control

OG

228

Windshield Washer Switch Signal

5

D-GN

95

Windshield Wiper Switch Signal

6

L-BU

97

Windshield Wiper Switch MIST/OFF/LOW Signal

7

D-GN/WH

91

Intermittent Windshield Wiper Switch Control

8

PK

939

Battery Positive Voltage

9

PU

92

Wiper Motor HI Signal

Windshield Wiper/Washer Switch X2


Object Number: 872577  Size: CH

Connector Part Information

  • OEM: 174460-1
  • Service: N/A
  • Description: 2-Way F 070 Multilock Series (WH)

Windshield Wiper/Washer Switch X2

Pin

Wire

Circuit

Function

1

D-GN/WH

91

Windshield Wiper Switch Pulse Delay Signal

2

D-BU/WH

6985

Windshield Wiper Switch Signal 2

Winter Mode Switch (M98)


Object Number: 1467039  Size: CH

Connector Part Information

  • OEM: MG652999
  • Service: N/A
  • Description: 4-Way F 040 Series (NA)

Winter Mode Switch (M98)

Pin

Wire

Circuit

Function

1

BK

--

Ground

2

L-GN

--

Winter Mode Switch Signal

3

BN/WH

--

Illumination Control

4

GN

--

Ground

Yaw Rate Sensor (F45)


Object Number: 1835081  Size: CH

Connector Part Information

  • OEM: PH845-05010
  • Service: N/A
  • Description: 5-Way F CDR Series (WH)

Yaw Rate Sensor (F45)

Pin

Wire

Circuit

Function

1

BN/BK

2500

High Speed GMLAN Serial Data (+)

2

--

--

Not Used

3

BK

650

Ground

4

PK

839

12V Reference

5

BN

2501

High Speed GMLAN Serial Data (-)

Object Alarm Indicator (Holden Genuine Accessory)


Object Number: 2183761  Size: CH

Connector Part Information

  • OEM:
  • Service: See Catalog
  • Description: 2-Way F (WH)

Terminal Part Information

  • Terminal/Tray: See Terminal Repair Kit
  • Core/Insulation Crimp: See Terminal Repair Kit
  • Release Tool/Test Probe: See Terminal Repair Kit

Object Alarm Indicator (Holden Genuine Accessory)

Pin

Wire

Circuit

Function

1

BK

11

8-Volt Reference

2

BK

8

Object Alarm Indicator Control

Object Alarm Module -- X1 (Holden Genuine Accessory)


Object Number: 2183762  Size: CH

Connector Part Information

  • OEM:
  • Service: See Catalog
  • Description: 4-Way F (WH)

Terminal Part Information

  • Terminal/Tray: See Terminal Repair Kit
  • Core/Insulation Crimp: See Terminal Repair Kit
  • Release Tool/Test Probe: See Terminal Repair Kit

Object Alarm Module -- X1 (Holden Genuine Accessory)

Pin

Wire

Circuit

Function

1

RD

3

Ground

2

BK

8

12-Volt Signal

3

BK

11

8-Volt Reference

4

BK

12

Object Alarm Indicator Control

Object Alarm Module -- X2 (Holden Genuine Accessory)


Object Number: 1989377  Size: CH

Connector Part Information

  • OEM:
  • Service: See Catalog
  • Description: 3-Way F (WH)

Terminal Part Information

  • Terminal/Tray: See Terminal Repair Kit
  • Core/Insulation Crimp: See Terminal Repair Kit
  • Release Tool/Test Probe: See Terminal Repair Kit

Object Alarm Module -- X2 (Holden Genuine Accessory)

Pin

Wire

Circuit

Function

1

0.5 BK

3

Ground

2

0.5 L-GN

4

Signal

3

--

--

Not Used

Object Alarm Module -- X3 (Holden Genuine Accessory)


Object Number: 1989377  Size: CH

Connector Part Information

  • OEM:
  • Service: See Catalog
  • Description: 3-Way F (WH)

Terminal Part Information

  • Terminal/Tray: See Terminal Repair Kit
  • Core/Insulation Crimp: See Terminal Repair Kit
  • Release Tool/Test Probe: See Terminal Repair Kit

Object Alarm Module -- X3 (Holden Genuine Accessory)

Pin

Wire

Circuit

Function

1

0.5 BK

5

Ground

2

0.5 L-GN

6

Signal

3

--

--

Not Used

Object Alarm Module -- X4 (Holden Genuine Accessory)


Object Number: 1989377  Size: CH

Connector Part Information

  • OEM:
  • Service: See Catalog
  • Description: 3-Way F (WH)

Terminal Part Information

  • Terminal/Tray: See Terminal Repair Kit
  • Core/Insulation Crimp: See Terminal Repair Kit
  • Release Tool/Test Probe: See Terminal Repair Kit

Object Alarm Module -- X4 (Holden Genuine Accessory)

Pin

Wire

Circuit

Function

1

0.5 BK

1

Ground

2

0.5 L-GN

2

Signal

3

--

--

Not Used

Object Alarm Module -- X5 (Holden Genuine Accessory)


Object Number: 1989377  Size: CH

Connector Part Information

  • OEM:
  • Service: See Catalog
  • Description: 3-Way F (WH)

Terminal Part Information

  • Terminal/Tray: See Terminal Repair Kit
  • Core/Insulation Crimp: See Terminal Repair Kit
  • Release Tool/Test Probe: See Terminal Repair Kit

Object Alarm Module -- X5 (Holden Genuine Accessory)

Pin

Wire

Circuit

Function

1

0.5 BK

7

Ground

2

0.5 L-GN

8

Signal

3

--

--

Not Used

Object Alarm Sensor -- Left Rear Corner (Holden Genuine Accessory)


Object Number: 2183760  Size: CH

Connector Part Information

  • OEM:
  • Service: See Catalog
  • Description: 2-Way F (WH)

Terminal Part Information

  • Terminal/Tray: See Terminal Repair Kit
  • Core/Insulation Crimp: See Terminal Repair Kit
  • Release Tool/Test Probe: See Terminal Repair Kit

Object Alarm Sensor -- Left Rear Corner (Holden Genuine Accessory)

Pin

Wire

Circuit

Function

1

0.5 BK

1

Low Reference

2

0.5 RD

2

Object Alarm Sensor - Left Rear Corner 8-Volt Reference / Signal

Object Alarm Sensor -- Left Rear Middle (Holden Genuine Accessory)


Object Number: 2183760  Size: CH

Connector Part Information

  • OEM:
  • Service: See Catalog
  • Description: 2-Way

Terminal Part Information

  • Terminal/Tray: See Terminal Repair Kit
  • Core/Insulation Crimp: See Terminal Repair Kit
  • Release Tool/Test Probe: See Terminal Repair Kit

Object Alarm Sensor -- Left Rear Middle (Holden Genuine Accessory)

Pin

Wire

Circuit

Function

1

0.5 BK

5

Low Reference

2

0.5 RD

6

Object Alarm Sensor -Left Rear Middle 8-Volt Reference / Signal

Object Alarm Sensor -- Right Rear Corner (Holden Genuine Accessory)


Object Number: 2183760  Size: CH

Connector Part Information

  • OEM:
  • Service: See Catalog
  • Description: 2-Way F (WH)

Terminal Part Information

  • Terminal/Tray: See Terminal Repair Kit
  • Core/Insulation Crimp: See Terminal Repair Kit
  • Release Tool/Test Probe: See Terminal Repair Kit

Object Alarm Sensor -- Right Rear Corner (Holden Genuine Accessory)

Pin

Wire

Circuit

Function

1

0.5 BK

7

Low Reference

2

0.5 RD

8

Object Alarm Sensor - Right Rear Corner 8-Volt Reference / Signal

Object Alarm Sensor -- Right Rear Middle (Holden Genuine Accessory)


Object Number: 2183760  Size: CH

Connector Part Information

  • OEM:
  • Service: See Catalog
  • Description: 2-Way F (WH)

Terminal Part Information

  • Terminal/Tray: See Terminal Repair Kit
  • Core/Insulation Crimp: See Terminal Repair Kit
  • Release Tool/Test Probe: See Terminal Repair Kit

Object Alarm Sensor -- Right Rear Middle (Holden Genuine Accessory)

Pin

Wire

Circuit

Function

1

0.5 BK

3

Low Reference

2

0.5 RD

4

Object Alarm Sensor - Right Rear Middle 8-Volt Reference / Signal

Bluetooth Module (Holden Genuine Accessory)


Object Number: 2193177  Size: CH

Connector Part Information

  • Service: See Catalog
  • Description: 16-Way F (WH)

Terminal Part Information

  • Terminal/Tray: See Terminal Repair Kit
  • Core/Insulation Crimp: See Terminal Repair Kit
  • Release Tool/Test Probe: See Terminal Repair Kit

Bluetooth Module (Holden Genuine Accessory)

Pin

Wire

Circuit

Function

1

0.5 BN

6

Bluetooth Speaker Signal (-)

2

--

--

Not Used

3

--

--

Not Used

4

0.3 GN

9

Bluetooth Switch Signal

5

0.3 WH

8

Bluetooth Microphone Signal (+)

6

0.5 PK

4

Radio Mute Mode Signal

7

0.5 YE

3

Ignition I Voltage

8

0.5 RD

1

Battery Positive Voltage

9

0.5 BL

5

Bluetooth Speaker Signal (+)

10

--

--

Not Used

11

--

--

Not Used

12

--

--

Not Used

13

0.3 GY

7

Bluetooth Microphone Signal (-)

14

--

--

Not Used

15

0.5 BK

2

Ground

16

--

--

Not Used

Bluetooth Patch Harness Connector X1, X3 (Holden Genuine Accessory)


Object Number: 1590072  Size: CH

Connector Part Information

  • Service: See Catalog
  • Description: 14-Way F (BK)

Terminal Part Information

  • Terminal/Tray: See Terminal Repair Kit
  • Core/Insulation Crimp: See Terminal Repair Kit
  • Release Tool/Test Probe: See Terminal Repair Kit

Bluetooth Patch Harness Connector X1, X3 (Holden Genuine Accessory)

Pin

Wire

Circuit

Function

1

1.25 YE

1

Battery Positive Voltage

2

0.5 GY

2

Left Front Speaker (+)

3

0.5 GY

3

Right Front Speaker (+)

4

0.5 BU

4

Bluetooth Speaker Signal (+)

5

0.5 BN

5

Bluetooth Speaker Signal (-)

6

0.5 GY

6

Antenna Motor Up Control

7

0.5 GY

7

Backlight Lamp Control

8

1.25 BK

8

Ground

9

0.5 GY

9

Left Front Speaker Signal (-)

10

0.5 GY

10

Right Front Speaker Signal (-)

11

0.5 GY

11

Not Used

12

0.5 GY

12

Remote Radio Control Ground

13

0.5 GY

13

Not Used

14

0.5 GY

14

Instrument Panel Lamps Dimmer Control

Bluetooth Patch Harness Connector X2, X4 (Holden Genuine Accessory)


Object Number: 850856  Size: CH

Connector Part Information

  • Service: See Catalog
  • Description: 16-Way F (BK)

Terminal Part Information

  • Terminal/Tray: See Terminal Repair Kit
  • Core/Insulation Crimp: See Terminal Repair Kit
  • Release Tool/Test Probe: See Terminal Repair Kit

Bluetooth Patch Harness Connector X2, X4 (Holden Genuine Accessory)

Pin

Wire

Circuit

Function

1

0.5 GY

15

Cellular Telephone RF Boost Control Signal

2

0.5 GY

16

Amplifier Powered Woofer Control

3

0.5 GY

17

Right Subwoofer Speaker (+)

4

0.5 GY

18

Radio Mute Mode Signal

5

0.5 GY

19

Left Rear Speaker (+)

6

0.5 GY

20

Right Rear Speaker (+)

7

0.5 GY

21

Not Used

8

0.5 GY

22

Not Used

9

0.5 GY

23

Amplifier Powered Woofer Control

10

0.5 GY

24

Not Used

11

0.5 GY

25

Right Subwoofer Speaker (-)

12

0.5 GY

26

Remote Radio Control Signal

13

0.5 GY

27

Left Rear Speaker Signal (-)

14

0.5 GY

28

Right Rear Speaker Signal (-)

15

0.5 GY

29

Not Used

16

0.5 RD

30

Ignition I Voltage

Bluetooth Microphone (Holden Genuine Accessory)


Object Number: 2193178  Size: CH

Connector Part Information

  • Service: See Catalog
  • Description: 3-Way M (BK)

Terminal Part Information

  • Terminal/Tray: See Terminal Repair Kit
  • Core/Insulation Crimp: See Terminal Repair Kit
  • Release Tool/Test Probe: See Terminal Repair Kit

Bluetooth Microphone (Holden Genuine Accessory)

Pin

Wire

Circuit

Function

1

0.3 GY

7

Bluetooth Microphone Signal (1)

2

0.3 WH

8

Bluetooth Microphone Signal (+)

3

0.3 GN

9

Bluetooth Switch Signal

Trailer Connector (Holden Genuine Accessory)


Object Number: 1989653  Size: CH

Connector Part Information

  • Service: See Catalog
  • Description: 7-Way F (BK)

Terminal Part Information

  • Terminal/Tray: See Terminal Repair Kit
  • Core/Insulation Crimp: See Terminal Repair Kit
  • Release Tool/Test Probe: See Terminal Repair Kit

Trailer Connector (Holden Genuine Accessory)

Pin

Wire

Circuit

Function

1

1.25 YE

1

Turn Signal Lamps-Left Signal

2

1.25 BK

2

Backup Lamps Signal

3

2.0 WH

3

Ground

4

1.25 GN

4

Turn Signal Lamps-Right Signal

5

2.0 BL

5

Trailer Brake Output Provision

6

1.25 RD

6

Stop Lamps Signal

7

1.25 BN

7

Park Lamps Signal