GM Service Manual Online
For 1990-2009 cars only

Special Tools

    • DT-48179 Universal Driver Handle
    • DT-48180 Input Shaft Holder
    • DT-48181 Transaxle Housing Groove Ball Bearing Remover/Installer
    • DT-48182 Needle Sleeve Remover/Installer
    • DT-48184 Roller Bearing Remover/Installer
    • DT-48185 Clutch Housing Groove Ball Bearing Remover/Installer
    • DT-48187 Differential Bearing Race and Shaft Seal Ring Installer
    • DT-48188 Input and Output Shaft Pusher/Puller
    • DT-48190 Input Shaft Synchro Body Protector
    • DT-48193 Interm 1st/2nd Synchronizer Installer
    • DT-48195 Input 3rd/4th Synchronizer Installer
    • DT-48196 Output 3rd/4th Gear Installer
    • DT-48197 Input 5th Gear Installer
    • DT-48198 Output 5th Bearing Collar Installer
    • DT-48199 Output 5th/Reverse Synchronizer/Installer
    • DT-48200 Transaxle Housing Fixing
    • DT-48201 Transaxle Housing Race Plate
    • DT-48202 Clutch Housing Race Plate

    Object Number: 1863792  Size: SH

    Note: Lubricate all components in transaxle fluid before installation.

  1. Install the thrust washer using the DT-48199 (1) and a hydraulic press.
  2. Install the collar using the DT-48199 and a hydraulic press.

  3. Object Number: 1863958  Size: SH
  4. Install the needle bearings (3).
  5. Install the reverse gear (2).
  6. Install the reverse gear blocking ring (1).

  7. Object Number: 1863959  Size: SH

    Note: 

       • The raised center hub of the 5th/Reverse synchronizer assembly faces the 5th gear.
       • Line up the blocking ring tabs and the hub keyways while pressing.

  8. Install the 5th/Reverse synchronizer using the DT-48199 (1) and a hydraulic press.

  9. Object Number: 1863960  Size: SH
  10. Install the bearing collar using the DT-48198 (1) and a hydraulic press.

  11. Object Number: 1863961  Size: SH
  12. Install the 5th gear blocking ring (3).
  13. Install the 2 needle bearings (2).
  14. Install the 5th gear (1).

  15. Object Number: 1863962  Size: SH

    Note: The 3rd gear will install very tight. Ensure that the mating surfaces are clean.

  16. Install the 3rd gear using the DT-48196 and a hydraulic press.

  17. Object Number: 1863963  Size: SH

    Note: The 4th gear will install very tight. Ensure that the mating surfaces are clean.

  18. Install the 4th gear using the DT-48196 (1) and a hydraulic press.

  19. Object Number: 1863964  Size: SH

    Note: 

       • Lubricate all components with transaxle fluid before installation.
       • The machined surface faces the needle thrust bearing.

  20. Install the 5th gear using the DT-48197 (1) and a hydraulic press.

  21. Object Number: 1863967  Size: SH
  22. Install the thrust bearing (2).
  23. Install the 2 needle bearings (1).

  24. Object Number: 1863968  Size: SH
  25. Install the 3rd gear (4).
  26. Install the 3rd gear blocking ring (3).
  27. Install the thrust bearing (2).
  28. Install the thrust washer (1).

  29. Object Number: 1863969  Size: SH

    Note: 

       • The machined surface of the synchronizer faces the thrust washer.
       • Align the slots in the synchronizer with the gear blocking ring tabs.

  30. Install the 3rd/4th synchronizer using the DT-48195 (1) and a hydraulic press.

  31. Object Number: 1863970  Size: SH
  32. Install the bearing collar using the DT-48195 (1) and a hydraulic press.

  33. Object Number: 1863971  Size: SH
  34. Install the 4th gear blocking ring (4).
  35. Install the needle bearing (3).
  36. Install the 4th gear (2).
  37. Install the thrust washer (1).

  38. Object Number: 1863973  Size: SH

    Note: Lubricate all components with transaxle fluid before installation.

  39. Install the needle bearing (5).
  40. Install the 2nd gear (4).
  41. Install the 2nd gear inner cone (3).
  42. Install the 2nd gear blocking ring (2).
  43. Install the 2nd gear outer cone (1).

  44. Object Number: 1863975  Size: SH

    Note: 

       • Make sure to properly align the synchronizer to the gear and notches in the blocking ring.
       • Observe the orientation of the synchronizer. The shoulder of the synchronizer faces 1st gear.

  45. Install the 1st/2nd synchronizer using the DT-48193 (1) and a hydraulic press.

  46. Object Number: 1863976  Size: SH
  47. Install the thrust washer (2) and the bearing collar (1) using the DT-48193 and a hydraulic press.

  48. Object Number: 1863979  Size: SH
  49. Install the 1st gear outer cone (3).
  50. Install the 1st gear blocking ring (2).
  51. Install the 1st gear inner cone (1).

  52. Object Number: 1863981  Size: SH

    Note: The steps in both roller bearings must fall into the 1st gear.

  53. Install the roller bearing.
  54. Install the 1st gear.
  55. Install the roller bearing.

  56. Object Number: 1863985  Size: SH
  57. Install the thrust washer using the DT-48193 (1) and a hydraulic press.

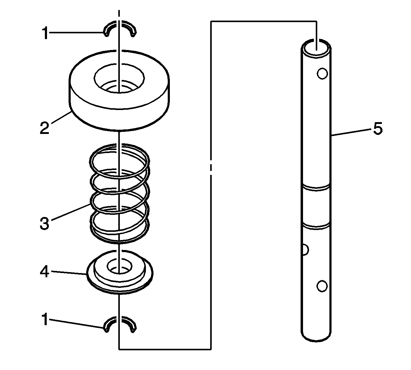
  58. Object Number: 1863986  Size: SH
  59. Install the angle disc (4) onto the shift rod (5).
  60. Install the 1st/2nd pressure spring (3).
  61. Install the inner spring seat (2).
  62. Install new snap rings (1).

  63. Object Number: 1863440  Size: SH
  64. Install the shift cover (4).
  65. Install the vent cap (3).
  66. Install the shift lever (2).
  67. Install a new coiled pin (1).

  68. Object Number: 1863438  Size: SH
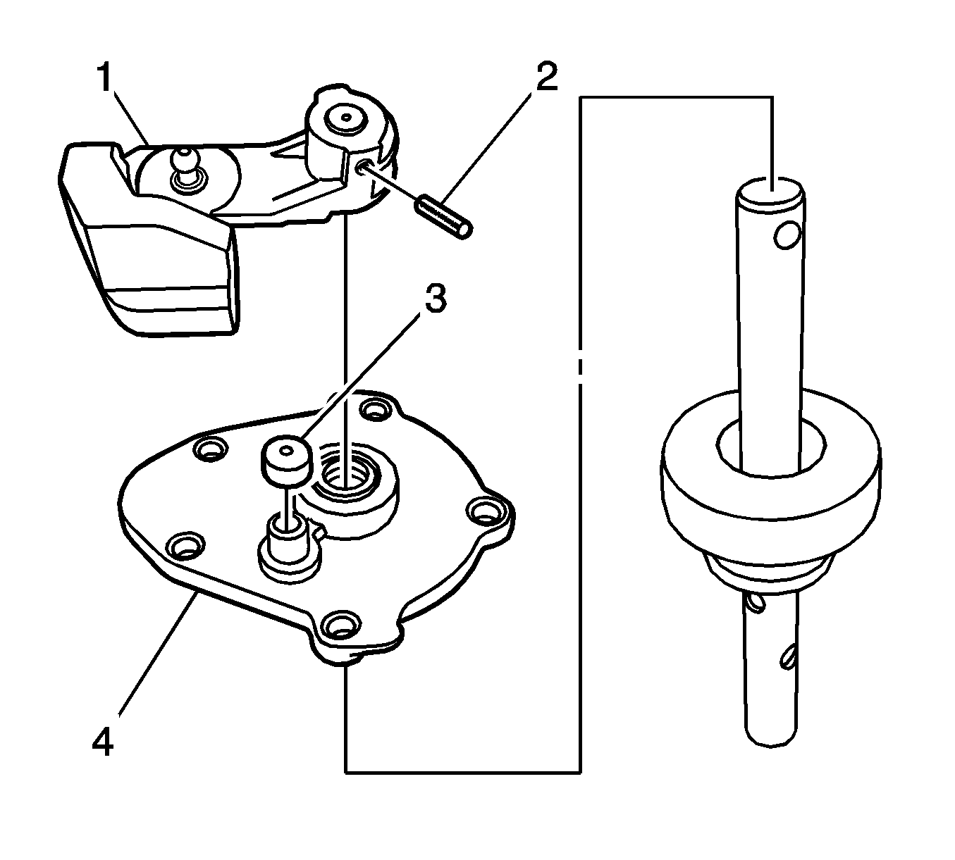
  69. Install the 5th/reverse pressure spring (1).
  70. Install the outer spring seat (2).
  71. Note: Properly support the shift finger (4) when installing the roll pin. Do not support the shift finger (4) with the shift interlock (3).

  72. Install the shift interlock (3) into the shift finger (4).
  73. Install a new coiled pin (5).
  74. Install a new coiled pin (6).
  75. Install a new shaft seal ring to the clutch housing using the DT-48179 and the DT-48187.

  76. Object Number: 1864024  Size: SH
  77. Install the interm shaft groove ball bearing to the clutch housing using the DT-48179  (1) and the DT-48185 (2).

  78. Object Number: 1863424  Size: SH
  79. Install the snap ring to the interm shaft groove ball bearing.

  80. Object Number: 1864030  Size: SH
  81. Install the input shaft roller bearing to the clutch housing using the DT-48179  (1) and the DT-48184 (2).

  82. Object Number: 1864031  Size: SH
  83. Install a new shaft seal ring to the transaxle housing using DT-48179  (1) and the DT-48187 (2).

  84. Object Number: 1864042  Size: SH
  85. Install the input shaft and output shaft groove ball bearings into the transaxle housing using DT-48179  (1) and the DT-48181 (2).

  86. Object Number: 1863414  Size: SH
  87. Install the needle sleeve flush with the casting in the transaxle housing using DT-48179  (2) and the DT-48182  (1).
  88. Caution: Refer to Fastener Caution in the Preface section.


    Object Number: 1863413  Size: SH
  89. Install the reverse shifting blocker (1), the torsion spring (2), and a new thread pin (3) to the transaxle housing and tighten to 6-9 N·m (53-80 lb in).

  90. Object Number: 1864047  Size: SH

    Note: Check the direction of the roller bearing.

  91. Install the output shaft roller bearing to the clutch housing.

  92. Object Number: 1864070  Size: SH
  93. Install interm (1), input (2), and output (3) shaft assembly with the respective shift forks in the clutch housing.
  94. 62.1. Install the DT-48190 and the input shaft retainer plug.
    62.2. Install the interm (1) and input (2) shaft assembly with the respective shift forks.

            Note: Position the interm shaft to the groove ball bearing side.

    62.3. Install the output shaft assembly and the shift fork.
    62.4. After checking the gear engagement, install each shaft assembly completely.
    62.5. Remove the DT-48190 and the input shaft retainer plug.

    Object Number: 1864071  Size: SH
  95. Install the transaxle housing on the clutch housing.
  96. 63.1. Input and output shaft must engage in the groove ball bearings in the transaxle housing.
    63.2. The interm shaft and the shift forks must sit in their opposing bearings in the transaxle housing.

            Note: If large forces are necessary when actuating the DT-48187, separate the transaxle housing and the clutch housing again and check positioning of the shaft and shift forks. Repeat operation.

    63.3. Install the DT-48187 on the transaxle housing.
       • Tighten the 4 bolts (1).
       • Screw the spindles into the input and output shaft.
    63.4. Draw the input and output shaft evenly into the groove ball bearings in the transaxle housing.
       • Hold the spindles (2) using a suitable tool.
       • Turn via nuts (3) in direction of the arrow.
    63.5. Remove the DT-48187 from the transaxle housing.
       • Unscrew the spindles into the input and output shaft.
       • Remove the 4 bolts (1).

    Object Number: 1864073  Size: SH
  97. Shift the transaxle into 4th and 5th gear using a screwdriver in an upward direction.
  98. Install new input and output shaft bolts while holding the transaxle into 4th and 5th gear in an upward direction and tighten to 90-100 N·m (66-74 lb ft).

  99. Object Number: 1864075  Size: SH

    Note: Leave area free in order not to block up the oil pipe.

  100. Apply Loctite 59000 sealant to the transaxle housing rear cover.

  101. Object Number: 1863219  Size: SH

    Note: The oil pipe only installs in one direction. Ensure the oil pipe is completely seated in the gear shafts.

  102. Install the oil pipe and transaxle housing rear cover.

  103. Object Number: 1863218  Size: SH
  104. Install transaxle housing rear cover bolts and tighten to 20-25 N·m (15-18 lb ft).

  105. Object Number: 1864078  Size: SH

    Note: In line with the interm shaft, use suitable tools to assist in the housing separation.

  106. Remove the clutch housing from the transaxle housing.

  107. Object Number: 1864096  Size: SH
  108. Install the idle shift rail (1) into the transaxle housing.
  109. Install the idle shift rail bushing (2) to the transaxle housing.
  110. Install the drain channel (3) into the transaxle housing.

  111. Object Number: 1863224  Size: SH
  112. Install the backup lamp switch and the washer to the transaxle housing and tighten to 20 N·m (15 lb ft).

  113. Object Number: 1863223  Size: SH
  114. Install the shift shaft assembly.
  115. 74.1. Apply Loctite 5203 sealer to the transaxle housing to the gear shift cover mating surface.
    74.2. Position the transaxle into Neutral.
    74.3. Install the shift shaft assembly (3).
    74.4. Install the select control lever (2).
    74.5. Install the shift retaining bolts and tighten to 20-25 N·m (15-18 lb ft).
    74.6. Install the shift guide bolt (1) and tighten to 20-25 N·m (15-18 lb ft).

    Object Number: 1864103  Size: SH
  116. Install the differential bearing race and the shim to the transaxle housing using the DT-48179  (1) and the DT-48187 (2). Refer to Manual Transmission Specifications for shim specifications.

  117. Object Number: 1864105  Size: SH
  118. Install the differential bearing race and the shim to the clutch housing using the DT-48179  (1) and the DT-48187 (2). Refer to Manual Transmission Specifications for shim specifications.

  119. Object Number: 1863246  Size: SH
  120. Install the magnet into the transaxle housing.

  121. Object Number: 1864106  Size: SH
  122. Install the differential into the transaxle housing.

  123. Object Number: 1864107  Size: SH
  124. Apply Loctite 5203 sealer to the transaxle housing to clutch housing mating surface.
  125. Note: 

       • The input and output shaft must engage in its bearing in the clutch housing.
       • The gear shift forks sit in their opposing bearings in the clutch housing.

  126. Install the clutch housing to the transaxle housing.

  127. Object Number: 1863217  Size: SH
  128. Hold the input shaft with the DT-48180 (1).
  129. Draw the interm shaft into the interm shaft groove ball bearing with old retainer plug.
  130. Shift the transaxle into any gear.


    Object Number: 1863225  Size: SH
  131. Install the clutch housing to transaxle housing bolts and tighten to 20-25 N·m (15-18 lb ft).
  132. Remove the old retainer plug from the interm shaft, and install a new retainer plug and tighten to 90-100 N·m (66-74 lb ft).
  133. Remove the DT-48180.

  134. Object Number: 1864110  Size: SH
  135. Install the transaxle housing to clutch housing bolts and tighten to 20-25 N·m (15-18 lb ft).

  136. Object Number: 1863216  Size: SH
  137. Install a new oil pipe into the interm shaft.
  138. Install a new interm shaft sealing plug.

  139. Object Number: 1863070  Size: SH
  140. Coat the thrust bearing guide surface with multi-purpose grease.
  141. Note: Check the thrust bearing guide mounting points.

  142. Install the O-ring and the thrust bearing guide.

  143. Object Number: 1863068  Size: SH
  144. Install the thrust bearing guide bolts and tighten to 8-12 N·m (71-106 lb in).

  145. Object Number: 1863067  Size: SH
  146. Coat the release lever shaft bushings with multi-purpose grease.
  147. Install the release lever shaft bushings in the clutch housing.

  148. Object Number: 1863065  Size: SH
  149. Coat the thrust clutch bearing bore with multi-purpose grease.
  150. Install the thrust clutch bearing and the clutch release fork.

  151. Object Number: 1863063  Size: SH
  152. Install the clutch release lever.

  153. Object Number: 1863051  Size: SH
  154. Install the clutch release fork bolt and tighten to 20-25 N·m (15-18 lb ft)

  155. Object Number: 1862871  Size: SH
  156. Install the speedometer driven gear and the bolt and tighten to 3-5 N·m (27-44 lb in).

  157. Object Number: 1863041  Size: SH
  158. Install the shift control cable bracket, the washer, and the bolts and tighten to 10-14 N·m (89-124 lb in).
  159. Install the transaxle into the vehicle. Refer to Transaxle Assembly in this section.

  160. Object Number: 1864113  Size: SH
  161. Using a rubber mallet, tap lightly on the transaxle housing mating surface to ensure the bearings are fully seated.

  162. Object Number: 1864117  Size: SH
  163. Install the DT-48200  (1) to transaxle housing.
  164. Note: Adjust the height of the DT-48200 for the zero point setting.

  165. Adjust the zero point setting for each place on the transaxle housing flange surface using the DT-48200 and the height gage.

  166. Object Number: 1864118  Size: SH
  167. Measure the 3 places on the output shaft gear thrust washer surface using the height gage (average = A).
  168. The height from the transaxle housing flange surface to the thrust washer surface.


    Object Number: 1864119  Size: SH
  169. Place the clutch housing differential bearing race, the differential, the transaxle housing differential bearing race, and the DT-48201 (1) onto the DT-48202 (2).

  170. Object Number: 1864120  Size: SH
  171. Adjust the zero pint setting for each place on the transaxle housing differential bearing race surface using the height gage.

  172. Object Number: 1864121  Size: SH
  173. Measure the 3 places on the differential ring gear surface using the height gage (average = B).
  174. The height from the transaxle housing differential bearing race to the differential ring gear surface.


    Object Number: 1864124  Size: SH
  175. Measure the 3 places on the DT-48202 (1) using the height gage (average = C).
  176. The height from the transaxle housing differential bearing race to the clutch housing differential bearing race.


    Object Number: 1864126  Size: SH
  177. To obtain shim size for transaxle housing shim use the following formula:
  178. 1 = 37.2mm - A - B

    To obtain shim size for clutch housing shim use the following formula:

    2 = 134.08mm - C - 1