GM Service Manual Online
For 1990-2009 cars only
Figure 1:

HVAC Module


Object Number: 1469238  Size: LF
(1)HVAC Module
(2)Mode Motor
(3)Air Temperature Actuator Recirculation Actuator
Figure 2:

HVAC Components


Object Number: 1480138  Size: LF
(1)Inside Air Temperature Sensor
(2)Blower Control Module
(3)Blower Motor
(4)HVAC Control
Figure 3:

Park Brake Switch


Object Number: 1469235  Size: MF
(1)Parking Brake Switch
Figure 4:

Theft Deterrent Control Module


Object Number: 1469261  Size: LF
(1)Security Indicator
(2)Theft Deterrent Control Module
Figure 5:

Rearview Mirror. Rear Defog Switch


Object Number: 1469249  Size: MF
(1)Body Control Module (BCM)
(2)Rear Defogger Switch
(3)Inside Rearview Mirror
(4)Cruise Control Switch
(5)Cruise Control Module
Figure 6:

Instrument Panel Switches


Object Number: 1469253  Size: LF
(1)Shift Program Switch, Hold Mode Switch
(2)Cigar Lighter
(3)Daytime Running Lamp Module (w/DRL)
(4)Clock
(5)Auxiliary Power Outlet
(6)Dimmer Control Switch (I/P)/Headlamp Leveling Switch
(7)Horn Switch
Figure 7:

Instrument Panel


Object Number: 1469252  Size: LF
(1)Instrument Cluster
(2)Ignition Switch
(3)Speaker (Tweeter) Right Front (Left Similar)
(4)Radio
(5)Shift Indicator Lamp - Automatic Transmission
(6)Fog Lamp Switch - Rear (w/ Rear Fog Lamps)
(7)Fog Lamp Switch/Front
(8)Ashtray Lamp
(9)DRL Diode
Figure 8:

Instrument Panel Multifunction Switches


Object Number: 1469254  Size: LF
(1)Traction Control Switch (TCS)
(2)Windshield Wiper/Washer Switch
(3)Hazard Switch
(4)I/P Compartment Lamp/Switch
(5)Headlamp Switch, Turn Signal/ Multifunction Switch
Figure 9:

Mirrors and Mirror Switches


Object Number: 1469227  Size: LF
(1)Mirror Control Switch
(2)Folding Mirror Switch
(3)Outside Rearview Mirror Power Folding Mirror Module
(4)Outside Rearview Mirror/Power
Figure 10:

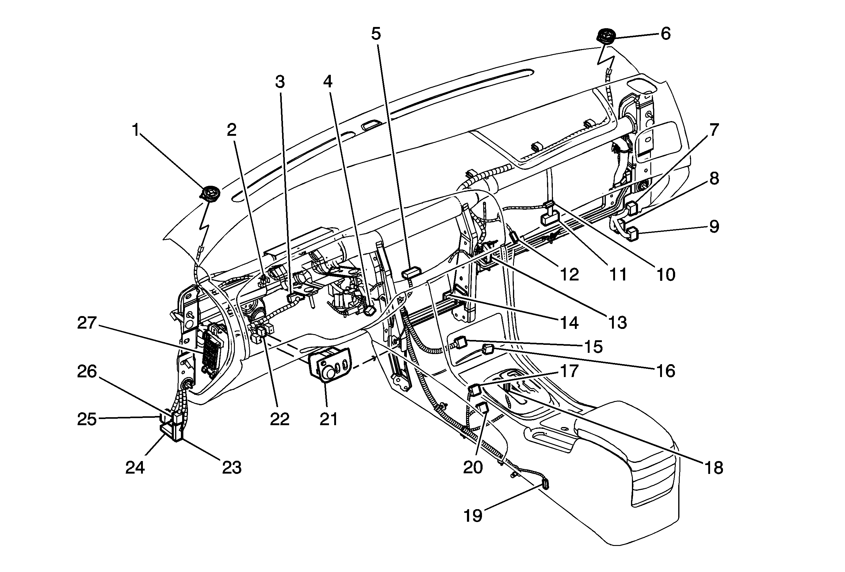
I/P Harness Routing (LHD)


Object Number: 2018484  Size: MF
(1)Speaker - Left
(2)I/P Cluster
(3)X210
(4)DLC
(5)Radio
(6)Speaker - Right
(7)X213
(8)X214
(9)X216
(10)I/P Compartment Lamp
(11)X211
(12)I/P Compartment Lamp Switch
(13)JX203
(14)JX202
(15)X216
(16)Auxiliary Power Outlet
(17)Shift Selector Lever
(18)PRNDL Lamp (M98)
(19)Parking Brake Switch
(20)Automatic Transmission Control Indicator (MH7/MH8)
(21)Multifunction Switch
(22)Body Control Module (BCM) (ISU)
(23)X202
(24)X203
(25)X204
(26)X205
(27)Fuse Block - I/P
Figure 11:

I/P Harness Routing (RHD)


Object Number: 1864912  Size: MF
(1)Speaker - Left
(2) Clock
(3)Radio
(4)Hazard Switch
(5)Instrument Panel Cluster (IPC)
(6)Speaker - Right
(7)Fuse Block - I/P
(8)X202, X204, X205
(9)PRNDL Lamp (M98)
(10)Shift Selector Lever
(11)Winter Mode Switch (M98) / Automatic Transmission Control Indicator (MH7/MH8)
(12)Park Brake Switch
(13)Auxiliary Power Outlet
(14)X211
(15)X203, X213, X214, X216
Figure 12:

Data Link Connector (DLC)


Object Number: 1505467  Size: MF
(1)Data Link Connector (DLC)