GM Service Manual Online
For 1990-2009 cars only

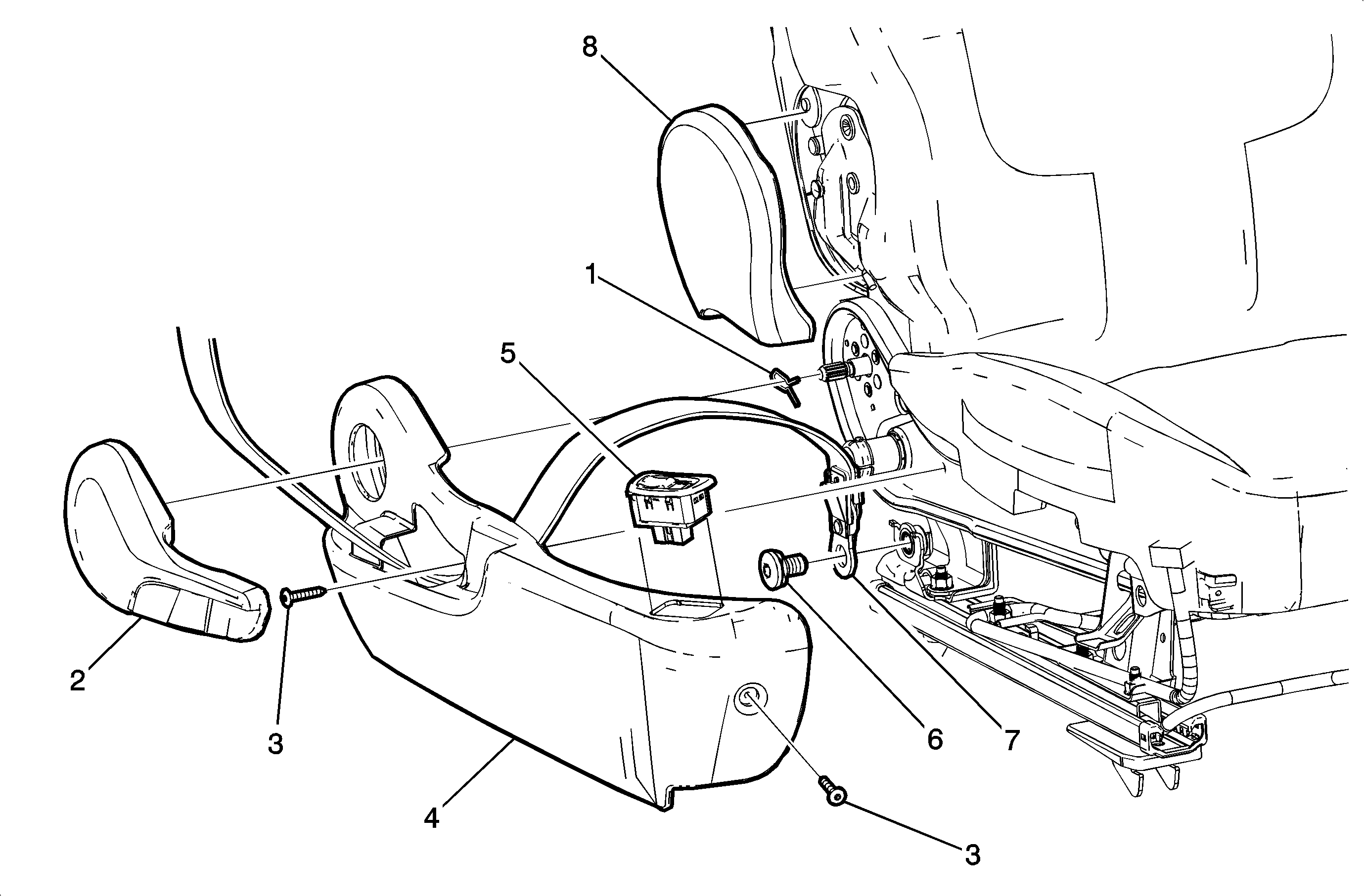
Object Number: 1370505  Size: MF

Callout

Component Name

Fastener Tightening Specifications. Refer to Fastener Tightening Specifications (Link disabled for test).

1

Clip, Passenger Seat Recliner Handle Spring

2

Handle, Passenger Seat Recliner

3

Screw, Passenger Seat Cushion Outer Finish Panel

Tighten: to 2.5 N·m (22 lb in).

4

Panel, Passenger Seat Cushion Outer Finish

Tip: Slide the panel toward the rear of the vehicle. Remove the panel from the recliner end first.

5

Switch, Passenger Seat Heater

6

Bolt, Front Seat Belt Anchor

Tighten: to 35 N·m (25 lb ft).

7

Anchor, Front Seat Belt

8

Cover, Passenger Seat Cushion Outer Close Out