GM Service Manual Online
For 1990-2009 cars only
Makes
🢒
Chevrolet
🢒
1997
🢒
Express
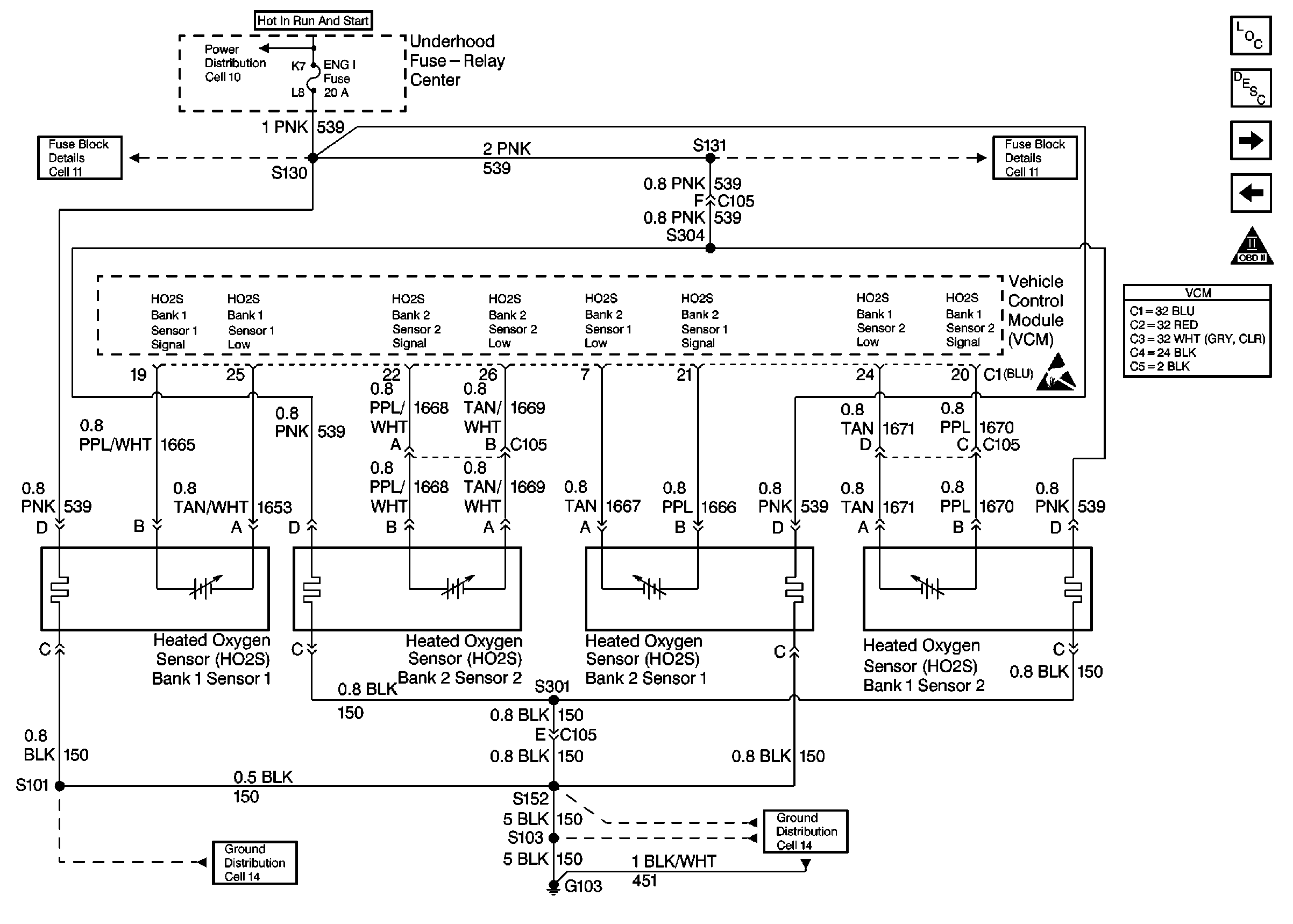
🢒 Oxygen Sensor Controls 7.4L
Oxygen Sensor Controls 7.4L
Oxygen Sensor Controls 7.4L
Engine Controls Components
Information Sensors 5.7L, 7.4L
Vehicle Speed Sensor and Cruise Control 7.4L
EGR and EVAP Controls 7.4L
OBD II Symbol Description Notice