GM Service Manual Online
For 1990-2009 cars only

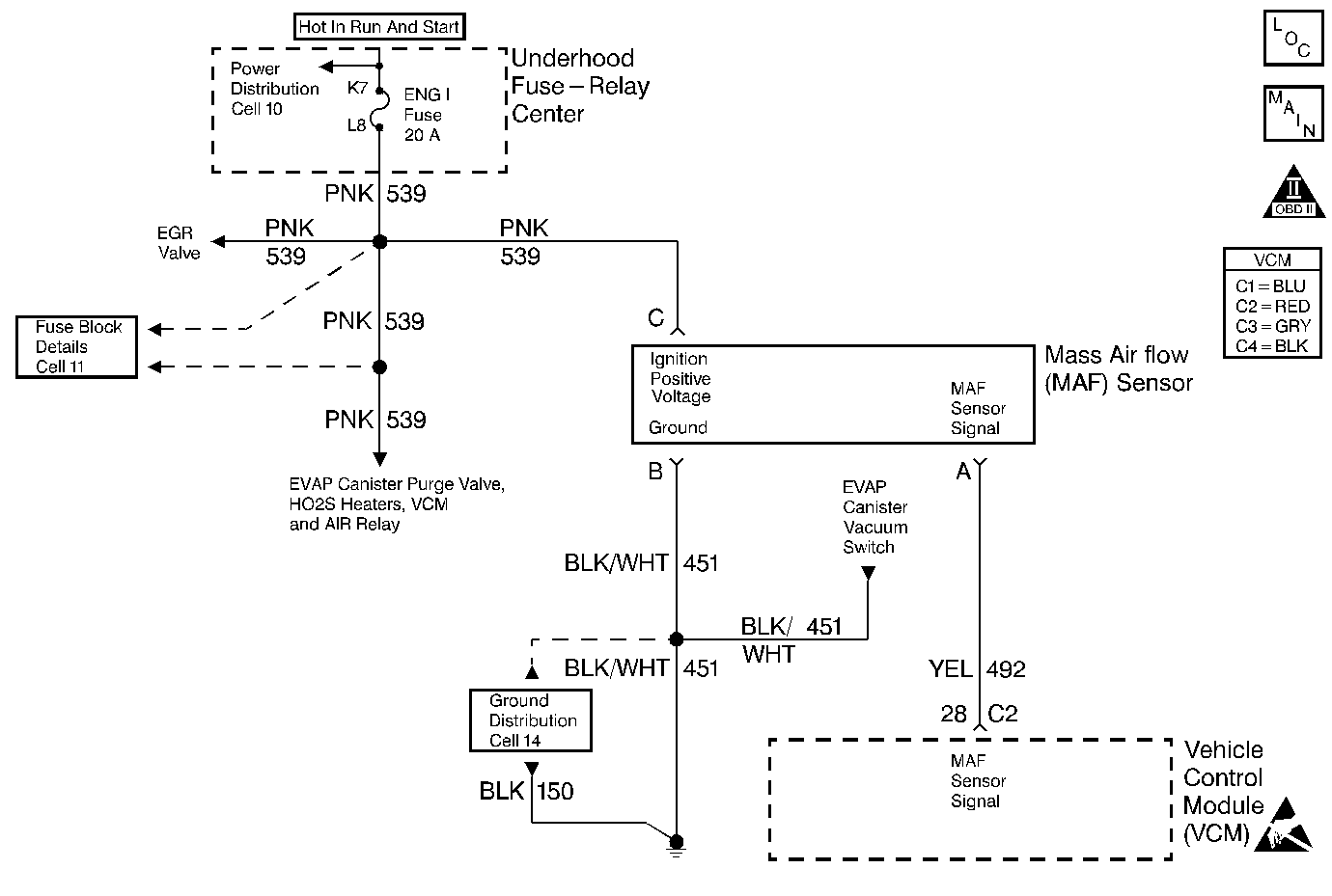
Object Number: 58129  Size: MF
Engine Controls Components
Engine Controls Schematics
OBD II Symbol Description Notice
Handling ESD Sensitive Parts Notice

Circuit Description

The Mass Air Flow (MAF) sensor measures the amount of air entering the engine during a given time. The VCM uses the mass air flow information for the fuel delivery calculations. A large quantity of air entering the engine indicates an acceleration or high load situation. A small quantity of air indicates a deceleration or an idle situation.

The MAF sensor produces a frequency signal which can be monitored by using a scan tool. The frequency varies within a range of around 5 to 7 g/s at idle to approximately 125 g/s at the maximum engine load. This DTC is a type A DTC.

Conditions for Setting the DTC

The following conditions will set the DTC:

    • The engine is running
    • No TP sensor DTCs
    • No MAP sensor DTCs
    • No EVAP DTCs
    • EGR DTC P0401 not active
    • MAF DTCs high/low not active
    • The system Voltage is between 11-16 volts
    • The Canister Purge Duty Cycle is less than 99.6%
    • The change in throttle position is less than 3.9%
    • The EGR duty cycle is no more than 89.8%
    • The EGR Pintle Position is no more than 89.8%
    • The MAP is no more than 90 kPa
    • The engine vaccuum is less than or equal to 90 kPa
    • The throttle position is no more than 89.8%
    • The above conditions met for greater than 2 seconds
    • The signal from the MAF sensor does not match a predicted value based on barometric pressure, throttle position, and engine speed

Action Taken When the DTC Sets

    • The VCM illuminates the Malfunction Indicator Lamp (MIL) the first time the fault is detected.
    •  The VCM calculates an airflow value based on the idle air control (IAC) valve position, the throttle position, the engine speed, and the barometric pressure.
    •  The VCM will store the conditions which were present when the DTC set as Freeze Frame and the Fail Records data.

Conditions for Clearing the MIL or DTC

    • The control module turns OFF the MIL after 3 consecutive drive trips when the test has run and passed.
    • A history DTC will clear if no fault conditions have been detected for 40 warm-up cycles. A warm-up cycle occurs when the coolant temperature has risen 22°C (40°F) from the startup coolant temperature and the engine coolant reaches a temperature that is more than 70°C (158°F) during the same ignition cycle.
    • Use a scan tool in order to clear the DTCs.

Diagnostic Aids

Check for the following conditions:

    • A skewed or stuck TP sensor. A faulty TP sensor or TP sensor circuit can cause the VCM to incorrectly calculate the predicted mass air flow value. Observe the Throttle Angle with the throttle closed. If the Throttle Angle reading is not 0%, check for the following conditions:
       - The throttle plate sticking or excessive deposits on the throttle plate or the throttle bore
       - The TP sensor signal circuit shorted to voltage
       - A Poor connection or high resistance in the TP sensor ground circuit.
       - If none of the above conditions are noted and the Throttle Angle reading at closed throttle is not 0%, replace the TP sensor.
    • Inspect harness connectors for the following conditions:
       - Backed out terminals
       - Improper mating
       - Broken locks
       - Improperly formed or damaged terminals
       - Poor terminal to wire connection
    • A misrouted harness. Inspect the MAF sensor harness in order to ensure that it is not routed too close to high voltage wires such as spark plug leads.
    • A damaged harness. Inspect the wiring harness for damage. If the harness appears to be OK, observe the scan tool while moving the connectors and the wiring harnesses related to the MAF sensor. A change in the display indicates the location of the fault.
    • A plugged intake air duct or dirty air filter element. A wide open throttle acceleration from a stop should cause the Mass Air Flow displayed on a scan tool to increase from about 4-7 gm/s at idle to 100 gm/s or greater at the time of the 1-2 shift. If not, check for a restriction.
    • Skewed MAP sensor. A skewed MAP sensor can cause the BARO reading to be incorrectly calculated. In order to check the MAP sensor, compare the BARO reading on the vehicle being diagnosed to the BARO reading on a normally operating vehicle. If a large difference is noted (over 8 kPa), replace the MAP sensor. Refer to Manifold Absolute Pressure Sensor Replacement .

Test Description

The numbers below refer to the step numbers on the diagnostic table.

  1. This step verifies that the problem is present at idle.

  2. A voltage reading of less than 4.0 volts or over 6.0 volts at the MAF sensor signal circuit indicates a fault in the wiring or a poor connection.

  3. This step verifies that the ignition feed circuit voltage and a good ground are available at the MAF sensor.

Step

Action

Value(s)

Yes

No

1

Important: Before clearing DTCs, use the scan tool in order to record the Freeze Frame and the Failure records for reference.

This data will be lost when the when the Clear DTC Information function is used.

Was the Powertrain On-Board Diagnostic (OBD) System Check performed?

--

Go to Step 2

Go to Powertrain On Board Diagnostic (OBD) System Check

2

  1. Turn ON the ignition leaving the engine OFF.
  2. Review the scan tool Failure Records data.
  3. Record the scan tool Failure Records data.
  4. Operate the vehicle within the Failure Records conditions as noted.
  5. Using the scan tool, monitor the Specific DTC Info for DTC P0101.

Does the scan tool indicate DTC P0101 Failed This Ignition?

--

Go to Step 3

Go to The Diagnostic Aids

3

  1. Check for the following conditions:
  2. • Objects blocking the MAF sensor inlet screen
    • Vacuum leaks in the
       • Intake manifold
       • Throttle body
       • EGR valve flange and pipes
       • MAP sensor seal
       • EVAP canister purge valve seal
       • Fuel meter body seal
    • The crankcase ventilation valve for being faulty, missing or incorrectly installed.
  3. If a problem is found, repair as necessary.

Was a problem found?

--

Go to Step 17

Go to Step 4

4

  1. Turn ON the ignition with the engine OFF.
  2. Observe the TP Angle on the scan tool.

Does the scan tool display the specified value?

0%

Go to Step 5

Go to DTC P0121 Throttle Position (TP) Sensor Performance

5

  1. Turn OFF the ignition.
  2. Disconnect the MAF sensor connector.
  3. Turn ON the ignition leaving the engine OFF.
  4. Using a DVM, measure the voltage between the MAF signal circuit and chassis ground.

Is the voltage near the specified value?

5.0 V

Go to Step 6

Go to Step 7

6

Connect a test lamp between the MAF sensor ignition feed and ground circuits at the MAF sensor harness connector.

Is the test lamp ON?

--

Go to Step 10

Go to Step 9

7

Is the voltage less than the specified value?

4.5 V

Go to Step 11

Go to Step 8

8

  1. Turn OFF the ignition.
  2. Disconnect the VCM connector.
  3. Turn ON the ignition leaving the engine OFF.
  4. Measure the voltage between the MAF signal circuit and ground.

Is the voltage near the specified value?

0.0 V

Go to Step 16

Go to Step 14

9

Connect a test lamp between the MAF sensor ignition feed circuit and the chassis ground.

Is the test lamp ON?

--

Go to Step 12

Go to Step 13

10

  1. Check for a poor connection at the MAF sensor.
  2. If a poor connection is found, repair the connection at the MAF sensor. Refer to Wiring Repairs in Engine Electrical.

Did you find a poor connection?

--

Go to Step 17

Go to Step 15

11

  1. Check the MAF signal circuit between the VCM and the MAF sensor for an open, short to ground or a short to the MAF sensor ground circuit.
  2. If the MAF signal circuit is open or shorted, repair as necessary. Refer to Wiring Repairs in Engine Electrical.

Was the MAF signal circuit open or shorted?

--

Go to Step 17

Go to Step 16

12

Repair the open in the ground circuit to the MAF sensor. Refer to Wiring Repairs in Engine Electrical.

Is the action complete?

--

Go to Step 17

--

13

Repair the open in the ignition feed circuit to the MAF sensor. Refer to Wiring Repairs in Engine Electrical.

Is the action complete?

--

Go to Step 17

--

14

Repair the short to voltage in the MAF sensor signal circuit. Refer to Wiring Repairs in Engine Electrical.

Is the action complete?

--

Go to Step 17

--

15

Replace the MAF sensor. Refer to MAF Sensor Replacement .

Is the action complete?

--

Go to Step 17

--

16

Replace the VCM.

Important: When replacing the VCM, the new VCM will need to be programmed. Refer to VCM Replacement/Programming (With KS Calibration PROM) .

Is the action complete?

--

Go to Step 17

--

17

  1. Use the scan tool in order to select DTC and the Clear DTC Information function
  2. Start the Engine.
  3. Allow the engine to Idle until the normal operating temperature is reached.
  4. Select DTC and the Specific DTC function.
  5. Enter the DTC number which was set.
  6. Operate the vehicle within the conditions for setting this DTC as specified in the supporting text.

Does the scan tool indicate that this diagnostic ran and passed?

--

Go to Step 18

Go to Step 2

18

Use the scan tool in order to display the Capture Info and the Review Capture Info function.

Are there any DTCs displayed that have not been diagnosed?

--

Go to The Applicable DTC Table

System OK