GM Service Manual Online
For 1990-2009 cars only

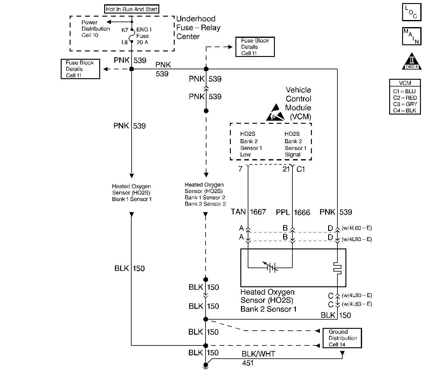
Object Number: 58141  Size: LF
Engine Controls Components
Engine Controls Schematics
OBD II Symbol Description Notice
Handling ESD Sensitive Parts Notice

Circuit Description

Important: If measured with a megaohm digital voltmeter, this may read as low as 0.32 volt.

The VCM supplies a voltage of about 0.45 volt (450 mV) between the HO2S signal and the HO2S Low circuits. The Heated Oxygen Sensor (HO2S) varies the voltage from approximately 1.0 volt (1000 mV) during rich conditions to 0.10 volt (100 mV) during lean conditions.

The sensor acts like an open circuit and produces no voltage when the temperature is below 360°C (600°F). The DTC P0151, P0152 or an open sensor circuit or the cold sensor causes the open loop operation. The DTC P0152 determines if the HO2S sensor or the circuit is shorted to high by checking for a rich condition during a steady throttle. This is a type A DTC.

Conditions for Setting the DTC

The following conditions will set the DTC:

    • No TP sensor DTCs
    • No EVAP DTCs
    • No IAT sensor DTCs
    • No MAP sensor DTCs
    • No ECT sensor DTCs
    • No MAF sensor DTCs
    • No intrusive test in progress
    • No device controls active
    • The system voltage measures at least 9.0 volts

Test Enable Rich Test

    • A Closed Loop
    • Air to fuel ratio is at least 14.5 but less than 14.8.
    • The TP is greater than 0% but less than 50%.
    • The above must meet for 5 seconds.
    • HO2S (Bank 2, Sensor 1) DTCs not activate since the code clear
    • The HO2S (Bank 2, Bank 1) voltage measures greater than 0.976 volts (976 mV).

Test Enable DFCO Rich Test

    • Decel Fuel cutoff mode is active.
    • A Closed Loop
    • The time elapsed is at least 2 seconds.
    • HO2S (Bank 2, Sensor 1) not active since the clear code.
    • The HO2S (Bank 2, Sensor 1) voltage measures greater than 0.468 volts (486 mV).

Action Taken When The DTC Sets

A current DTC P0151 causes the system to operate in open loop. With the DTC P0151 set, the MIL (Malfunction Indicator Lamp) turns ON at the first test failure.

Conditions for Clearing the MIL or DTC

    • The control module turns OFF the MIL after 3 consecutive drive trips when the test has run and passed.
    • A history DTC will clear if no fault conditions have been detected for 40 warm-up cycles. A warm-up cycle occurs when the coolant temperature has risen 22°C (40°F) from the startup coolant temperature and the engine coolant reaches a temperature that is more than 70°C (158°F) during the same ignition cycle.
    • Use a scan tool in order to clear the DTCs.

Diagnostic Aids

Important: Never solder the HO2S wires. For proper wire and connector repair, refer to Wiring Repairs .

Check the following items

    • The fuel pressure: If the pressure is too high, the system will run rich. The VCM can compensate for some increase; however, if the pressure gets too high, DTC P0152 may set. Refer to Fuel System Diagnosis .
    • A rich injector. Perform the Injector Balance tes.Refer to Fuel Injector Balance Test .
    • A leaking injector. Refer to Fuel System Diagnosis .
    • Fuel contaminated oil.
    • EVAP canister purge: Check for a fuel saturation. If full of fuel, check the canister control and hoses. Refer to Evaporative Emission Control System Diagnosis .
    • Leaking fuel pressure regulator diaphragm by checking vacuum line to regulator for fuel.
    • The TP sensor: An intermittent TP sensor output causes the system to run rich due to a false indication of the throttle moving.
    • False rich indication due to silicon contamination of the heated oxygen sensor. A DTC P0152 accompanied by a lean driveability condition and a powdery white deposit on the sensor indicates a false rich indication.

Test Description

The number below refers to the step number in the diagnostic table.

  1. This test determines if the conditions exist in order to set the DTC P0152.

  2. If the HO2S is internally shorted, the HO2S voltage displayed on a scan tool will be over 1.0 volt (1000 mV).

Step

Action

Value(s)

Yes

No

1

Important:  Before clearing DTCs, use the scan tool in order to record the Freeze Frame and the Failure records for reference. This data will be lost when the Clear DTC Information function is used.

Was the Powertrain On-Board Diagnostic (OBD) System Check performed?

--

Go to Step 2

Go to Powertrain On Board Diagnostic (OBD) System Check

2

  1. Connect the scan tool.
  2. Run the engine at the normal operating temperature.
  3. Place the vehicle in park or neutral.
  4. Apply the parking brake.
  5. Increase the engine speed to the specified value.

Does the scan tool data display indicate HO2S voltage fixed above the specified value?

1200 RPM

0.976 V (976 mV

Go to Step 3

Go to Step 4

3

  1. Disconnect the HO2S.
  2. Turn ON the ignition while leaving the engine off.

Does the scan tool data display indicate the HO2S voltage near the specified value?

400 mV

Go to Step 6

Go to Step 5

4

The DTC is intermittent

Are any additional DTCs set?

--

Go to the applicable DTC table

Go to Diagnostic Aids

5

  1. Check for a short to voltage in the HO2S Signal circuit.
  2. If a problem is found, repair the circuit as necessary. Refer to Wiring Repairs in Electrical Diagnosis.

Was the HO2S Signal circuit shorted?

--

Go to Step 8

Go to Step 7

6

Replace the HO2S. Refer to Heated Oxygen Sensor Replacement .

Is the action complete?

--

Go to Step 8

--

7

Replace the VCM.

Important: When replacing the VCM, the new VCM will need to be programmed. Refer to VCM Replacement/Programming .

Is the action complete?

--

Go to Step 8

--

8

  1. Use the scan tool in order to select the DTC and the Clear DTC Information functions.
  2. Start the Engine.
  3. Allow the engine to idle until the normal operating temperature is reached.
  4. Select the DTC and the Specific DTC functions.
  5. Enter the DTC number which was set.
  6. Operate the vehicle within the conditions for setting this DTC as specified in the supporting text.

Does the scan tool indicate that this diagnostic ran and passed?

--

Go to Step 9

Go to Step 2

9

Use the scan tool in order to display the Capture Info and the Review Capture Info functions.

Are there any DTCs displayed that have not been diagnosed?

--

Go to the applicable DTC table

System OK