GM Service Manual Online
For 1990-2009 cars only

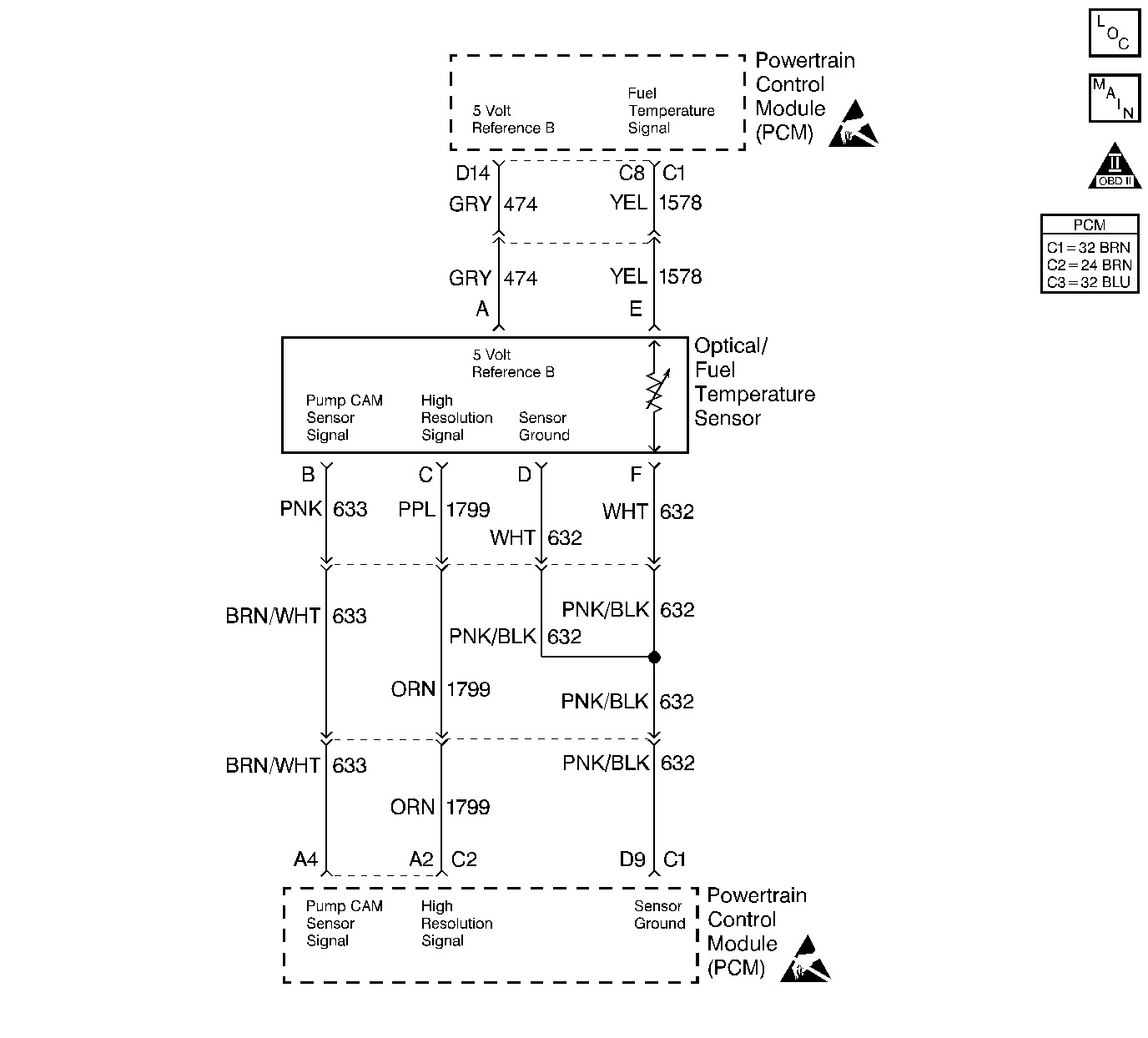
Object Number: 64729  Size: LF
Engine Controls Components
Fuel Temperature Controls
OBD II Symbol Description Notice
Handling ESD Sensitive Parts Notice
Handling ESD Sensitive Parts Notice

Circuit Description

The optical sensor provides a pump cam signal to the PCM by counting the pulses on the sensor which is disk located inside of the injection pump. The pump cam is one of the most important inputs by the PCM for fuel control and timing. This test monitors the number of crankshaft position pulses that have occurred since the last cam pulse. The physical one to one correspondence between the pump cam and the crankshaft implies that if more crank pulses are detected than cam pulses, the cam pulses have been missed. This is a type A DTC.

Conditions for Setting the DTC

Eight consecutive cam pulses are missing or an average of eight cam pulses are missing.

Action Taken When the DTC Sets

Backup fuel

Conditions for Clearing the MIL/DTC

    • The PCM will turn the MIL off after three consecutive trips without a fault condition.
    • A History DTC will clear after forty consecutive warm-up cycles during which the diagnostic does not fail (the coolant temperature has risen 5°C (40°F) from the start up coolant temperature and the engine coolant temperature exceeds 71°C (160°F) during that same ignition cycle).
    • Use of a Scan Tool will clear the DTC codes.

Diagnostic Aids

Intermittent DTCs (P0251, P0370 and P1216) may be caused by air entering the fuel system when fuel levels get below 1/8 of a tank while performing hard acceleration or turning maneuvers. Its also possible that a P0251, P0370 and P1216 will set if vehicle has run out of fuel. Customer driving habits should be checked to determine if vehicle has been performing in these manners. If it has been determine that the vehicle has been performing in these conditions, bleed fuel system of all air and test drive vehicle.

When the PCM is in backup fuel, fast idle and poor performance problems will exist. A P0251 and P0370 may possibly set if the vehicle has run out of fuel.

An intermittent condition may be caused by the following:

    • Poor connections.
    • A rubbed through wire insulation.
    • A broken wire inside of the insulation.

Test Description

Number(s) below refer to the step number(s) on the Diagnostic Table.

  1. This step will determine if this is a hard or intermittent DTC.

  2. This step will determine if there is a 5 volt reference.

  3. This step will check to see if the sensor is sending a signal back to the PCM.

  4. The PCM supplies 5 volts on the signal circuit. This step determines if that voltage is present, not present, or too much voltage is present.

  5. This step determines if the signal circuit is shorted to 5V. A normal CAM signal circuit will have 3-5mA. Any reading over 50mA indicates a short to 5V.

Step

Action

Value(s)

Yes

No

1

Important: Before clearing any DTCs, use the scan tool Capture Info to save freeze frame and failure records for reference, as the scan tool loses data when using the Clear Info function.

Was the Powertrain On-Board Diagnostic (OBD) System Check performed?

--

Go to Step 2

Go to Powertrain On Board Diagnostic (OBD) System Check

2

Is the DTC P0370 set also?

--

Go to DTC P0370 Timing Reference High Resolution System Performance

Go to Step 3

3

  1. Start and idle the engine.
  2. With the throttle closed, observe the CAM Ref Missed display on the scan tool.

Does scan tool display the specified value?

8

Go to Step 5

Go to Step 4

4

The DTC is intermittent. If no additional DTCs are stored, refer to Diagnostic Aids. If additional DTCs were stored refer to the applicable DTC table(s) first.

Are any additional DTCs stored?

--

Go to the Applicable DTC Table

Go to Diagnostic Aids

5

  1. Turn the ignition OFF.
  2. Disconnect the Optical/Fuel temperature sensor electrical connector.
  3. Turn the ignition ON leaving the engine OFF.
  4. Using a J 39200 , measure the voltage between the Optical sensor 5 volt reference circuit at the harness connector and chassis ground .

Is the voltage within the specified value?

4.8-5.2V

Go to Step 6

Go to Step 8

6

Probe the sensor ground circuit with a test light connected to B+ at the harness connector.

Is the test light ON?

--

Go to Step 7

Go to Step 10

7

  1. Reconnect the Optical/Fuel temperature sensor electrical connector.
  2. Start and idle the engine.
  3. With a scan tool, command 900 RPM.
  4. With J 39200 on Hertz (Hz) scale, back probe the Pump CAM signal circuit at the PCM.

Is the Hertz reading at the specified value?

60 Hz

(± 3 Hz)

Go to Step 16

Go to Step 12

8

  1. Remove the electrical harness from the vehicle.
  2. Check the resistance of the electrical harness filter 5V reference circuit.

Is the resistance greater than the specified value?

2 ohms

Go to Step 20

Go to Step 9

9

  1. Turn the ignition OFF.
  2. Disconnect the PCM and check the Optical sensor 5 volts reference circuit for an open, short to ground, or short to the sensor ground circuit.
  3. If the Optical sensor 5 volt reference circuit is open or shorted to ground, repair it as necessary.

Was the Optical sensor 5 volt reference circuit open or shorted to ground?

--

Go to Step 23

Go to Step 11

10

  1. Check for an open or a proper sensor ground terminal connection at the PCM.
  2. If a problem is found, repair as necessary.

Was a repair performed?

--

Go to Step 23

Go to Step 22

11

Check the Optical/Fuel temperature 5 volt reference circuit for a proper connection at the PCM and replace terminal if necessary.

Did the terminal require replacement?

--

Go to Step 23

Go to Step 22

12

  1. Turn the ignition ON leaving the engine OFF.
  2. Disconnect the Optical/Fuel temperature sensor electrical connector.
  3. With a J 39200 connected to ground, probe the CAM signal circuit.

Is the voltage within the specified value?

4.8-5.2V

Go to Step 17

Go to Step 13

13

Is the voltage greater than the specified value?

4.8-5.2V

Go to Step 14

Go to Step 15

14

Repair the short to battery/ignition voltage on the CAM signal circuit.

Is the action complete?

--

Go to Step 23

--

15

  1. Turn the ignition OFF.
  2. Check the Cam signal circuit for an open or short to ground.
  3. If the CAM signal circuit is open or shorted to ground, repair the circuit as necessary.

Was the CAM signal circuit open or shorted to ground?

--

Go to Step 23

Go to Step 16

16

Check for a proper connection at the PCM harness terminal and replace the terminal if necessary.

Did the terminal require replacement?

--

Go to Step 23

Go to Step 22

17

With a DMM J 39200 set to the mA scale, measure the current between the CAM signal circuit and the ground circuit at the Optical/Fuel temperature sensor electrical connector.

Is the current less than the specified value?

50mA

Go to Step 19

Go to Step 18

18

Repair the short to reference voltage on the CAM signal circuit.

Is the action complete?

--

Go to Step 23

--

19

  1. Check for a proper connection at the injection pump.
  2. If a problem is found, repair the problem as necessary.

Was a problem found?

--

Go to Step 23

Go to Step 21

20

Replace the electrical filter harness.

Is the action complete?

--

Go to Step 23

--

21

Replace the injection pump. Refer to Fuel Injection Pump Replacement .

Important: The new injection pump must be timed. Refer to Checking/Adjust Injection Timing .

Is the action complete?

--

Go to Step 23

--

22

Replace the PCM.

Important:  The new PCM must be programmed. Refer to Powertrain Control Module Replacement/Programming .

Is the action complete?

--

Go to Step 23

--

23

  1. Using the Scan tool, clear the DTCs.
  2. Start the engine and idle at normal operating temperature.
  3. Select DTC, Specific, then enter the DTC number which was set.
  4. Operate the vehicle, within the Conditions for Setting this DTC, until the Scan Tool indicates the diagnostic Ran.

Does the Scan tool indicate the diagnostic Passed?

--

Go to Step 24

Go to Step 2

24

Does the Scan tool display any additional undiagnosed DTCs?

--

Go to the Applicable DTC Table

System OK