GM Service Manual Online
For 1990-2009 cars only

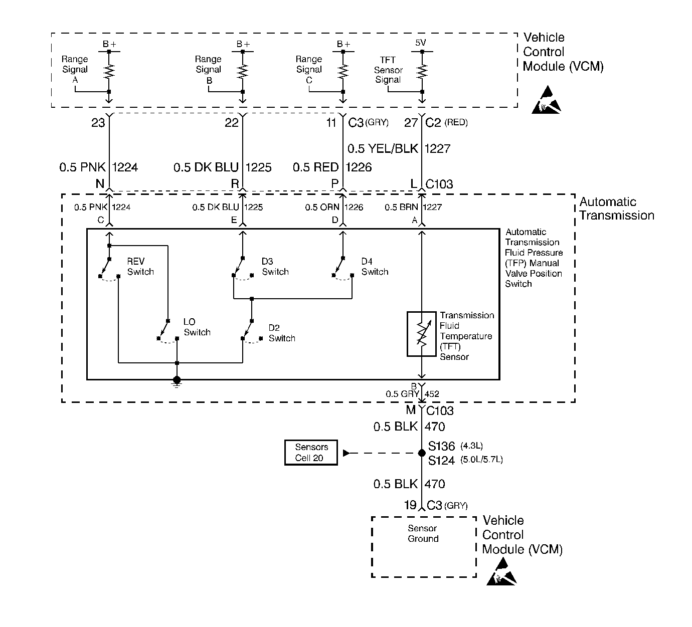
Object Number: 69529  Size: LF

Circuit Description

The Automatic Transmission Fluid Temperature (TFT) sensor is a thermistor within the Automatic Transmission Fluid Pressure Manual Valve Position Switch (TFP Val. Position Sw.). The TFT sensor controls the signal voltage to the VCM. The VCM supplies a 5-volt reference signal to the sensor on circuit 1227. When the transmission fluid is cold, the sensor resistance is high. The VCM detects high signal voltage. As the transmission fluid temperature increases to the normal operating temperature, the sensor resistance becomes less and the voltage decreases.

When the VCM detects one of the following unusual conditions, then DTC P0711 sets.

    • An unrealistically large change in transmission temperature
    • A value which remains constant for a period of time in which a measurable amount of change is expected

DTC P0711 is a type B DTC.

Conditions for Setting the DTC

DTC P0711 sets if the following conditions occur two consecutive times:

    • No VSS Assy. DTC P0502.
    • No Transmission Component Slipping DTC P1870.
    • The system voltage is 10-19 volts.
    • The engine is running for 409 seconds.
    • The vehicle speed is greater than 8 km/h (5 mph) for 409 seconds.
    • The TCC slip speed is greater than 120 RPM for 409 seconds.
    • The transmission fluid temperature at startup is between -40 and +21°C (-40 and +70°F).
    • The TFT is between -38 and +151°C (-36 and +304°F).
    • The engine coolant temperature is greater than 70°C (158°F) and the temperature has changed by 50°C (90°F) since startup.
    • All of the above conditions are met and either of the following fail conditions occurs:
       - The transmission fluid temperature does not change more than 1.50°C (2.7°F) for 409 seconds since startup.
       - The transmission fluid temperature changes more than 20°C (36°F) in 200 milliseconds 14 times within 7 seconds.

Action Taken When the DTC Sets

    • The VCM uses a transmission fluid temperature default value of 135°C (275°F).
    • The VCM freezes shift adapts from being updated.
    • The VCM illuminates the Malfunction Indicator Lamp (MIL).

Conditions for Clearing the MIL/DTC

    • The VCM turns OFF the MIL after three consecutive ignition cycles without a failure reported.
    • A scan tool can clear the DTC from the VCM history. The VCM clears the DTC from the VCM history if the vehicle completes 40 warm-up cycles without a failure reported.
    • The VCM cancels the DTC default actions when the fault no longer exists and the ignition is OFF long enough in order to power down the VCM.

Diagnostic Aids

DTC P0218 will set approximately 409 seconds after DTC P0711 has set. Follow the diagnostic chart for DTC P0711 before proceeding to the diagnostic chart for DTC P0218. Repairing the condition that caused DTC P 0711 will likely eliminate DTC P0218.

Test Description

The numbers below refer to the step numbers on the diagnostic table.

  1. This step tests for an intermittent short or open condition in the engine wiring harness. The test light is used as a resistor in the circuit.

  2. This step determines if the VCM or the TFT sensor is causing a steady, unchanging TFT reading.

DTC P0711 Transmission Fluid Temperature (TFT) Sensor Circuit -- Range/Performance

Step

Action

Value(s)

Yes

No

1

Was the Powertrain On-Board Diagnostic (OBD) System Check performed?

--

Go to Step 2

Go to Powertrain On Board Diagnostic (OBD) System Check

2

Perform the transmission fluid checking procedure.

Refer to Transmission Fluid Check .

Did you perform the fluid checking procedure?

--

Go to Step 3

Go to Transmission Fluid Check

3

  1. Install the Scan Tool ®.
  2. With the engine OFF, turn the ignition switch to the RUN position.
  3. Important: Before clearing the DTCs, use the scan tool in order to record the Freeze Frame and the Failure Records for reference. The Clear Info function will erase the data.

  4. Record the DTC Freeze Frame and the Failure Records.
  5. Select TFT on the scan tool.
  6. Drive the vehicle and observe the scan tool for either of the following fail conditions:
  7. • The TFT does not change more than 1.50°C (2.7°F) in 409 seconds since startup
    • The TFT changes more than 20°C (36°F) in 200 milliseconds 14 times within 7 seconds

Did either of the fail conditions occur?

--

Go to Step 4

Go to Diagnostic Aids

4

Did the scan tool display a condition in which the TFT does not change by more than the specified value in 409 seconds since startup?

1.50°C (2.7°F)

Go to Step 6

Go to Step 5

5

  1. Turn the ignition OFF.
  2. Disconnect the transmission 20-way connector.
  3. Install the J 39775 Jumper Harness on the engine side of the 20-way connector .
  4. Using the J 35616-A Connector Test Adapter Kit, connect a test light from terminal L to terminal M.
  5. Turn the ignition switch to the RUN position.
  6. While observing the scan tool display, move or massage the engine wiring harness from VCM connectors C2 and C3 to the transmission 20-way connector.

Does the TFT change by more than the specified value?

20°C (36°F)

Go to Step 7

Go to Step 8

6

  1. Turn the ignition OFF.
  2. Disconnect the transmission 20-way connector.
  3. Turn the ignition switch to the RUN position.

Does the scan tool display the same condition as in step 4?

--

Go to Step 11

Go to Step 10

7

  1. Inspect circuit 1227 of the engine wiring harness for an intermittent open or short.
  2. Inspect circuit 470 of the engine wiring harness for an intermittent open or short.
  3. Repair the circuits if necessary.

Refer to Electrical Diagnosis, Section 8.

Did you find a problem?

--

Go to Step 12

Go to Step 11

8

  1. Inspect Automatic Transmission Wiring Harness Assembly circuit 1227 for an intermittent open or short.
  2. Inspect circuit 452 for an intermittent open or short.

Refer to Electrical Diagnosis. Section 8.

Did you find a problem?

--

Go to Step 9

Go to Step 10

9

Replace the Automatic Transmission Wiring Harness Assembly.

Refer to On-Vehicle Service.

Is the replacement complete?

--

Go to Step 12

--

10

Replace the TFT Sensor (the sensor is a part of the TFP Valve Position Switch).

Refer to Valve Body, in On-Vehicle Service.

Is the replacement complete?

--

Go to Step 12

--

11

Replace the VCM.

Refer to VCM Replacement/Programming (With KS Calibration PROM) , Section 6.

Is the replacement complete?

--

Go to Step 12

--

12

In order to verify your repair, perform the following procedure:

  1. Select DTC.
  2. Select Clear Info.
  3. Drive the vehicle and ensure that the following conditions are met:
  4. • The TFT changes by more than 2.25°C (4°F) for 11 seconds since startup
    • The TFT does not change by more than 20°C (36°F) within 200 milliseconds for a period of at least 11 seconds
  5. Select Specific DTC. Enter DTC P0711.

Has the test run and passed?

--

System OK

Begin the diagnosis again. Go to Step 1