|
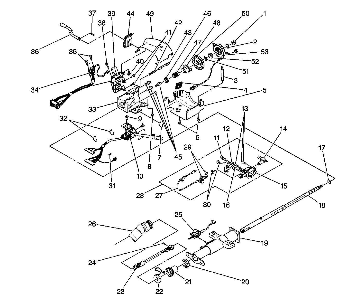
| (1) | Flange Prevail Torque Nut |
| (2) | Retaining Ring |
| (3) | Shroud Mounting Stud |
| (4) | Shroud Protector |
| (5) | Lower Shroud |
| (7) | Wire Harness Strap |
| (10) | Turn Signal and Multifunction Switch Assembly |
| (11) | Ball and
Actuator Assembly |
| (12) | Cable Shift Cam Assembly |
| (13) | Flat Head 6-Lobed Soc. Tap Screw |
| (14) | Shift Lever Clevis |
| (15) | Gearshift Lever Assembly Support Bracket |
| (16) | Cam Bushing |
| (17) | Bearing
Retainer |
| (18) | Steering Shaft Assembly |
| (19) | Steering Column Jacket Assembly |
| (20) | Foam Insulator |
| (21) | Adapter and Bearing Assembly |
| (22) | Steering Wheel Speed Sensor Assembly |
| (23) | Coupling
and Steering Shaft Assembly |
| (24) | Pinch Bolt |
| (25) | Electrical (BTSI) Actuator |
| (26) | Inner Boot Seal |
| (27) | Park Lock Cable Assembly |
| (28) | Linear Shift Assembly |
| (29) | Oval Head 6-Lobed Soc. Tap Screw |
| (30) | Hex Head Flange Head Bolt |
| (31) | Axial Position Assurance Connector |
| (33) | Steering Column
Housing Assembly |
| (34) | Ignition and Key Alarm Switch Assembly |
| (35) | Tapping Screw |
| (36) | Automatic
Transmission Control Lever Assembly |
| (37) | Shift Lever Screw |
| (39) | Lock Module Assembly |
| (40) | Torx®
Head Screw |
| (41) | Pan Head Tapping Screw |
| (42) | Lock Bolt Spring |
| (43) | Lock Bolt Assembly |
| (44) | Shift Lever Seal |
| (45) | Torx® Head Screw |
| (46) | Thrust Washer |
| (47) | Upper
Bearing Spring |
| (48) | Turn Signal Cancel Cam Assembly |
| (49) | Upper Shroud |
| (50) | Shaft Lock Shield Assembly |
| (51) | Bearing Retainer |
| (52) | Wave Washer |
| (53) | Inflatable Restraint Steering Wheel Module Coil |