GM Service Manual Online
For 1990-2009 cars only
Makes
🢒
Chevrolet
🢒
1998
🢒
Express
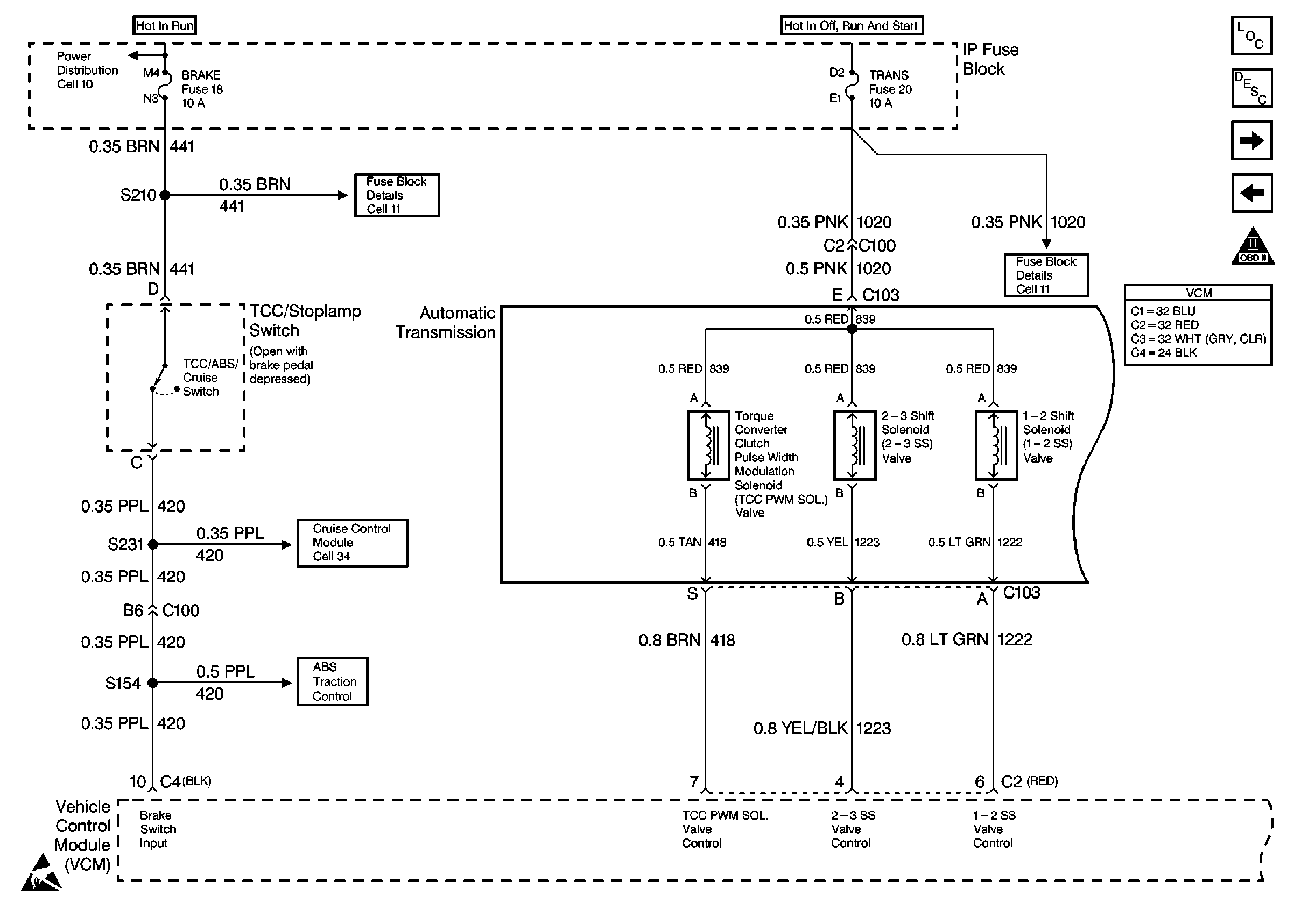
🢒 Cell 23: 4L80-E Transmission Solenoid Controls
Cell 23: 4L80-E Transmission Solenoid Controls
Cell 23: 4L80-E Transmission Solenoid Controls
Engine Controls Components
Information Sensors/Switches Description
Cell 23: 4L80-E Transmission Switch Controls
Cell 23: Secondary AIR Controls
OBD II Symbol Description Notice
VCM Connector End Views
Handling ESD Sensitive Parts Notice
Power Distribution Schematics
Fuse Block Schematics
Fuse Block Schematics
Cruise Control Schematics
Antilock Brake System Schematics