GM Service Manual Online
For 1990-2009 cars only
Table 1: WSS Temperature vs. Sensor Resistance

Object Number: 184073  Size: MF

Circuit Description

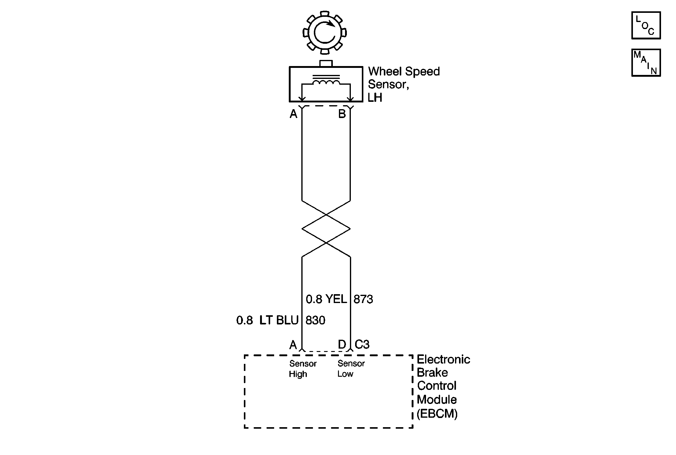
The wheel speed sensor coil emits an electromagnetic field. A toothed ring on the wheel passes by the wheel speed sensor and disrupts this electromagnetic field. The disruption in the field causes the wheel speed sensor to produce a sinusoidal (AC) voltage signal. The frequency and amplitude of the sinusoidal (AC) voltage signal are proportional to the speed of the wheel. The amplitude of the wheel speed signal is also directly related to the distance between the wheel speed sensor coil and the toothed ring. This distance is referred to as the air gap.

Conditions for Setting the DTC

    • No output signal from the left front wheel speed sensor for 1.0 second
    • Excessive left front wheel speed sensor resistance for 1.0 second

Action Taken When the DTC Sets

    • The ABS indicator lamp turns on
    • The ABS disables

DTC C0025 is a Condition Latched DTC, which indicates that the above actions remain true only as long as the condition persists.

Conditions for Clearing the DTC

    • Repair the conditions responsible for setting the DTC
    • Use the Scan Tool Clear DTCs function

Diagnostic Aids

Any of the following conditions may cause an intermittent malfunction:

    • A poor connection
    • Wire insulation that is rubbed through
    • A wire breaks inside the insulation

Thoroughly check any circuitry that is suspected of causing the intermittent complaint for the following conditions:

    • Backed out terminals
    • Improper mating
    • Broken locks
    • Improperly formed or damaged terminals
    • Poor terminal to wiring connections
    • Physical damage to the wiring harness

When inspecting a wheel speed sensor, inspect the sensor terminals and the harness connector for corrosion. If evidence of corrosion exists, then replace the wheel speed sensor. Refer to Wheel Speed Sensor Replacement .

Resistance of the wheel speed sensor will increase with an increase in sensor temperature. Refer to the following tables for temperature/resistance values.

WSS Temperature vs. Sensor Resistance

°C

°F

Ohms

Temperature vs Resistance Values (Approximate)

-40 to 4

-40 to 40

1575 to 2420

5 to 43

41 to 110

1980 to 2800

44 to 93

111 to 200

2250 to 3280

94 to 150

201 to 302

2750 to 3850

Test Description

The numbers below refer to the steps in the diagnostic table:

  1. This step checks the resistance of the left front wheel speed sensor circuit.

  2. This step checks for continuity in the left front wheel speed sensor harness.

  3. This step checks the resistance of the left front wheel speed sensor.

Step

Action

Value(s)

Yes

No

1

Was the Diagnostic System Check performed?

--

Go to Step 2

Go to Diagnostic System Check

2

  1. Turn the ignition OFF.
  2. Disconnect the 4-way EBCM harness connector.
  3. Using a J 39200 , measure the resistance between terminals D and A of the 4-way EBCM harness connector. (Refer to the tables on the facing page for applicable sensor resistance values. The values in these tables are for the resistance of the sensor, not the air temperature.)

Is the resistance measurement within the specified range?

--

Go to Step 5

Go to Step 3

3

  1. Disconnect the left front wheel speed sensor harness connector from the wheel speed sensor.
  2. Using a J 36169-A connect terminals A and B of the 2-way wheel speed sensor harness connector (chassis harness side).
  3. Using a J 39200 , measure the resistance between terminals D and A of the 4-way EBCM harness connector.

Is the resistance measurement within the specified range?

0-2 ohms

Go to Step 4

Go to Step 10

4

Using a J 39200 , measure the resistance between terminals A and B of the left front wheel speed sensor connector. (Refer to the tables on the facing page for applicable sensor resistance values. The values in these tables are for the resistance of the sensor, not the air temperature.)

Is the resistance measurement within the specified range?

--

Go to Step 7

Go to Step 11

5

Inspect the 4-way EBCM harness connector for poor terminal contact or corrosion.

Does damage or corrosion exist?

--

Go to Step 8

Go to Step 6

6

  1. Reconnect all connectors.
  2. Test drive the vehicle above 24 km/h (15 mph).

Does the DTC set as a current DTC?

--

Go to Step 9

Go to Step 7

7

Malfunction is intermittent.

  1. Inspect all connectors and harnesses for damage which may result in high resistance when all components are connected.
  2. Refer to Diagnostic Aids on the facing page for more information.

  3. Perform all necessary repairs.

Is the repair complete?

--

Go to Diagnostic System Check

--

8

Make necessary repairs to the 4-way EBCM harness connector.

Is the repair complete?

--

Go to Diagnostic System Check

--

9

Replace the EBCM.

Is the repair complete?

--

Go to Diagnostic System Check

--

10

Repair the open or high resistance in CKT 830 or CKT 873.

Is the repair complete?

--

Go to Diagnostic System Check

--

11

Replace the wheel speed sensor.

Is the repair complete?

--

Go to Diagnostic System Check

--