GM Service Manual Online
For 1990-2009 cars only

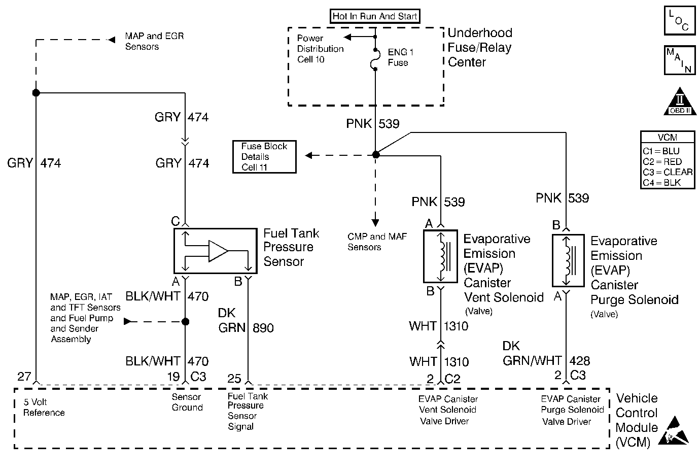
Object Number: 194112  Size: MF
Handling ESD Sensitive Parts Notice
Engine Controls Components
Cell 20: EGR and EVAP Controls
OBD II Symbol Description Notice

Circuit Description

The evaporative system includes the following components:

    • The fuel tank
    • The EVAP vent solenoid
    • The fuel tank pressure sensor
    • The fuel pipes and hoses
    • The vapor lines
    • The fuel cap
    • The evaporative emission canister
    • The purge lines
    • The EVAP purge solenoid

The EVAP purge solenoid valve allows the manifold vacuum to purge the canister. The Vehicle Control Module (VCM) supplies a ground in order to energize the solenoid valve (purge ON). The EVAP purge solenoid control by the VCM is Pulse Width Modulated (PWM) or turned ON and OFF several times a second. The duty cycle (pulse width) is determined by the engine operating conditions including the load, the throttle position, the coolant temperature, and the ambient temperature. The duty cycle is calculated by the VCM, and the purge solenoid is commanded ON when certain conditions have been met.

The system checks for conditions that cause the EVAP system to purge continuously by commanding the EVAP vent solenoid ON and the EVAP purge solenoid OFF (EVAP vent solenoid CLOSED, EVAP purge PWM 0%). If the fuel tank pressure level increases during the test, a continuous purge flow condition is indicated. The following items can cause this condition:

    • A leaking EVAP purge solenoid
    • A grounded EVAP purge solenoid driver circuit

If any of these conditions are present, a DTC P1441 sets.

Conditions for Running the DTC

    • No active MAP sensor DTCs
    • No active TP sensor DTCs
    • No active VS sensor DTCs
    • No active O2 sensor DTCs
    • No active ECT sensor DTCs
    • No active IAT sensor DTCs
    • DTC P0125 not active
    • The fuel level is between 12.5-88 percent.
    • The system voltage is between 10-17 volts.
    • The ECT is between 4-30°C (39-86°F).
    • The IAT is between 4-30°C (39-86°F).
    • The cold start temperature difference (ECT minus IAT) is less than -1.5°C (35°F) when the IAT is greater than the ECT.
    • The cold start temperature difference (ECT minus IAT) is less than -8°C (46°F) when the ECT is greater than the IAT.
    • The BARO is greater than 72.5 kPa.
    • The vent solenoid is commanded open.
    • The fuel tank vacuum is less than 7 in of H2O.
    • The throttle position is less than 75 percent.
    • The vehicle speed is less than 65 mph (105 km/h).
    • The fuel tank vacuum level remains above a calibrated value for a specified number of seconds.

Conditions for Setting the DTC

The EVAP system develops a vacuum greater than a calibrated value when purge is not commanded.

Action Taken When the DTC Sets

The VCM will turn ON the MIL after 2 consecutive driving cycles with the fault active.

Conditions for Clearing the MIL or DTC

    • The control module turns OFF the MIL after 3 consecutive drive trips when the test has run and passed.
    • A history DTC will clear if no fault conditions have been detected for 40 warm-up cycles. A warm-up cycle occurs when the coolant temperature has risen 22°C (40°F) from the startup coolant temperature and the engine coolant reaches a temperature that is more than 70°C (158°F) during the same ignition cycle.
    • Use a scan tool in order to clear the DTCs.

Diagnostic Aids

Check for the following conditions:

    • A loose, missing, damaged, or improperly installed fuel cap
    • Missing or damaged O-rings at EVAP canister fuel vapor and purge line fittings
    • A cracked or punctured EVAP canister
    • A damaged or disconnected source vacuum line, EVAP purge line, vent hose or fuel tank vapor line
    • A poor connection at the VCM: Inspect the harness connectors for the following conditions:
       - Backed out terminals
       - Improper mating
       - Broken locks
       - Improperly formed or damaged terminals
       - Poor terminal to wire connections
    • A damaged harness: Inspect the wiring harness to the EVAP vent solenoid EVAP purge solenoid and the fuel tank pressure sensor for an intermittent open or short circuit
    • A kinked, pinched, or plugged vacuum source, EVAP purge, or fuel tank vapor line. Verify that the lines are not restricted

Refer to Evaporative Emission System Cleaning before starting repairs.

Reviewing the Fail Records vehicle mileage since the diagnostic test last failed may help determine how often the condition that caused the DTC to be set occurs. This may assist in diagnosing the condition.

Test Description

The numbers below refer to the step numbers on the diagnostic table:

  1. Determines if the EVAP Purge Solenoid is leaking.

  2. Determines if the EVAP canister Purge Valve Driver circuit is shorted to ground.

  3. Determines if the EVAP canister Purge Valve Driver circuit wiring or the VCM are at fault.

Step

Action

Value(s)

Yes

No

1

Important: : Before clearing the DTCs, use the scan tool Capture Info to save the Freeze Frame and Failure Records for reference. The control module's data is deleted once the Clear Info function is used.

Did you perform the Powertrain On-Board Diagnostic (OBD) System Check performed?

--

Go to Step 2

Go to Powertrain On Board Diagnostic (OBD) System Check

2

  1. Disconnect the EVAP Purge line from the EVAP Purge Solenoid.
  2. Connect a vacuum gauge (in. Hg.) to the solenoid purge port.
  3. Start the engine.
  4. After 30 seconds of engine run time, command the EVAP Purge Solenoid OFF with a scan tool.

Does the vacuum gauge indicate any vacuum while commanded OFF?

--

Go to Step 3

Refer to Diagnostic Aids

3

Disconnect the electrical connector from the Purge Solenoid.

Does the vacuum gauge still indicate vacuum?

--

Go to Step 4

Go to Step 5

4

Important:: Check for carbon contamination. Refer to Evaporative Emission System Cleaning .

Replace the EVAP Purge Solenoid.

Is the action complete?

--

Go to Step 8

--

5

  1. Turn OFF the ignition.
  2. Disconnect the VCM C3 connector.
  3. Connect a test lamp to B+, probe the EVAP Purge Solenoid Driver circuit.
  4. Turn ON the ignition leaving the engine OFF.

Is the test lamp Illuminated?

--

Go to Step 7

Go to Step 6

6

  1. Replace the VCM.
  2. Program the new VCM. Refer to VCM Replacement/Programming .
  3. Perform the VTD Password Learn Procedure. Refer to Password Learn .
  4. Perform the CKP System Variation Learning Procedure. Refer to Crankshaft Position System Variation Learn .

Is the action complete?

--

Go to Step 8

--

7

Repair the short to ground in the EVAP Canister Purge Valve Driver circuit.

Is the action complete?

--

Go to Step 8

--

8

  1. Using the scan tool, clear the DTCs.
  2. Start the engine.
  3. Select DTC and the Specific DTC function.
  4. Enter the DTC number which was set.
  5. Operate the vehicle, with the conditions for Setting this DTC, until the scan tool indicates the diagnostic Ran.

Does the scan tool indicate the diagnostic Passed?

--

Go to Step 9

--

9

Does the scan tool display any additional undiagnosed DTCs?

--

Go to applicable DTC table

System OK