GM Service Manual Online
For 1990-2009 cars only

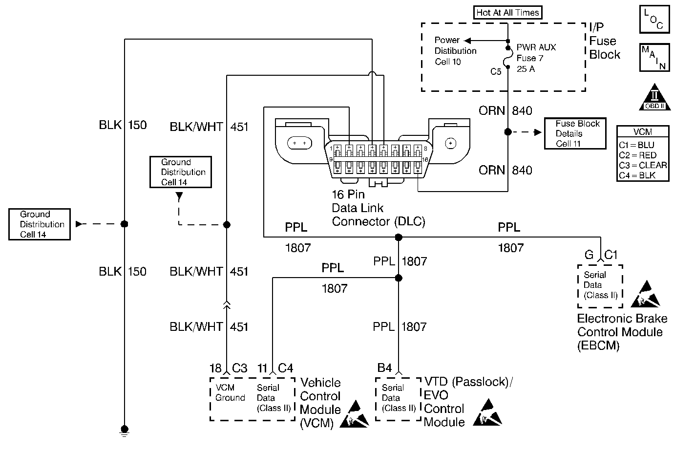
Object Number: 255650  Size: MF
FIGURE - G Van DLC Comp Loc
Cell 21: PWR, GND and DLC
OBD II Symbol Description Notice
Handling ESD Sensitive Parts Notice
Handling ESD Sensitive Parts Notice
Handling ESD Sensitive Parts Notice

Circuit Description

The Class II Serial Data circuit is used to communicate between systems. Each system connected to the Class II Serial Data line is assigned its own recognition code (ID / address). This code is used to identify which module or systems are communicating. The Node Alive or State of Health (SOH) messages are broadcast on the bus every two seconds. If a module is monitoring Node Alive messages for that module, it will reset its 5 second time for that particular module. Any system that cannot communicate properly will also store the appropriate communication DTCs that are assigned to the system(s) it could not communicate with.

The VTD sends a Vehicle Security Password when its ignition 1 input becomes active and includes its source ID. The Vehicle Security Password includes either a Fuel Continue Password or a Fuel Disable Password. The VCM learns the source ID, Monitors for the Node Alive messages, and responds with a Vehicle Security Status message including its VCM ID. The VTD learns the VCM ID, monitors for Node Alive messages from the VCM ID, and responds with a Vehicle Security Status acknowledge message. This tells the VCM, I heard you so you can stop sending the message.

Lost Communications DTCs (U-Codes) are equal to U1000 plus the ID. This is U1016 and U1192 for VTD.

Conditions for Setting the DTC

    • The VCM has established communications and received the Vehicle Security Password during this ignition cycle from the VTD (Passlock) control module.
    • The VCM communications, no Node Alive/SOH messages received, from the VTD (Passlock) control module for 5 seconds.

Action Taken When the DTC Sets

When a failure occurs after the VCM enables fuel due to receipt of a Vehicle Security Password containing the Fuel Continue Password:

    • The vehicle starts
    • The VCM continues to enable fuel delivery (Fuel Enabled after Security Fault mode), until the fault is corrected and a valid password is received from the VTD (Passlock) Control Module. If the fault is corrected and a valid password is received, fuel delivery is enabled. The difference is that the Fail Enable Active bit in the Vehicle Security Status message will now be false while the Fuel Continue State bit will be true.
    • A DTC U1192 is stored in the VCM memory
    • The VCM will not illuminate the MIL

When the failure occurs with the ignition OFF, or before the VCM received a valid Passlock password during engine cranking:

    • The vehicle does not start or it starts and stalls
    • The VCM disables fuel delivery until the fault is corrected and a valid password is received from the VTD (Passlock) control module. Fuel delivery is disabled for the current ignition cycle.
    • A DTC U1192 is stored in the VCM memory
    • The VCM will not illuminate the MIL

Conditions for Clearing the MIL/DTC

    • This DTC requires an ignition cycle in order to change from Current to History
    • The VCM establishes communication with the VTD (Passlock) control module
    • A history DTC will clear after 40 consecutive ignition cycles if the condition for the malfunction is no longer present
    • The DTCs can be cleared using a scan tool

Diagnostic Aids

Important: Do not clear the DTCs unless directed by a diagnostic procedure. Clearing the DTCs will also clear valuable Freeze Frame and Failure Records information.

    • Check for published service bulletins relating to the exhibited symptoms or component operation.
    • Inspect all related wiring and connections, including the connections at the VCM and the VTD (Passlock) control module. These connections may cause an intermittent malfunction.
    • Thoroughly check any circuit that can cause an intermittent complaint for the listed items:
       - Backed out terminals
       - Improper mating of connectors
       - Broken connector locks
       - Improperly formed or damaged terminals
       - Poor terminal to wire connections
       - Physical damage to the wiring harness
       - Corroded terminals or connections
    • If the Class II Serial Data line is shorted to ground or shorted to voltage, all the modules or systems connected to the Class II Serial Data line will not be able to communicate properly. These systems or modules are capable of storing loss of communications DTCs (DTCs with the letter U as a prefix) in their memory. If a DTC U1192 is stored in the VCM memory, check for the same DTC stored in the Active Transfer Case (ATC) Control Module. The ATC Control Module also monitors the Node Alive/SOH message from the VTD (Passlock) control module. If the ATC control module has a DTC U1192 stored, check the VTD (Passlock) control module for an intermittent malfunction. If the ATC control module does not have a DTC U1192 stored, check for an open in the Class II Serial Data circuit between the VCM and the VTD (Passlock) control module. The VCM must also be checked for intermittent operation due to a loss of power or ground to the VCM itself. After repairing the cause of a DTC U1192, clear all DTCs from all systems capable of storing this DTC.
    • The scan tools Diagnostic Circuit Check can be used to:
       - Monitor the Class II Serial Data circuit for modules which have been or are communicating
       - Monitor for the presence of loss of communications DTCs (U1001-U1199)
       - Clear the loss of communication DTCs. When a Clear Codes command is issued, all codes, Freeze Frame, and Failure Records information is cleared.
    • The scan tools Diagnostic Circuit Check status of Active indicates that the module is communicating with the scan tool. An Inactive status indicates that the module previously communicated with the scan tool, but is not communicating currently. If a module is not listed at all, the module never successfully established communications with the scan tool. Refer to Electrical Diagnosis for the complete Class II data link to determine if there are any unlisted modules.

Test Description

The number(s) below refer to the step number(s) on the diagnostic table.

  1. This test checks if communications can be established between the scan tool and the VTD (Passlock) Control Module. If the scan tool cannot communicate with the VTD (Passlock) Control Module, refer to the VTD (Passlock) Control Module System Check.

  2. This test determines if DTC U1192 is set due to a loss of communications with the VCM or the VTD. The ATC Control Module also communicates with the VT. If a DTC U1192 is stored in the ATC Control Module memory, the VTD must be diagnosed first.

  3. This test checks for any opens in the serial data circuit between the VCM and the VTD (Passlock) Control Module. It also checks for any intermittent malfunctions associated with the serial data line.

  4. Use a scan tool to clear and check for any DTCs in all the modules connected to the Class II Serial Data circuit (VCM, ATC, and VTD(Passlock/EVO).

DTC U1192 Loss of VTD (Passlock) / EVO Control Module Communications

Step

Action

Value(s)

Yes

No

1

Important: Use the scan tool to store the failed DTC information. This information will be erased when the Clear DTC function is used.

Was the Powertrain On-Board Diagnostic (OBD) System Check performed?

--

Go to Step 2

Go to Powertrain On Board Diagnostic (OBD) System Check

2

  1. Install the scan tool.
  2. Turn On the ignition leaving the engine OFF.
  3. Attempt to establish communications with the VTD (Passlock) Control Module.

Does the scan tool communicate with the VTD (Passlock) Control Module?

--

Go to Step 3

Go to Diagnostic System Check - Theft Deterrent in Theft Deterrent

3

  1. Select ATC Control Module functions using a scan tool.
  2. Check for a DTC U1192.

Is DTC U1192 stored in the ATC memory?

--

Go to Diagnostic System Check - Theft Deterrent in Theft Deterrent

Go to Step 4

4

Check the Class II Serial Data circuit for the following intermittent conditions:

    • An open in the Class II Serial Data circuit between the VCM and the VTD (Passlock) Control Module
    • A short to ground
    • A short to voltage
    • Loose or damaged terminals at the DLC, VCM, or the VTD(Passlock/EVO)

Was a problem found?

--

Go to Step 6

Go to Step 5

5

  1. Turn OFF the ignition.
  2. Connect or install any connectors or components that were disconnected or removed.
  3. Clear all DTCs using a scan tool.
  4. Turn OFF the ignition for 15 seconds.
  5. Turn ON the ignition, leaving the engine OFF.

Does DTC U1192 reset?

--

Go to Step 8

Go to Step 7

6

Repair the circuit as necessary. Refer to Wiring Repairs in Electrical Diagnosis.

Is the action complete?

--

Go to Step 9

--

7

This DTC is intermittent.

Are there any other DTCs that have not been diagnosed?

--

Go to applicable DTC table

Go to Diagnostic Aids

8

  1. Replace the VCM.
  2. Program the new VCM. Refer to VCM Replacement/Programming .
  3. Perform the VTD Password Learn Procedure. Refer to Password Learn .
  4. Perform the Crankshaft Variation Learn Procedure. Refer to Crankshaft Position System Variation Learn .

Is the action complete?

--

Go to Step 9

--

9

  1. Turn OFF the ignition.
  2. Connect or install any connectors or components that were disconnected or removed.
  3. Clear all DTCs using a scan tool.

Are any DTCs displayed?

--

Go to Powertrain On Board Diagnostic (OBD) System Check

System OK