GM Service Manual Online
For 1990-2009 cars only

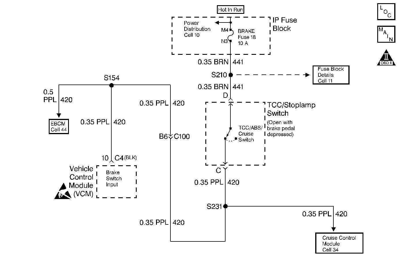
Object Number: 196134  Size: MF
Automatic Transmission Components
Automatic Transmission Controls Schematics
OBD II Symbol Description Notice
Handling ESD Sensitive Parts Notice

Circuit Description

The brake switch indicates brake pedal status to the Vehicle Control Module (VCM). The brake switch is a normally-closed switch that supplies battery voltage on circuit 420 to the VCM. Applying the brake pedal opens the switch, interrupting voltage to the VCM. When the brake pedal is released, the VCM receives a constant voltage signal. If the VCM receives a zero voltage signal at the brake switch input, and the Torque Converter Clutch (TCC) is engaged, the VCM de-energizes the Torque Converter Clutch Solenoid Valve (TCC Sol. Valve). The VCM disregards the brake switch input for TCC scheduling if there is a brake switch circuit fault (Refer to Diagnostic Aids).

When the VCM detects an open brake switch circuit (0 volts, low input) during accelerations, then DTC P0719 sets. DTC P0719 is a type D DTC.

Conditions for Setting the DTC

    • No VSS Assy. DTCs P0502 or P0503.
    • The VCM detects an open brake switch or circuit (0 volts) for 15 minutes without changing for 2 seconds, and the following events occur seven consecutive times:
       - The vehicle speed is less than 8 km/h (5 mph);
       - then the vehicle speed is 8-32 km/h (5-20 mph) for 4 seconds;
       - then the vehicle speed is greater than 32 km/h (20 mph) for 6 seconds.

Action Taken When the DTC Sets

    • The VCM does not illuminate the Malfunction Indicator Lamp (MIL).
    • DTC P0719 stores in VCM history.

Conditions for Clearing the DTC

    • A scan tool can clear the DTC from the VCM history. The VCM clears the DTC from the VCM history if the vehicle completes 40 warm-up cycles without a failure reported.
    • The VCM cancels the DTC default actions when the fault no longer exists and the ignition is OFF long enough in order to power down the VCM.

Diagnostic Aids

    • Inspect the wiring at the VCM, the brake switch connector and all other circuit connecting points for the following conditions:
       - A bent terminal
       - A backed out terminal
       - A damaged terminal
       - Poor terminal tension
       - A chafed wire
       - A broken wire inside the insulation
       - Moisture intrusion
       - Corrosion
    • When diagnosing for an intermittent short or open condition, massage the wiring harness while watching the test equipment for a change.
    • If the VCM detects a brake switch fault, then the brake switch input is disregarded for TCC scheduling. The VCM then uses throttle position and vehicle speed to determine TCC application and release. Use of these inputs may result in a noticeable harsh apply or abrupt release of the TCC.
    • Ask about the customer's driving habits. Ask about unusual driving conditions (e.g. stop and go, expressway, etc.).
    • Inspect the brake switch for proper mounting and adjustment.

Test Description

The numbers below refer to the step numbers on the diagnostic table.

  1. This step isolates the brake switch as a source for setting the DTC.

DTC P0719 Brake Switch Circuit -- Low Input

Step

Action

Value(s)

Yes

No

1

Was the Powertrain On-Board Diagnostic (OBD) System Check performed?

--

Go to Step 2

Go to Powertrain On Board Diagnostic (OBD) System Check (4.3L) or Powertrain On Board Diagnostic (OBD) System Check (5.0L and 5.7L) in Engine Controls

2

  1. Install the Scan Tool .
  2. With the engine OFF, turn the ignition switch to the RUN position.
  3. Important: Before clearing the DTC(s), use the scan tool in order to record the Failure Records for reference. Using the Clear Info function will erase the stored Failure Records from the VCM.

  4. Record the DTC Failure Records, then clear the DTC(s).
  5. Select TCC Brake Switch on the scan tool.
  6. Disconnect the brake switch connector from the brake switch.
  7. Connect a test lamp from cavity D of the brake switch connector to a known good ground.

Is the test lamp ON?

--

Go to Step 3

Go to Step 4

3

Install a J 36169-A Fused Jumper Wire from terminal C to terminal D of the brake switch connector.

Did the TCC Brake Switch status change from Open to Closed?

--

Go to Step 7

Go to Step 9

4

  1. Remove the BRAKE fuse.
  2. Inspect the fuse for an open.

Refer to General Electrical Diagnosis in Wiring Systems.

Is the fuse open?

--

Go to Step 5

Go to Step 8

5

Inspect circuit 441 (BRN) for a short to ground condition. Repair the circuit if necessary.

Refer to General Electrical Diagnosis in Wiring Systems.

Did you find and correct a short to ground condition?

--

Go to Step 11

Go to Step 6

6

Inspect circuit 420 (PPL) for a short to ground condition. Repair the circuit if necessary.

Refer to General Electrical Diagnosis in Wiring Systems.

Did you find a short to ground condition?

--

Go to Step 11

Go to Step 10

7

Replace the brake switch.

Refer to Stop Lamp Switch Replacement In Hydraulic Brakes.

Is the replacement complete?

--

Go to Step 11

--

8

Inspect circuit 441 (BRN) for an open condition. Repair the circuit if necessary.

Refer to General Electrical Diagnosis in Wiring Systems.

Did you find and correct an open condition?

--

Go to Step 11

--

9

Inspect circuit 420 (PPL) for an open condition. Repair the circuit if necessary.

Refer to General Electrical Diagnosis in Wiring Systems.

Did you find an open condition?

--

Go to Step 11

Go to Step 10

10

Replace the VCM.

Refer to VCM Replacement/Programming (4.3L) in or VCM Replacement/Programming (5.0L and 5.7L) in Engine Controls.

Is the replacement complete?

--

Go to Step 11

--

11

In order to verify your repair, perform the following procedure:

  1. Select DTC.
  2. Select Clear Info.
  3. With the engine OFF, turn the ignition switch to the RUN position.
  4. Apply and release the brake pedal.
  5. Verify that the TCC Brake Switch status indicates Closed (12 volts) for 2 seconds.
  6. Select Specific DTC. Enter DTC P0719.

Has the test run and passed?

--

System OK

Begin the diagnosis again. Go to Step 1