GM Service Manual Online
For 1990-2009 cars only

DTC P0560 System Voltage High/Low Gas


Object Number: 199387  Size: MF
Automatic Transmission Components Gas Engines
Automatic Transmission Controls Schematics Gas Engines
OBD II Symbol Description Notice
Handling ESD Sensitive Parts Notice

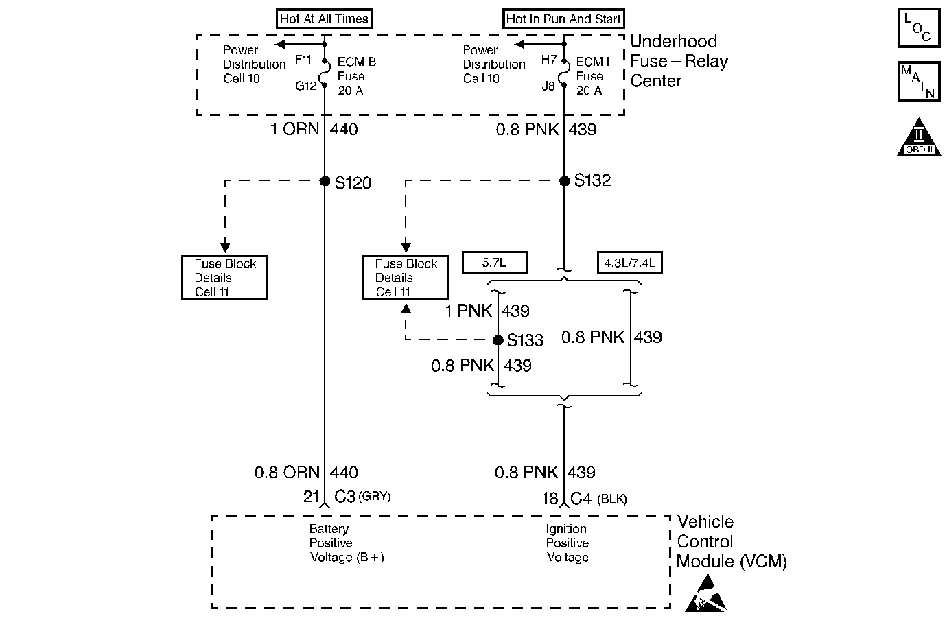
Circuit Description

Circuits 439 is the ignition voltage feed for the Vehicle Control Module (VCM). Circuit 440 is the battery voltage feed for the VCM.

If the VCM detects a low voltage, a high voltage for a long time, or a high voltage for a short amount of time, then DTC P0560 sets. DTC P0560 is a type D DTC.

Conditions for Setting the DTC

System Voltage Low:

    • The engine speed is greater than 1500 RPM.
    • One of the following conditions exists for greater than 15 seconds.
       - The system voltage is less than 10.5 volts at a maximum transmission temperature of 152°C (305°F) or:
       - The system voltage is less than 6.7 volts at a minimum transmission temperature of -40°C (-40°F).

System Voltage High:

The system voltage is greater than 19 volts for 10 seconds.

Action Taken When the DTC Sets

    • The VCM does not illuminate the Malfunction Indicator Lamp (MIL).
    • The VCM causes an immediate landing to second gear.
    • The VCM turns off the PC Sol. Valve.
    • The VCM inhibits the TCC engagement.
    • The VCM freezes the shift adapts.
    • DTC P0560 is stored in VCM history.

Conditions for Clearing the DTC

    • A scan tool can clear the DTC from the VCM history. The VCM clears the DTC from the VCM history if the vehicle completes 40 warm-up cycles without a failure reported.
    • The VCM cancels the DTC default actions when the fault no longer exists and the ignition is OFF long enough in order to power down the VCM.

Diagnostic Aids

    • Charging the battery with a battery charger and jumpstarting an engine may set this DTC.
    • If this DTC is set when an accessory is operated, inspect for faulty connections or an excessive current draw.
    • Inspect for faulty electrical connections at the starter solenoid.
    • Inspect for faulty electrical connections at the fusible link.
    • Inspect for loose or damaged terminals at the generator.
    • Inspect the generator belt condition and tension.
    • First diagnose and clear any engine DTCs or TP Sensor codes that are present. Then inspect for any transmission DTCs that may have reset.

Test Description

  1. This step tests the charging system voltage.

  2. This step tests the battery voltage input at the VCM.

  3. This step tests the ignition voltage and battery voltage inputs at the VCM.

P0560

Step

Action

Value(s)

Yes

No

1

Was the Powertrain On-Board Diagnostic (OBD) System Check performed?

--

Go to Step 2

Go to Powertrain On Board Diagnostic (OBD) System Check (4.3L) or Powertrain On Board Diagnostic (OBD) System Check (5.7L) or Powertrain On Board Diagnostic (OBD) System Check (7.4L)

2

  1. Install the Scan Tool .
  2. With the engine OFF, turn the ignition switch to the RUN position.
  3. Important: Before clearing the DTCs, use the scan tool in order to record Failure Records for reference. The Clear Info function erases the stored Failure Records from the VCM.

  4. Record the DTC Failure Records.
  5. Using the J 39200 DMM, measure the battery voltage across the battery terminals.

Is the voltage higher than the specified value?

10 volts

Go to Step 3

Go to Battery Diagnosis

3

  1. Start the engine.
  2. Warm the engine to normal operating temperature.

Is the generator/check engine light ON?

--

Go to Charging System Diagnosis

Go to Step 4

4

  1. Turn the headlights and the heater blower motor to the ON position.
  2. Increase the engine speed to 1500 RPM.
  3. Observe the J 39200 DMM battery voltage and record your voltage reading for reference.

Is the DMM voltage within the specified range?

13-15 volts

Go to Step 5

Go to Charging System Check

5

  1. Increase the engine speed to 1500 RPM.
  2. Observe the Scan Tool Ignition voltage.

Is the scan tool Ignition Voltage within the specified range?

13-15 volts

System Checks OK Go to Diagnosis Aids

Go to Step 6

6

  1. Turn the ignition switch to the OFF position.
  2. Locate terminal C4-18 (circuit 439 PNK) and terminal C3-21 (circuit 440 ORN) in the VCM connectors. Do not disconnect the VCM connectors.
  3. Connect the J 39200 DMM black lead to ground.
  4. Start the engine.
  5. Run the engine at 1500 RPM with the headlights and the blower motor ON.
  6. Using the DMM and the J 35616 Connector Test Adaptor Kit, backprobe terminals C4-18 and C3-21 to measure the battery voltage and the ignition voltage input at VCM connectors.

Is there a voltage variance between the voltage measured at the battery (taken in Step 4) and at terminals C4-18 and  C3-21 that is greater than the specified value?

0.5 volts

Go to Step 7

Go to Step 10

7

Does terminal C4-18 (circuit 439) have the voltage variance?

--

Go to Step 8

Go to Step 9

8

Repair the high resistance condition in circuit 439.

Refer to Wiring Repairs in Wiring Systems.

Is the repair complete?

--

Go to Step 11

--

9

Repair the high resistance condition in circuit 440.

Refer to Wiring Repairs in Wiring Systems.

Is the repair complete?

--

Go to Step 11

--

10

Replace the VCM.

Refer to:

    •  VCM Replacement/Programming (4.3L)
    •  VCM Replacement/Programming (5.7L)
    •  VCM Replacement/Programming (7.4L)

Is the replacement complete?

--

Go to Step 11

--

11

In order to verify your repair, perform the following procedure:

  1. Select DTC.
  2. Select Clear Info.
  3. Operate the vehicle under the following conditions:
  4. • Start the vehicle.
    • Warm the engine to normal operating temperature.
    • Ensure that the Scan Tool Ignition Voltage is 12-18 volts.
  5. Select Specific DTC. Enter DTC P0560.

Has the test run and passed?

--

System OK

Begin the diagnosis again. Go to Step 1

DTC P0560 System Voltage High/Low Diesel


Object Number: 202332  Size: MF
Automatic Transmission Components Diesel Engines
Automatic Transmission Controls Schematics Diesel Engines
OBD II Symbol Description Notice
Handling ESD Sensitive Parts Notice

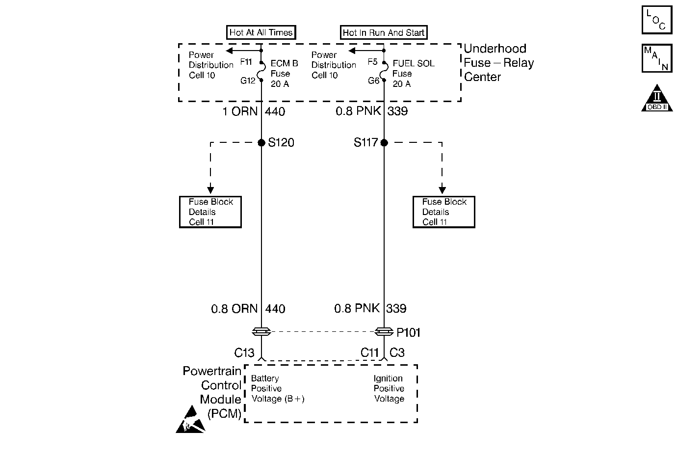
Circuit Description

Circuit 339 is the ignition voltage feed for the Powertrain Control Module (PCM). Circuit 440 is the battery feed for the PCM.

If the PCM detects either a low system voltage or a high system voltage for a short time, then DTC P0560 sets. DTC P0560 is a type D DTC.

Conditions for Setting the DTC

System Voltage Low

    • The engine speed is greater than 1500 RPM.
    • One of the following conditions exists for greater than 15 seconds:
       - The system voltage is less than 10.5 volts at a maximum transmission temperature of 152°C (305°F).
       - The system voltage is less than 6.7 volts at a minimum transmission temperature of -40°C (-40°F).

System Voltage High

System voltage is greater than 19 volts for 10 seconds.

Action Taken When the DTC Sets

    • The PCM does not illuminate the Malfunction Indicator Lamp (MIL).
    • The PCM commands an immediate landing to second gear.
    • The PCM turns off the PC Sol. Valve.
    • The PCM inhibits the TCC engagement.
    • The PCM freezes the shift adapts.
    • DTC P0560 is stored in PCM history.

Conditions for Clearing the DTC

    • A scan tool can clear the DTC from the PCM history. The PCM clears the DTC from the PCM history if the vehicle completes 40 warm-up cycles without a failure reported.
    • The PCM cancels the DTC default actions when the fault no longer exists and the ignition is OFF long enough in order to power down the PCM.

Diagnostic Aids

    • Charging the battery with a battery charger and jumpstarting an engine may set DTCs.
    • If this DTC is set when an accessory is operated, inspect for faulty connections or an excessive current draw.
    • Inspect for faulty electrical connections at the starter solenoid.
    • Inspect for faulty electrical connections at the fusible link.
    • Inspect for loose or damaged terminals at the generator.
    • Inspect the generator belt wear condition and tension.
    • First diagnose and clear any engine DTCs that are present. Then inspect for any transmission DTCs that may have reset.

Test Description

  1. This step tests the charging system voltage.

  2. This step tests the battery voltage input at the PCM.

  3. This step tests the ignition voltage inputs at the PCM.

P0560

Step

Action

Value(s)

Yes

No

1

Was the Powertrain On-Board Diagnostic (OBD) System Check performed?

--

Go to Step 2

Go to Powertrain On Board Diagnostic (OBD) System Check

2

  1. Install the Scan Tool .
  2. With the engine OFF, turn the ignition switch to the RUN position.
  3. Important: Before clearing the DTCs, use the scan tool in order to record the Failure Records for reference. Using the Clear Info function erases the stored Failure Records from the PCM.

  4. Record the DTC Failure Records, then clear the DTC.
  5. If any DTCs are present, refer to their applicable diagnostic tables before continuing.
  6. Using the J 39200 DMM, measure the battery voltage across the battery terminals.
  7. Record the battery voltage measurement for future reference.

Is the voltage higher than the specified value?

10.5 volts

Go to Step 3

Go to Charging System Check

3

  1. Start the engine.
  2. Allow the engine to warm to normal operating temperature.

Is the generator lamp ON?

--

Go to Charging System Check

Go to Step 4

4

  1. Increase the engine speed to greater than 1500 RPM.
  2. Observe the scan tool ignition voltage.

Is the ignition voltage within the specified range?

13-15 volts

Go to Step 5

Go to Charging System Check

5

  1. Turn the ignition switch OFF.
  2. Disconnect the C3 (blue-32) PCM connector (Additional DTCs will set).
  3. With the engine OFF, turn the ignition switch in the RUN position.
  4. Measure the battery voltage input at the PCM connector terminal C3-C13. Use the J 39200 DMM and the J 35616 Connector Test Adaptor Kit.

Is there a voltage variance between the voltage measured at the battery (taken in Step 2) and at terminal C3-C13 that is greater than the specified value?

0.5 volts

Go to Step 6

Go to Step 7

6

Repair the high resistance condition in circuit 440.

Refer to Wiring Repairs in Wiring Systems.

Did you repair the circuit?

--

Go to Step 11

--

7

Measure the ignition voltage input at PCM connector terminal C3-C11.

Is there a voltage variance between the voltage measured at the battery (taken in Step 2) and at terminal C3-C11 that is greater than the specified value?

0.5 volts

Go to Step 8

Go to Step 9

8

Repair the high resistance condition in circuit 339.

Refer to Wiring Repairs in Wiring Systems.

Did you repair the circuit?

--

Go to Step 11

--

9

  1. Inspect PCM connector terminal C3-C13 for damaged or backed out connector pins.
  2. Inspect PCM connector terminal C3-C11 for damaged or backed out connector pins.
  3. Inspect for weak terminal tension.

Did you find the condition?

--

Go to Step 11

Go to Step 10

10

Replace the PCM.

Refer to Powertrain Control Module Replacement/Programming .

Is the replacement complete?

--

Go to Step 11

--

11

In order to verify your repair, perform the following procedure:

  1. Select DTC.
  2. Select Clear Info.
  3. Operate the vehicle under the following conditions:
  4. • Start the vehicle.
    • Warm the vehicle to normal operating temperature.
    • Using the scan tool, verify that the PCM sees an ignition voltage between 8.3 and 16.5 volts.
  5. Select Specific DTC. Enter DTC P0560.

Has the test run and passed?

--

System OK

Begin the diagnosis again. Go to Step 1