GM Service Manual Online
For 1990-2009 cars only

Info - New Solenoid Testing Kit for Hydra-Matic Transmissions

Subject:New Solenoid Testing Kit From Kent Moore For All Hydra-Matic Transmissions (Tests 1-2, 2-3/3-4, 3-2, And TCC On/Off Solenoids)

Models:1999 and Prior GM Passenger Cars and Trucks with Electronic Automatic Transmissions



Bulletin Content

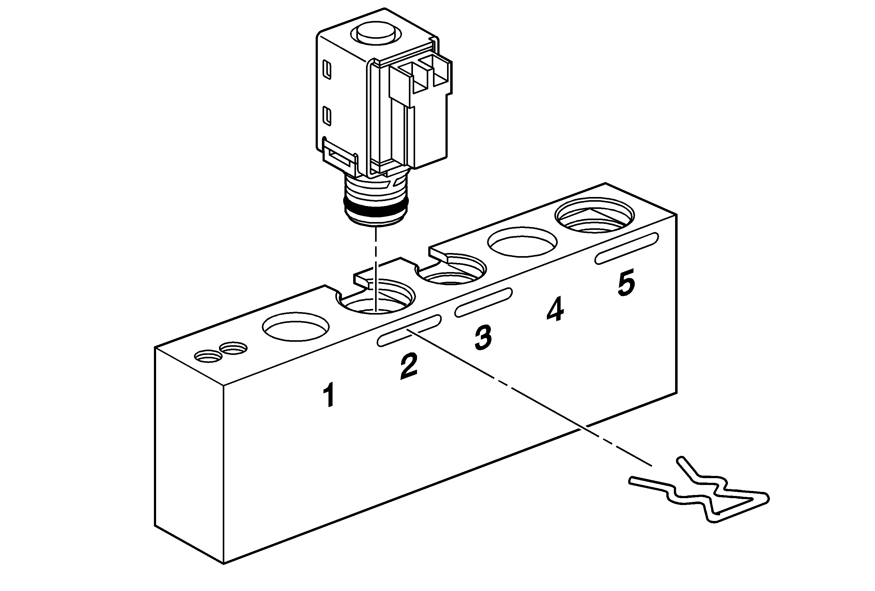
This bulletin contains information regarding a new service tool Solenoid Testing Kit J 44246 which is now available from Kent-Moore.


Object Number: 628825  Size: MF

This tool will provide a functional pneumatic check for solenoids listed in the following matrix. This tool provides a quick and effective method to functionally test solenoids for leaks which previously could not be identified. The corresponding number in the following application matrix indicates which bore in J 44246 houses that solenoid.

Application Matrix: Use test block bore number indicated below for each solenoid and transmission combination.

Solenoid Type

4L30-E

4L60-E

4L80-E

4T40/5-E

4T60-E

4T65-E

4T80-E

1-2

4

2

1

2

2

2

3

2-3/3-4

4

2

1

2

2

2

3

3-2

--

5

--

--

--

--

--

TCC On/Off

4

2

--

--

2

--

--

Leak Test Procedure

Visually inspect the physical condition of the solenoid before testing. Inspect the O-rings before and after the test to be sure that they are not cut or damaged.

  1. Remove the solenoid from the control valve body. Refer to the Service Manual for the proper procedure.

  2. Object Number: 628827  Size: MF

    Important: For 4L30-E solenoids, use the retainer supplied with the J 44246. This retainer clip is used to retain solenoids in bore four of the J 44246. The legs of this clip are installed through the retainer slots of bores three and five.


    Object Number: 628826  Size: MF
  3. Referencing the matrix, install the solenoid into the correct bore of the J 44246 and install the factory retainer clip or bolt to retain the solenoid.

  4. Object Number: 628828  Size: MF

    Important: The supplied solenoid testing harness will not power the 4L60-E TCC On/Off solenoid. To energize this solenoid, apply battery (12 V) positive and negative (-) to the TCC On/Off solenoid wiring harness using Connector Test Adapter Kit J 35616. Use terminal E (Red, Power) and terminal T (Black, Ground). Refer to the Automatic Transmission Inline Harness Connector End View.

  5. Connect the solenoid testing harness supplied with the J 44246 to the solenoid.
  6. Apply compressed air to the J 44246. Do not use air pressure in excess of 120 psi (827 kPa). Excessive pressure will not allow the check ball to seat properly. Recommended air pressure is 50 psi (345 kPa).
  7. Connect the solenoid testing harness to the (12 volt) positive and negative (-) battery terminals.
  8. Observe if the solenoid is operating electrically, an audible clicking noise can be heard when connecting or disconnecting power.
  9. All solenoids need to be energized to seal. Observe the air flow through the solenoid, the flow will completely or nearly completely stop. Replace the solenoid if there continues to be an obvious air leak when the solenoid is energized. It is important to note that a small amount of leakage is normal (+/- 3 psi)(+/- 21 kPa).

Warranty Information

Labor Code: Refer to the Labor Time Guide for the correct labor operation. Please use the closest available labor operation for the solenoid replaced.