GM Service Manual Online
For 1990-2009 cars only
Makes
🢒
Chevrolet
🢒
1999
🢒
Express
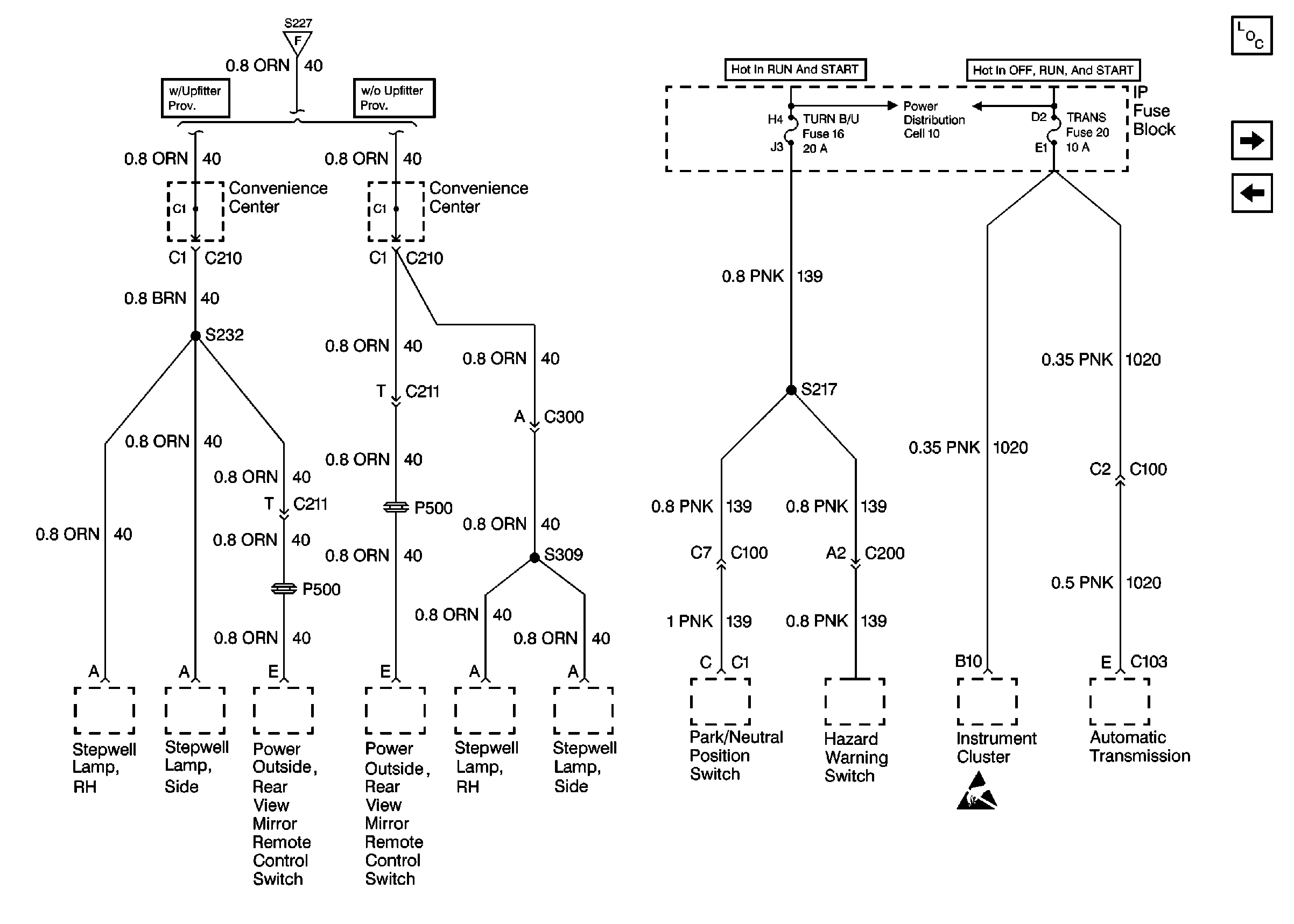
🢒 Cell 11: TURN B/U and TRANS Fuses
Cell 11: TURN B/U and TRANS Fuses
Cell 11: TURN B/U and TRANS Fuses
Power and Grounding Components
Cell 11: PWR ACCY Fuse
Cell 11: CTSY and AIR BAGS Fuses
Handling ESD Sensitive Parts Notice
Power Distribution Schematics Domestic