GM Service Manual Online
For 1990-2009 cars only

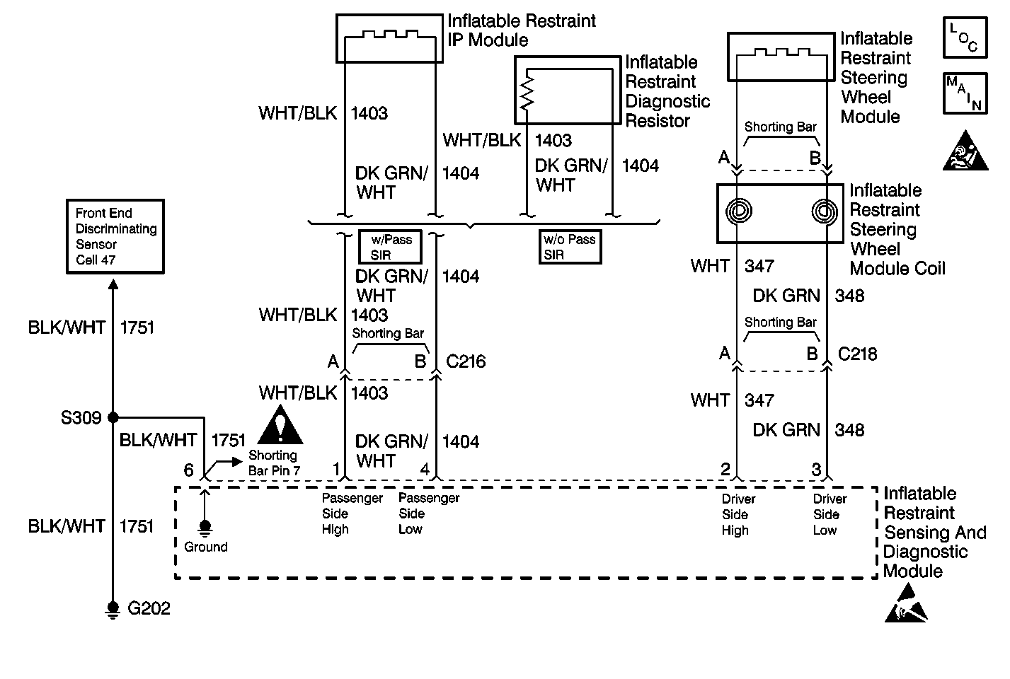
Object Number: 400824  Size: MF
SIR Components
SIR Schematic Icons
SIR Caution
Handling ESD Sensitive Parts Notice
SIR Caution

Circuit Description

When you first turn the ignition switch to the RUN position, the inflatable restraint sensing and diagnostic module (SDM) performs tests to diagnose critical malfunctions within the SDM. Next the SDM measures the following circuits to ensure that they are within their respective normal voltage ranges:

    • IGNITION 1
    • Deployment loop voltages

Then the SDM proceeds with the RESISTANCE MEASUREMENT test. During one portion of the RESISTANCE MEASUREMENT test, the SDM does the following:

    • Grounds the DRIVER SIDE LOW terminal 3 through an internal current sink
    • Connects the DRIVER SIDE HIGH terminal 2 to an internal constant current source, this current produces proportional voltage drops in the deployment loop.
    • Measures the voltage difference between DRIVER SIDE HIGH and DRIVER SIDE LOW
    • Calculates the resistance of the driver deployment loop using the measured voltage

Conditions for Setting the DTC

    • The driver and passenger deployment loops are not open.
    • The driver and passenger deployment loops are not shorted to voltage.
    • The driver deployment loop is not shorted to ground.
    • The driver deployment loop resistance is less than 1.7 ohm. The driver deployment loop consists of the following circuits:
       - The inflatable restraint steering wheel module
       - The inflatable restraint steering wheel module coil
       - The harness wiring of CKT 347
       - The harness wiring of CKT 348
       - The connector terminal contact

The RESISTANCE MEASUREMENT test checks for this malfunction. This test only occurs once each ignition cycle when IGNITION 1 is within the normal operating voltage range.

Action Taken When the DTC Sets

    • The SDM sets a diagnostic trouble code.
    • The SDM turns ON the AIR BAG warning lamp.

Conditions for Clearing the DTC

    • Current DTC--The resistance of the driver deployment loop is more than 1.7 ohm and the ignition switch is cycled.
    • History DTC
       - You issue a scan tool CLEAR CODES command.
       - After 250 malfunction free ignition cycles have occurred

When you issue a scan tool CLEAR CODES command and the malfunction is still present, the DTC will not reappear until the next ignition cycle.

Diagnostic Aids

The following may cause an intermittent condition:

    • A short circuit between CKT 347 and CKT 348
    • A short circuit between CKT 347 and CKT 1403
    • A short circuit between CKT 347 and CKT 1404
    • A malfunctioning shorting bar on the inflatable restraint steering wheel module connector
    • A malfunctioning shorting bar on the inflatable restraint steering wheel module coil steering column connector

The diagnostic table directs the technician to note the entry value of DRIVER RESISTANCE. Comparing the value of DRIVER RESISTANCE over multiple ignition cycles may be helpful in determining if an intermittent condition exists.

When measurements are requested in this table, use the J 39200 DMM with the correct terminal adapter from the J 35616 Connector Test Adapter Kit. When an inspection for proper connection is requested, refer to Testing for Electrical Intermittents in Wiring Systems. When a wire, connector or terminal repair is requested, use the J-38125 Terminal Repair Kit and refer to Wiring Repairs in Wiring Systems.

Test Description

The numbers below refer to the step numbers on the diagnostic table:

  1. This test determines the deployment loop resistance measured by the inflatable restraint sensing and diagnostic module (SDM).

  2. This test determines whether the malfunction is due to the inflatable restraint steering wheel module or the module coil.

  3. This test inspects for a short from CKT 347 to CKT 348.

  4. This test inspects for a short from CKT 347 to CKT 1404.

DTC B1022 Driver Deployment Loop Resistance Low

Step

Action

Value(s)

Yes

No

1

Was the SIR Diagnostic System Check performed?

--

Go to Step 2

Go to SIR Diagnostic System Check

2

  1. Turn the ignition switch to the OFF position.
  2. Connect the Scan Tool to the DLC.
  3. Turn the ignition switch to the RUN position.
  4. Request the SIR data list display.
  5. Read and record on the repair order the driver deployment loop resistance DRIVER RESISTANCE.
  6. Request the SIR DTC display.

Is DTC B1016 also present?

--

Go to Step 3

Go to Step 4

3

  1. Turn the ignition switch to the OFF position.
  2. Disconnect the inflatable restraint steering wheel and IP module yellow 2-way connectors at the base of the steering column and behind the passenger knee bolster.
  3. Repair the short from CKT 347 to CKT 1403.

Is the repair complete?

--

Go to Step 14

--

4

  1. Turn the ignition switch to the OFF position.
  2. Disconnect the inflatable restraint steering wheel module yellow 2-way connector at the base of the steering column.
  3. Reconnect the 2-way connector.
  4. Inspect that the CPA is properly installed.
  5. Turn the ignition switch to the RUN position.
  6. Using a Scan Tool , request the SIR data list display.
  7. Read the driver deployment loop resistance DRIVER RESISTANCE.

Is DRIVER RESISTANCE less than the specified value?

1.7 ohms

Go to Step 6

Go to Step 5

5

  1. Turn the ignition switch to the OFF position.
  2. Replace the yellow 2-way harness connector at the base of the steering column. Refer to Wiring Repair .

Is the repair complete?

--

Go to Step 14

--

6

  1. Turn the ignition switch to the OFF position.
  2. Disconnect the inflatable restraint steering wheel and IP module yellow 2-way connectors at the base of the steering column and behind the passenger knee bolster.
  3. Connect the J 38715-A SIR Driver/Passenger Load Tool to the harness connectors.
  4. Turn the ignition switch to the RUN position.
  5. Using the Scan Tool , request the SIR data list display.
  6. Read the driver deployment loop resistance DRIVER RESISTANCE.

Is DRIVER RESISTANCE less than the specified value?

1.7 ohms

Go to Step 10

Go to Step 7

7

  1. Turn the ignition switch to the OFF position.
  2. Remove the inflatable restraint steering wheel module. Refer to Inflatable Restraint Steering Wheel Module Replacement .
  3. Disconnect the J 38715-A SIR Driver/Passenger Load Tool from the driver 2-way harness connector.
  4. Connect the driver 2-way connector at the base of the steering column.
  5. Connect the J 38715-A SIR Driver/Passenger Load Tool to the upper inflatable restraint steering wheel module coil connector on the steering column.
  6. Turn the ignition switch to the RUN position.
  7. Using the Scan Tool , request the SIR data list display.
  8. Read the driver deployment loop resistance DRIVER RESISTANCE.

Is DRIVER RESISTANCE less than the specified value?

1.7 ohms

Go to Step 9

Go to Step 8

8

  1. Turn the ignition switch to the OFF position.
  2. Replace the inflatable restraint steering wheel module. Refer to Inflatable Restraint Steering Wheel Module Replacement .

Is the repair complete?

--

Go to Step 14

--

9

  1. Turn the ignition switch to the OFF position.
  2. Replace the inflatable restraint steering wheel module coil. Refer to Inflatable Restraint Steering Wheel Module Coil Replacement .

Is the repair complete?

--

Go to Step 14

--

10

  1. Turn the ignition switch to the OFF position.
  2. Disconnect the inflatable restraint sensing and diagnostic module (SDM). Refer to Inflatable Restraint Sensing and Diagnostic Module Replacement .
  3. Disconnect the J 38715-A SIR Driver/Passenger Load Tool.
  4. Measure the resistance from the SDM harness connector terminal 2 to terminal 3.

Is the resistance reading less than the specified value?

OL

Go to Step 11

Go to Step 12

11

Repair a short from CKT 347 to CKT 348.

Is the repair complete?

--

Go to Step 14

--

12

Measure the resistance from the SDM harness connector terminal 2 to terminal 4.

Is the resistance reading less than the specified value?

OL

Go to Step 13

Go to Sensing and Diagnostic Module Integrity Check

13

Repair a short from CKT 347 to CKT 1404.

Is the repair complete?

--

Go to Step 14

--

14

  1. Reconnect all the SIR system components.
  2. Ensure that all of the components are properly mounted.

Have all the SIR components been reconnected and properly mounted?

--

Go to Step 15

--

15

Clear all the SIR DTCs.

Have all the SIR DTCs been cleared?

--

Go to SIR Diagnostic System Check

--