GM Service Manual Online
For 1990-2009 cars only
Figure 1:

Engine View


Object Number: 209389  Size: MF
(1)ECT Sensor
(2)ITS Motor
(3)Boost Sensor
(4)IAT Sensor
(5)Wastegate Solenoid
(6)Glow Plug Relay
Figure 2:

Underhood Fuse Relay Center


Object Number: 209406  Size: MF
(1)Underhood Fuse Relay Center
(2)Front Fender
(3)Engine/Passenger Compartment Divider (Cowl)
Figure 3:

Glow Plug Controller (Federal)


Object Number: 395118  Size: MF
(1)Glow Plug Relay (Federal)
Figure 4:

Glow Plugs


Object Number: 192951  Size: MF
(1)Glow Plugs
(2)Cylinder Head
Figure 5:

Injection Nozzles


Object Number: 192965  Size: MF
(1)Cylinder Head
(2)Injection Nozzles
(3)Seal
Figure 6:

Oil Pressure Switch (OPS)


Object Number: 192947  Size: LF
(1)Oil Pressure Switch (OPS)
(2)Engine Block
Figure 7:

CDR Valve


Object Number: 209398  Size: MF
(1)CDR Valve Grommet
(2)Rocker Cover
(3)CDR Valve
Figure 8:

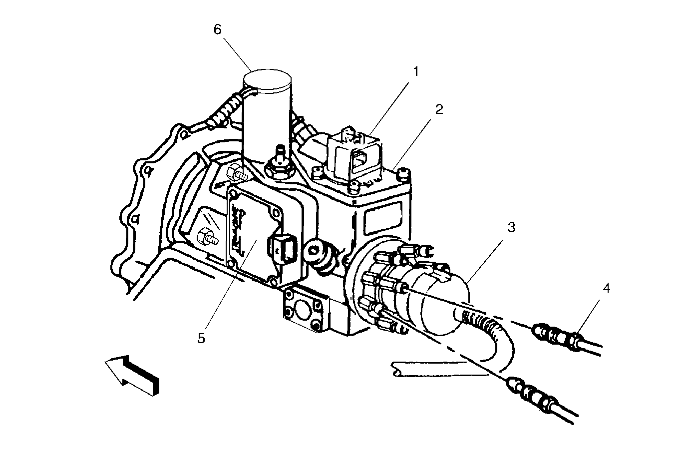
Fuel Injection Pump and Lines


Object Number: 192955  Size: MF
(1)Optical/Fuel Temperature Sensor
(2)Fuel Injection Pump
(3)Fuel Solenoid
(4)Injection Lines
(5)Fuel Solenoid Driver
(6)Engine Shut Off (ESO) Solenoid
Figure 9:

ECT Sensor, ITS Motor, and Optical/Fuel Temperature Sensor


Object Number: 192956  Size: LF
(1)ECT Sensor
(2)Fuel Injection Pump
(3)Ignition Timing Stepper (ITS) Motor
(4)Fuel Solenoid
(5)Optical/Fuel Temperature Sensor
Figure 10:

Crankshaft Position (CKP) Sensor


Object Number: 192948  Size: SF
(1)Front Engine Cover
(2)Crankshaft Position (CKP) Sensor
(3)Mounting Bolt
Figure 11:

Air Cleaner


Object Number: 209411  Size: MF
(1)Air Intake Duct
(2)Intake Manifold
(3)Air Cleaner (Element Inside)
(4)CDR Valve
Figure 12:

Powertrain Control Module (PCM)


Object Number: 209401  Size: LF
(1)Engine/Passenger Compartment Divider (Cowl)
(2)HVAC Assembly
(3)Engine Wiring Harness
(4)Powertrain Control Module (PCM)
(5)I/P Harness
Figure 13:

APP Module


Object Number: 192941  Size: SF
(1)APP Module
(2)Accelerator Pedal
(3)Brake Pedal
Figure 14:

Fuel Lift Pump


Object Number: 193110  Size: SF
(1)Fuel Lift Pump
(2)Frame Rail
Figure 15:

Fuel Filter/Manager


Object Number: 209408  Size: LF
(1)Bolt
(2)Frame Cross-member
(3)Water In Fuel Sensor
(4)Fuel Filter/Manager (Filter Inside)
(5)Fuel Heater
(6)Mounting Bracket
Figure 16:

Fuel Tank and Sender


Object Number: 192975  Size: MF
(1)Frame Rail
(2)Fuel Lines
(3)Ground
(4)Fuel Tank (Typical)
(5)Fuel Sender
Figure 17:

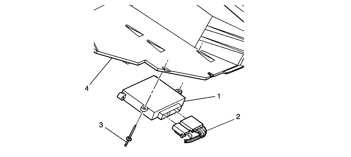
VSS Buffer Module


Object Number: 193112  Size: SF
(1)VSS Buffer Module
(2)Harness Connector
(3)Fastener
(4)Above the Accelerator Pedal