GM Service Manual Online
For 1990-2009 cars only

    Object Number: 276364  Size: SH
  1. Install the splash shield.

  2. Object Number: 413867  Size: SH
  3. Ensure the splash shield (2) snap fits between the cylinder heads (1).

  4. Object Number: 351757  Size: SH
  5. Install the new lower intake manifold seals.

  6. Object Number: 351760  Size: SH
  7. Install the new lower intake manifold gaskets onto the cylinder heads.

  8. Object Number: 351762  Size: SH
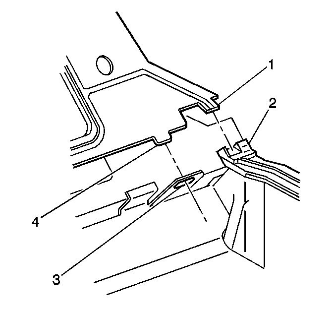
  9. Ensure the lower intake manifold gasket tabs (4) align with the hole in the head gasket (3).
  10. Ensure the lower intake manifold gasket tabs (1) align with the slot in the lower intake manifold seals (2).

  11. Object Number: 351763  Size: SH
  12. Install the lower intake manifold onto the engine block.
  13. Apply sealer GM P/N 12345382 or equivalent to a minimum of eight threads of the lower intake manifold bolts.

  14. Object Number: 67780  Size: SH

    Notice: Use the correct fastener in the correct location. Replacement fasteners must be the correct part number for that application. Fasteners requiring replacement or fasteners requiring the use of thread locking compound or sealant are identified in the service procedure. Do not use paints, lubricants, or corrosion inhibitors on fasteners or fastener joint surfaces unless specified. These coatings affect fastener torque and joint clamping force and may damage the fastener. Use the correct tightening sequence and specifications when installing fasteners in order to avoid damage to parts and systems.

  15. Install the lower intake manifold bolts.
  16. Tighten

    1. Tighten the lower intake manifold bolts (1-8) a first pass in sequence to 30 N·m (22 lb ft).
    2. Tighten the lower intake manifold bolts (1-8) a final pass in sequence to 40 N·m (30 lb ft).

    Object Number: 276369  Size: SH

    Important: Lubricate the injector O-ring seals with clean engine oil and install onto the spray tip end of each injector.

  17. Install the fuel rail assembly into the intake manifold. Tilt the rail assembly to install the injectors.

  18. Object Number: 276370  Size: SH
  19. Install the fuel rail bolts and stud.
  20. Tighten

        • Tighten the fuel rail bolts to 10 N·m (89 lb in).
        • Tighten the fuel rail stud to 25 N·m (18 lb ft).

    Object Number: 501422  Size: SH
  21. Connect the fuel injector regulator vacuum hose connection to the intake manifold fitting.

  22. Object Number: 351764  Size: SH
  23. Install the new upper intake manifold gaskets.

  24. Object Number: 351766  Size: SH
  25. Ensure the locating tabs on the gasket fit into the lower intake manifold counterbores.

  26. Object Number: 351769  Size: SH
  27. Install the upper intake manifold.
  28. Apply sealer GM P/N 12345493 or equivalent to a minimum of eight threads of the upper intake manifold bolts.

  29. Object Number: 67778  Size: SH
  30. Install the upper intake manifold bolts.
  31. Tighten

    1. Tighten the upper intake manifold bolts (1-8) a first pass in sequence to 8 N·m (71 lb in).
    2. Tighten the upper intake manifold bolts (1-8) a final pass in sequence to 18 N·m (13 lb ft).