GM Service Manual Online
For 1990-2009 cars only

Valve Guide Reaming Procedure


    Object Number: 4956  Size: SH
  1. Ream the valve guide as necessary to achieve proper valve stem-to-guide clearance.
  2. 1.1. Ream the valve guide oversize to accept a valve guide sleeve.
    1.2. Insert the valve guide sleeve into the guide bore.
    1.3. Ream the sleeve to achieve proper valve stem-to-guide clearance.
  3. Always recondition the valve seat after reaming the valve guide bores or installing new valves.
  4. Replace the cylinder head if the valve guide cannot be repaired.

Valve Reconditioning Procedure

  1. Replace the valve if the valve stem shows excessive wear or is warped.
  2. Important: Several different types of equipment are available for reconditioning valves. Use the manufacturers recommendations of equipment to attain the proper results.

  3. Reface pitted valves on a valve refacing machine in order to insure the correct relationship between the head and the stem.

  4. Object Number: 57502  Size: SH
  5. Replace the valve if the edge of the head is less than 0.79 mm (0.031 in) thick after grinding.

Valve Seat Reconditioning Procedure

    Important: Several different types of equipment are available for reconditioning valves. Use the manufacturers recommendations of equipment to attain the proper results.

    Important: Always recondition the valve seat after reaming the valve guide bores or installing new valves.

  1. Reconditioning of the valve seats:
  2. The valves must seat perfectly for the engine to deliver optimum power, performance and emission control.
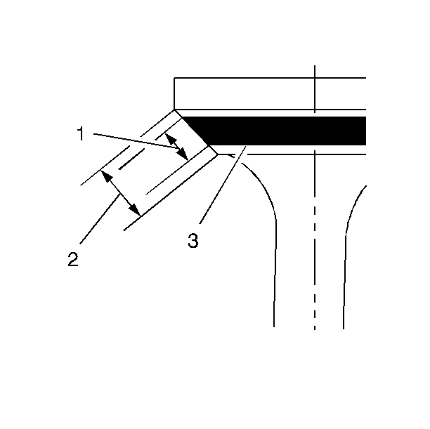
  3. Ensure that the valve seat and valve are not shrouded (1) after valve seat reconditioning. Adequate flow past the valve seat and valve is essential for cooling the valve head and valve seat area.

  4. Object Number: 53234  Size: SH
  5. Correct contact (1) between each valve and its seat in the cylinder head is also essential to ensure that the heat in the valve head is properly carried away.
  6. Important: Regardless of what type of equipment is used, it is essential that the valve guide bores are free from carbon or dirt to ensure the proper centering of the pilot in the guide.

  7. The valve seats should be concentric to within 0.05 mm (0.002 in) total indicator runout.