GM Service Manual Online
For 1990-2009 cars only

Removal Procedure

  1. Raise the vehicle. Refer to Lifting and Jacking the Vehicle in General Information.
  2. Position a suitable container to catch the engine oil.
  3. Remove the oil filter.
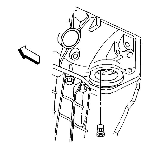
  4. Remove the oil filter adapter. Refer to Oil Filter Adapter Replacement .

  5. Object Number: 519269  Size: SH
  6. Using a suitable prying tool remove the oil filter bypass valve.
  7. Clean and inspect valve bore for damage.

Installation Procedure


    Object Number: 519270  Size: SH

    Caution: Wear safety glasses in order to avoid eye damage.

  1. Install a NEW oil filter bypass valve using the following procedure:
  2. 1.1. Use a brass drift that is the same diameter as the outside diameter of the oil filter bypass valve.
    1.2. Install the oil filter bypass valve into the oil gallery bore until slightly below flush with the surface of the engine block.
    1.3. Using a pointed punch, stake the engine block area around the oil filter bypass valve.

    Stake in 3 locations 120 degrees apart.

  3. Install the oil filter adapter. Refer to Oil Filter Adapter Replacement .
  4. Install the oil filter. Refer to Engine Oil and Oil Filter Replacement .
  5. Lower the vehicle.