GM Service Manual Online
For 1990-2009 cars only
Makes
🢒
Chevrolet
🢒
2000
🢒
Express
🢒
Engine
🢒
Engine Controls - 4.3L
🢒 Emission Hose Routing Diagram
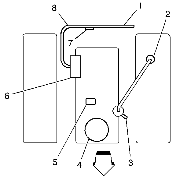
Emission Hose Routing Diagram
(1)
To EVAP Canister Located at Rear
(2)
Positive Crankcase Ventilation Valve (PCV)
(3)
To HVAC (if equipped)
(4)
Throttle Body
(5)
Manifold Absolute Pressure (MAP) Sensor
(6)
EVAP Canister Purge Solenoid
(7)
EVAP Service Port
(8)
EVAP Canister Purge Hose