GM Service Manual Online
For 1990-2009 cars only

Rear Axle Hub, Bearing, Cup, and/or Seal Replacement 10.5 Inch Axle

Tools Required

    • J 8092 Universal Driver Handle ¾ in-10
    •  J 2222-C Wheel Bearing Nut Wrench
    • J 24426 Wheel Bearing Race Installer-Outer
    • J 24427 Wheel Bearing Race Installer -Inner
    • J 44419 Hub Outer Bearing Race Installer
    • J 24428 Axle Shaft Seal Installer
    • J 24428-A Axle Shaft Seal Installer

Removal Procedure

  1. Raise the vehicle. Refer to Lifting and Jacking the Vehicle .
  2. Remove the tire and wheel assembly. Refer to Tire and Wheel Removal and Installation .
  3. Remove the brake drum. Refer to Brake Drum Replacement .
  4. Remove the axle shaft. Refer to Rear Axle Shaft and/or Gasket Replacement .

  5. Object Number: 685935  Size: SH
  6. Remove the axle nut retaining ring.

  7. Object Number: 685937  Size: SH
  8. Remove the key.

  9. Object Number: 685938  Size: SH
  10. Remove the adjusting nut using the J 2222-C .

  11. Object Number: 685939  Size: SH
  12. Remove the adjusting nut.
  13. Remove the hub from the axle housing.
  14. Remove the oil seal from the wheel hub.

  15. Object Number: 666251  Size: SH
  16. Remove the inner hub bearing.
  17. Remove the inner hub bearing cup using a brass drift and a hammer.

  18. Object Number: 666208  Size: SH
  19. Remove the retaining ring from the wheel hub.

  20. Object Number: 695766  Size: SH
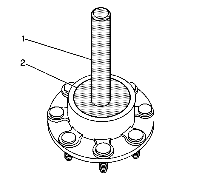
  21. Remove the outer hub bearing and bearing cup using the J 24426  (2) and the J 8092  (1).

Installation Procedure

  1. Lubricate the following with a light coat of high melting point EP bearing lubricant:
  2. • The outer wheel bearing
    • The inner wheel bearing
    • The outer wheel bearing cup
    • The inner wheel bearing cup
    • The axle housing

    Object Number: 666187  Size: SH
  3. Install the outer bearing into the wheel hub.

  4. Object Number: 666199  Size: SH
  5. Install the outer bearing cup into the wheel hub.

  6. Object Number: 666203  Size: SH
  7. Drive the bearing cup into the wheel hub using the J 44419  (2) and the J 8092  (1).

  8. Object Number: 666208  Size: SH
  9. Install the retaining ring into the groove. Make sure the retaining ring is fully and evenly seated in the groove.

  10. Object Number: 666217  Size: SH
  11. Install the inner bearing cup.

  12. Object Number: 666250  Size: SH
  13. Drive the inner bearing cup into the wheel hub using the J 24427  (2) and the J 8092  (1).

  14. Object Number: 666251  Size: SH
  15. Install the inner bearing.

  16. Object Number: 1872521  Size: SH

    Important: Each time you replace the wheel hub bearings, install a new oil seal in order to prevent the wheel hub from leaking.

  17. Install the new oil seal using the J 24428 or J 24428-A .
  18. Install the wheel hub to the axle housing.

  19. Object Number: 685938  Size: SH
  20. Install the adjusting nut to the hub using the J 2222-C .
  21. Adjust the wheel bearings. Refer to Wheel Bearing Adjustment .
  22. Install the axle shaft. Refer to Rear Axle Shaft and/or Gasket Replacement .
  23. Install the brake drum. Refer to Brake Drum Replacement .
  24. Install the tire and wheel assembly. Refer to Tire and Wheel Removal and Installation .
  25. Inspect and add axle lubricant to the axle housing, if necessary. Refer to Lubricant Level Check .
  26. Lower the vehicle.