GM Service Manual Online
For 1990-2009 cars only
Figure 1:

Bulkhead Connector Components


Object Number: 583163  Size: LF
(1)Underhood Fuse Relay Center
(2)Vehicle Control Module (VCM)
Figure 2:

In-Line Fuse, LH Body Harness, Trailer Wiring


Object Number: 583693  Size: MF
(1)Inline Fuse
Figure 3:

IP Fuse Block


Object Number: 583176  Size: MF
(1)IP Fuse Block
Figure 4:

Cigarette Lighter


Object Number: 656643  Size: MF
(1)Cigarette Lighter
(2)Cigarette Lighter Connector
Figure 5:

Convenience Center


Object Number: 583187  Size: MF
(1)Convenience Center
Figure 6:

Upfitter Provision Relay


Object Number: 583192  Size: MF
(1)Upfitter Provision Relay
Figure 7:

Forward Lamp Wiring


Object Number: 583107  Size: MF
(1)G109
(2)C111
(3)C102
(4)G108
Figure 8:

Battery Wiring (Gasoline)


Object Number: 583109  Size: MF
(1)G100
Figure 9:

Battery Wiring (Diesel)


Object Number: 583113  Size: MF
(1)G110
Figure 10:

G300


Object Number: 583116  Size: MF
(1)G300
Figure 11:

Forward Lamp Wiring, Horns


Object Number: 583118  Size: MF
(1)G108
(2)C102
(3)C111
(4)R100
Figure 12:

Engine to Frame Ground Cable


Object Number: 583127  Size: MF
(1)G105
(1)G105
(1)G105
Figure 13:

G104


Object Number: 583130  Size: MF
(1)G104
Figure 14:

P/B Booster System Wiring


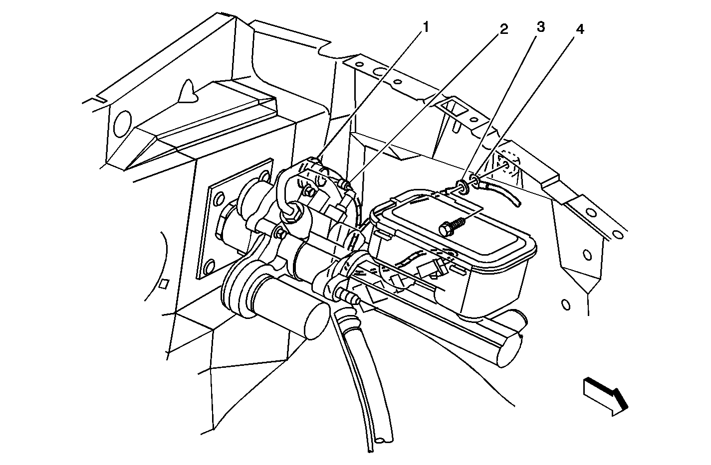
Object Number: 583135  Size: MF
(1)P103
(2)C113
(3)G112
(4)G108
Figure 15:

4.3L Engine Harness, Right Side


Object Number: 583137  Size: MF
(1)C110
(2)G103
Figure 16:

7.4L Engine Harness, Right Side


Object Number: 583142  Size: LF
(1)G102
(2)G101
Figure 17:

7.4L Engine Harness, Rear


Object Number: 583146  Size: LF
(1)C110
(2)C112
(3)G103
Figure 18:

G101 (6.5L)


Object Number: 583150  Size: LF
(1)G101
Figure 19:

6.5L Engine Harness, Left Side


Object Number: 583154  Size: MF
(1)C118
(2)C117
(3)C101
(4)C107
(5)C106
(6)G102
(7)G103
Figure 20:

IP Fuse Block Wiring


Object Number: 583181  Size: MF
(1)P103
(2)C100
(3)G202
(4)G201
Figure 21:

Front Crossbody Wiring (Left)


Object Number: 583189  Size: MF
(1)G200
(2)Power Door Lock Control Module
(3)C211
Figure 22:

Left Body Wiring


Object Number: 583637  Size: MF
(1)G400
(2)C404
(3)C411
(4)C408
(5)C407
(6)C406
(7)C402
(8)G401
(9)C401
(10)G402
Figure 23:

G106


Object Number: 583647  Size: MF
(1)G106
Figure 24:

Bulkhead Connector Components


Object Number: 656643  Size: MF
(1)Auxiliary Power Outlet
(2)Auxiliary Power Outlet Connector
Figure 25:

Front Crossbody Wiring (Left)


Object Number: 583189  Size: MF
(1)G200
(2)Power Door Lock Control Module
(3)C211